Вернуться на главную
Поиск
Каталоги запчастей к технике
Спецтехника
ТВЭКС
ЕТ-18-20
Гидрооборудование на ходовой раме
Каталог запасных частей к технике: ТВЭКС ЕТ-18-20. Гидрооборудование на ходовой раме
zoom-in
zoom-out
enlarge
shrink
circle-right
circle-left
file-text2
info
cart
Тип техники
Не выбрано
Легковые автомобили
Грузовые автомобили и прицепы
Автобусы
Сельхозтехника
Спецтехника
Двигатели
Мототехника
Марка
Не выбрано
Ammann
BOMAG
CARMIX
CASE IH
Changlin
ChengGong
Dimex
Doosan
DYNAPAC
Foton
HAMM
Hidromek
Hitachi
Hyundai
JCB
JLG
John Deere
Komatsu
LIEBHERR
LiuGong
Lonking (LongGong)
Luneng
MANITOU
Mitsuber
New Holland
PENGPU
RM-Terex
SANY
SDLG
SEM
Shantui
Shehwa HBXG
Soosan
TIGARBO
VOGELE
Volvo
WAY
WIRTGEN
XCMG
XGMA
Xiamen
YTO
Yuchai
Zoomlion
Автокран
АЗСМ
Алтайлесмаш
Амкодор
АОМЗ
Атек
АТЗ
Балканкар Рекорд
БелАЗ
Беловеж
Борекс
Брянский Арсенал
Булат
ВЭКС
ГАЗ
Геомаш
Гидромаш
Донекс
Дормаш
Дормашина
Дорэлектромаш
ДЭЗ
ЕлАЗ
ЗЗГТ
Ижнефтемаш
Канаш-электрокар
КЗКТ
ККЗ
Клевер
Клинцовский автокрановый завод
КМЗ
КМЗ 1 Мая
Ковровец
Коммаш
Кранэкс
КЭЗ
КЭМЗ
ЛЗА
МАЗ
МЗИК
МЗКМ
МЗКТ
Михневский РМЗ
МоАЗ
Мозырский МЗ
МТЗ
ОЗП
Онежец
ПАО "ТЗА"
ППС Детва
Промтрактор
ПТЗ
Раскат
СпецАгрегат
ТВЭКС
ТТМ
УВЗ
Угличмаш
УЗТМ
ХТЗ
ЧЗКМ
ЧСДМ
ЧТЗ
ЭКСКО
ЭКСМАШ
ЮрМаш
Модель
Не выбрано
5846ТМ (ЕА17) (2010)
E145W (ЕК-14)
E145W (ЕК-14) (2005)
E185W (ЕК-18)
E185W (ЕК-18) (2005)
E185W (ЕК-18) (2008)
E225LC (2022)
E225NLC (2022)
TLB 825 (2016)
TLB 825 (2017)
TLB 825 (2019)
TLB 935 (2020)
TLB 935 (2021)
TVEX-140W (2015)
TVEX-180i (2015)
TVEX-180W (2015)
TX220LC (2019)
TX220NLC (2019)
WX200 (2019)
WХ-200 (2015)
WХ-200 (2017) (2017)
ВП-03 (2005)
ВП-05
ВП-05 (2015)
ВП-05 (2005) (2005)
ВП-05 (вариант) (2005)
Е200СН (2018)
Е245СН (2018)
ЕК-12 (2005)
ЕК-12 (2007) (2007)
ЕК-12 (2013) (2013)
ЕК-14-20 (2013)
ЕК-14-90 (2011)
ЕК-14-90 (2015)
ЕК-18-20 (2010)
ЕК-18-40 (2005)
ЕК-18-45-60 (2008)
ЕК-18-90 (2012)
ЕК-18-90 (2015)
ЕК-20-20 (2010)
ЕТ-16 (2005)
ЕТ-16-20 (2007)
ЕТ-18-20 (2005)
ЕТ-20-20 (2012)
ЕТ-25
ЕТ-25-20 (2007)
ЕТ-26i (2010)
ЕТ-26i (2015)
ТХ-210 (2015)
ТХ-210 (2017)
ТХ-220 (2017)
ТХ-270 / 300 (2017)
ТЭП-18 (2012)
ЭО-3122
ЭО-3323
ЭО-3323А (2002)
ЭО-3326 (2000)
ЭОВ-3521 (2007)
ЭОВ-3521М-1 (2007)
ЭОВ-3521М-1 (2017)
ЭОВ-3521М-1 (2017)
Схема
>
Не выбрано
Кабина
Кабина
Установка люка
Рамка верхняя
Дверь
Установка замков
Сиденье
Установка отопителя
Установка подогревателя и отопитля
Установка подогревателя и отопитля
Установка зеркала заднего вида
Платформа поворотная с механизмом
Установка силовая
установка силовая
Установка насоса
Установка подогревателя
Установка подогревателя
Управление двигателем
Установка воздухоочистителя
Управление двигателем
Установка глушителя
Установка глушителя
Установка радиаторов
Установка радиаторов
Привод хода
Гидроцилиндр
Тележка гусеничная
Механизм натяжения гусеничной цепи
Колесо направляющее
Каток опорный
Управление экскаватором
Управление экскаватором
Управление экскаватором
Механизм поворота
Пульт правый 225-10-86.91.200-50
Пульт правый 225-10-86.91.200-30
Пульт левый 312-20-86.90.200-30
Пульт левый 312-20-86.90.200-80
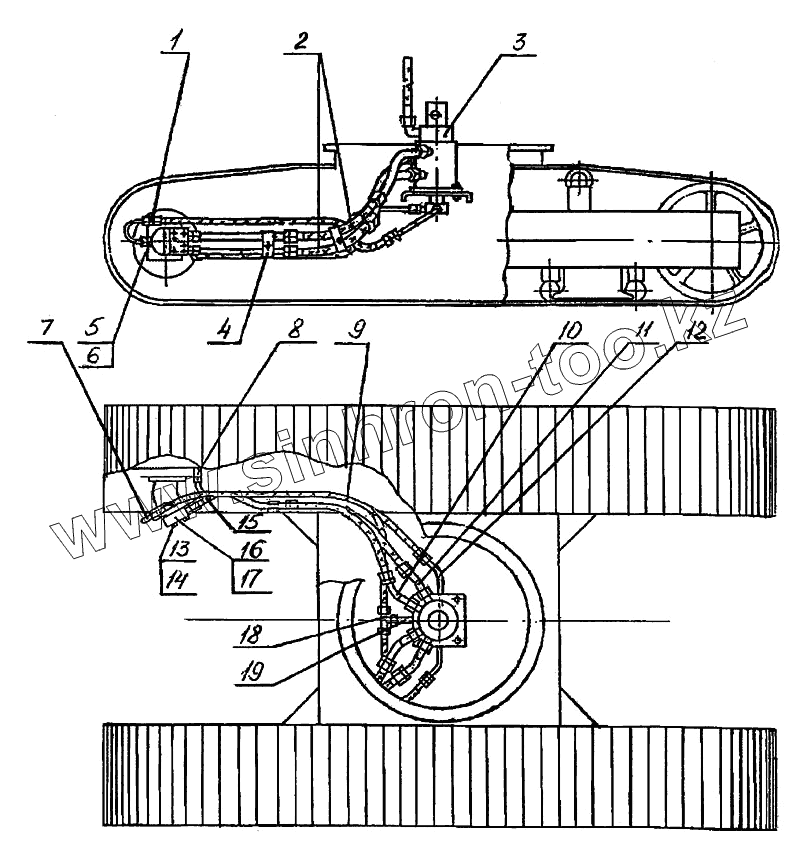
Гидрооборудование на ходовой раме
Гидроуправление на поворотной платформе (монтажная схема) (с гидравликой "Bosch-Rexroth")
Гидроуправление на поворотной платформе (монтажная схема) (с гидравликой ПСМ)
Гидрооборудование на ходовой раме
Гидрооборудование на ходовой раме
Коллектор
Электрооборудование
Электрооборудование
Электрооборудование
Электрооборудование
Электрооборудование
Электрооборудование
Электрооборудование
Электрооборудование
Электрооборудование
Электрооборудование
Гидрораспределитель
Гидрораспределитель
Гидрораспределитель
Гидрораспределитель
Гидрораспределитель
Гидрооборудование на поворотной платформе
Гидрооборудование на поворотной платформе
Трубопроводы на поворотной платформе
Трубопроводы на поворотной платформе
Трубопроводы на поворотной платформе
Трубопроводы на поворотной платформе
Кран
Блок перелевных клапанов
Блок переливных клапанов
Клапан подпиточный
Клапан предохранительный (подпорный)
Блок клапанов "ИЛИ"
Клапан "ИЛИ"
Клапан "ИЛИ"
Гидроцилиндр
Блок управления
Бак гидравлический 314-02-80.12.000-20
Пневмогидраккумулятор с гидроклапанами
Бак гидравлический 314-02-80.12.000-10
Блок управления левый/правый
Установка маслоохладительная
Установка насоса
Гидроцилиндр рукояти
Ковш оборотной лопаты
Трубопроводы рабочего оборудования
Рабочее оборудование обратной лопаты
Рабочее оборудование обратной лопаты
Общий вид экскаватора
1
2
3
4
5
6
7
8
9
10
11
12
13
14
15
16
17
18
19
Позиция на иллюстрации
Заводской номер детали
Название детали
1
ЭО-3322А.24.01.009
Штуцер
2
[РВД 20-33(М42х2)-1650-У]
РВД 20-33(М42х2)-1650-У
3
ЭО-3123.31.12.300
Коллектор
4
ЭО-3323.41.08.006
Скоба
5
ЭО-3322А.23.02.001
Штуцер
6
23358.18МЗ
Прокладка
7
18.31.12.010
Трубопровод
8
ЭО-3123.31.12.003
Штуцер
9
[РВД 12-28(М22х1,5)- 1250-У]
РВД 12-28(М22х1,5)- 1250-У
10
ЭО-3123.31.12.060
Трубопровод
11
ЭО-3123.31.12.070
Трубопровод
12
18.31.12.020
Трубопровод
13
7796.ВМ10-8gх55.88.40Х.019
Болт
14
6402.10.65Г.019
Шайба
15
ЭО-3323А.07.31.210
Рукав (L=2100 мм)
16
ЭО-3123.31.12.200
Блок клапанов
17
9833.030-035-30-2-3
Кольцо
18
ЭО-3322А.24.01.004
Тройник
19
ЭО-3123.31.12.130
Трубопровод
Содержащиеся в справочниках-каталогах запасные части и детали не предлагаются к продаже, а носят исключительно информационный характер
Дополнительная информация
×
Название:
Номер:
Примечание: