Каталог запасных частей к технике: ТВЭКС ЕТ-16. Установка силовая
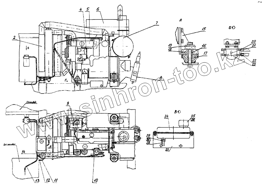
2
4
5
6
7
8
9
10
11
12
13
14
15
16
17
17
18
19
20
21
22
23
24
25
26
27
28
29
30
| Позиция на иллюстрации | Заводской номер детали | Название детали | |
|---|---|---|---|
| 2 | 314-60-04.04.000 | Установка радиаторов | |
| 4 | 314-60-04.06.000 | Управление двигателем | |
| 5 | 1104С-44ТАRJ37836 | Двигатель | |
| 6 | 314-60-04.03.000 | Установка глушителя | |
| 7 | 314-60-04.05.000-10 | Установка воздухоочистителя | |
| 8 | 312-40-04.01.000-20 | Установка насоса (насос «Воsсh-Rехrоth») | |
| 9 | 312-40-04.00.010 | Опора передняя | |
| 10 | [Рукав 8х15-1,6 ГОСТ 10362-76 L=2450 мм] | Рукав 8х15-1,6 ГОСТ 10362-76 L=2450 мм | |
| 11 | 314-60-04.00.010 | Рукав | |
| 12 | ЭО-3322А.23.03.004 | Штуцер | |
| 13 | 308-20-03.90.030 | Рукав | |
| 14 | Э-302-1-1600-14 | Хомутик | |
| 15 | 308-20-03.90.020 | Опора передняя | |
| 16 | 312-40-04.00.020 | Втулка опорная | |
| 17 | 312-40-04.00.001 | Амортизатор | |
| 17 | 20507988.ВГИ.003.000 | Амортизатор | |
| 18 | 312-04-03.51.006 | Амортизатор | |
| 19 | 312-04-03.51.002 | Чашка | |
| 20 | 005-40-03.00.002 | Трубка | |
| 21 | 22/13-22 | Хомут червячный | |
| 22 | 003-03-03.00.005 | Переходник | |
| 23 | [Фильтр-отстойник] | Фильтр-отстойник | |
| 24 | 16.03.14.100 | Бачок | |
| 25 | 16.03.14.003 | Крышка | |
| 26 | 16.03.14.002 | Прокладка | |
| 27 | 005-04-03.11.019 | Кронштейн | |
| 28 | [Рукав 8х15-1,6 ГОСТ 10362-76 L=400 мм] | Рукав 8х15-1,6 ГОСТ 10362-76 L=400 мм | |
| 29 | 312-04-03.51.008 | Штуцер | |
| 30 | 23358.14М3 | Прокладка |
Содержащиеся в справочниках-каталогах запасные части и детали не предлагаются к продаже, а носят исключительно информационный характер