Вернуться на главную
Поиск
Каталоги запчастей к технике
Спецтехника
ТВЭКС
ЕТ-16
Каток опорный
Каталог запасных частей к технике: ТВЭКС ЕТ-16. Каток опорный
zoom-in
zoom-out
enlarge
shrink
circle-right
circle-left
file-text2
info
cart
Тип техники
Не выбрано
Легковые автомобили
Грузовые автомобили и прицепы
Автобусы
Сельхозтехника
Спецтехника
Двигатели
Мототехника
Марка
Не выбрано
Ammann
BOMAG
CARMIX
CASE IH
Changlin
ChengGong
Dimex
Doosan
DYNAPAC
Foton
HAMM
Hidromek
Hitachi
Hyundai
JCB
JLG
John Deere
Komatsu
LIEBHERR
LiuGong
Lonking (LongGong)
Luneng
MANITOU
Mitsuber
New Holland
PENGPU
RM-Terex
SANY
SDLG
SEM
Shantui
Shehwa HBXG
Soosan
TIGARBO
VOGELE
Volvo
WAY
WIRTGEN
XCMG
XGMA
Xiamen
YTO
Yuchai
Zoomlion
Автокран
АЗСМ
Алтайлесмаш
Амкодор
АОМЗ
Атек
АТЗ
Балканкар Рекорд
БелАЗ
Беловеж
Борекс
Брянский Арсенал
Булат
ВЭКС
ГАЗ
Геомаш
Гидромаш
Донекс
Дормаш
Дормашина
Дорэлектромаш
ДЭЗ
ЕлАЗ
ЗЗГТ
Ижнефтемаш
Канаш-электрокар
КЗКТ
ККЗ
Клевер
Клинцовский автокрановый завод
КМЗ
КМЗ 1 Мая
Ковровец
Коммаш
Кранэкс
КЭЗ
КЭМЗ
ЛЗА
МАЗ
МЗИК
МЗКМ
МЗКТ
Михневский РМЗ
МоАЗ
Мозырский МЗ
МТЗ
ОЗП
Онежец
ПАО "ТЗА"
ППС Детва
Промтрактор
ПТЗ
Раскат
СпецАгрегат
ТВЭКС
ТТМ
УВЗ
Угличмаш
УЗТМ
ХТЗ
ЧЗКМ
ЧСДМ
ЧТЗ
ЭКСКО
ЭКСМАШ
ЮрМаш
Модель
Не выбрано
5846ТМ (ЕА17) (2010)
E145W (ЕК-14)
E145W (ЕК-14) (2005)
E185W (ЕК-18)
E185W (ЕК-18) (2005)
E185W (ЕК-18) (2008)
E225LC (2022)
E225NLC (2022)
TLB 825 (2016)
TLB 825 (2017)
TLB 825 (2019)
TLB 935 (2020)
TLB 935 (2021)
TVEX-140W (2015)
TVEX-180i (2015)
TVEX-180W (2015)
TX220LC (2019)
TX220NLC (2019)
WX200 (2019)
WХ-200 (2015)
WХ-200 (2017) (2017)
ВП-03 (2005)
ВП-05
ВП-05 (2015)
ВП-05 (2005) (2005)
ВП-05 (вариант) (2005)
Е200СН (2018)
Е245СН (2018)
ЕК-12 (2005)
ЕК-12 (2007) (2007)
ЕК-12 (2013) (2013)
ЕК-14-20 (2013)
ЕК-14-90 (2011)
ЕК-14-90 (2015)
ЕК-18-20 (2010)
ЕК-18-40 (2005)
ЕК-18-45-60 (2008)
ЕК-18-90 (2012)
ЕК-18-90 (2015)
ЕК-20-20 (2010)
ЕТ-16 (2005)
ЕТ-16-20 (2007)
ЕТ-18-20 (2005)
ЕТ-20-20 (2012)
ЕТ-25
ЕТ-25-20 (2007)
ЕТ-26i (2010)
ЕТ-26i (2015)
ТХ-210 (2015)
ТХ-210 (2017)
ТХ-220 (2017)
ТХ-270 / 300 (2017)
ТЭП-18 (2012)
ЭО-3122
ЭО-3323
ЭО-3323А (2002)
ЭО-3326 (2000)
ЭОВ-3521 (2007)
ЭОВ-3521М-1 (2007)
ЭОВ-3521М-1 (2017)
ЭОВ-3521М-1 (2017)
Схема
>
Не выбрано
Кабина
Кабина
Рамка верхняя
Установка люка
Дверь
Установка замков
Сиденье
Установка отопителя
Установка подогревателя и отопитля
Установка подогревателя и отопитля
Установка зеркала заднего вида
Платформа поворотная с механизмом
Установка силовая
Установка насоса
Установка силовая
Установка насоса
Установка подогревателя
Установка подогревателя
Управление двигателем
Управление двигателем
Установка воздухоочистителя
Установка глушителя
Установка глушителя
Установка радиаторов
Установка радиаторов
Привод хода
Гидроцилиндр
Тележка гусеничная
Каток опорный
Механизм натяжения гусеничной цепи
Колесо направляющее
Управление экскаватором
Механизм поворота
Управление экскаватором
Управление экскаватором
Пульт правый 225-10-86.91.200-50
Пульт правый 225-10-86.91.200-30
Пульт левый 312-20-86.90.200-30
Пульт левый 312-20-86.90.200-80
Гидроуправление на поворотной ходовой раме
Гидроуправление на поворотной ходовой раме
Гидроуправление на поворотной ходовой раме
Коллектор
Электрооборудование
Электрооборудование
Электрооборудование
Электрооборудование
Электрооборудование
Электрооборудование
Электрооборудование
Электрооборудование
Электрооборудование
Электрооборудование
Гидрораспределитель
Гидрооборудование на поворотной платформе
Трубопроводы на поворотной платформе
Трубопроводы на поворотной платформе
Трубопроводы на поворотной платформе
Трубопроводы на поворотной платформе
Клапан предохранительный (подпорный)
Блок перелевных клапанов
Кран
Гидрораспределитель
Гидрораспределитель
Блок клапанов "ИЛИ"
Клапан поддиточный
Гидроуправление на поворотной платформе (монтажная схема) (с гидравликой ПСМ)
Гидроуправление на поворотной платформе (монтажная схема) (с гидравликой "Bosch-Rexroth")
Гидрораспределитель
Гидрораспределитель
Клапан "ИЛИ"
Клапан "ИЛИ"
Блок управления
Блок управления левый/правый
Пневмогидраккумулятор с гидроклапанами
Бак гидравлический 314-02-80.12.000-10
Бак гидравлический 314-02-80.12.000-20
Установка маслоохладительная
Трубопроводы рабочего оборудования
Рабочее оборудование обратной лопаты
Рабочее оборудование обратной лопаты
Гидроцилиндр рукояти
Гидроцилиндр
Ковш оборотной лопаты
Экскаватор гусеничный гидравлический
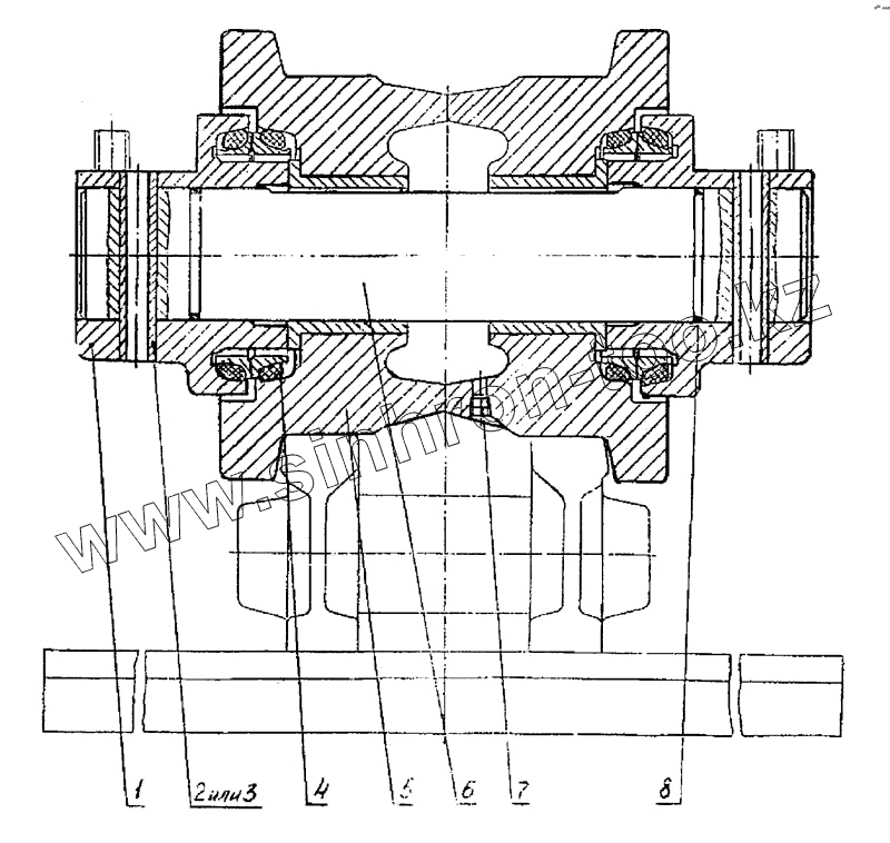
1
2
3
4
5
6
7
8
Позиция на иллюстрации
Заводской номер детали
Название детали
1
18.31.06.001
Крышка
2
18.31.06.003
Штифт
3
14299.16х80.65Г
Штифт
4
18.31.06.200
Уплотнение
5
18.31.06.100
Каток в сборе
6
18.31.06.002
Ось
7
18.31.06.005
Пробка
8
9833.055-060-30-1-3
Кольцо
Содержащиеся в справочниках-каталогах запасные части и детали не предлагаются к продаже, а носят исключительно информационный характер
Дополнительная информация
×
Название:
Номер:
Примечание: