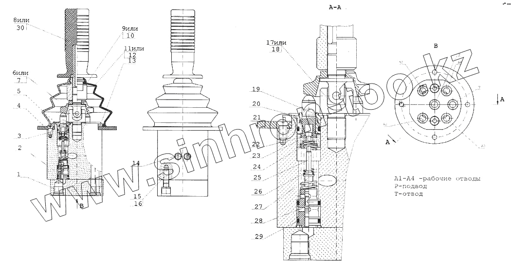
Каталог запасных частей к технике: ТВЭКС ЕТ-16. Блок управления
1
2
3
4
5
6
7
8
9
10
11
12
13
14
15
16
17
18
19
20
21
22
23
24
25
26
27
28
29
30
| Позиция на иллюстрации | Заводской номер детали | Название детали | |
|---|---|---|---|
| 1 | 13.80.04.602-30 | Крышка | |
| 2 | 13.80.04.501 | Корпус | |
| 3 | 17475.М6-8gхl4.58.019 | Винт | |
| 4 | 13.80.04.503 | Фланец | |
| 5 | 13.80.04.504 | Крышка | |
| 6 | 13.80.04.505 | Тарелка | |
| 7 | 13.80.04.605 | Тарелка | |
| 8 | 13.80.04.690 | Рукоятка | |
| 9 | 13.80.04.517 | Гайка | |
| 10 | 13.80.04.617 | Гайка | |
| 11 | 601.00.00.013 | Чехол | |
| 12 | 13.80.04.615 | Чехол | |
| 13 | 13.80.04.553 | Кольцо проставочное | |
| 14 | 13.80.04.618 | Пробка | |
| 15 | 11738.М8-8gх30.58.019 | Винт | |
| 16 | 6402.8.65Г.019 | Шайба | |
| 17 | 13.80.04.550 | Крестовина | |
| 18 | 13.80.04.640-10 | Опора | |
| 19 | 13.80.04.566 | Толкатель | |
| 20 | 13.80.04.507 | Втулка верхняя | |
| 21 | 601.00.00.014 | Манжета 10х13.6 | |
| 22 | 13.80.04.518 | Шайба | |
| 23 | 13.80.04.519 | Упор | |
| 24 | 13.80.04.613 | Пружина | |
| 25 | 13.80.04.510 | Золотник | |
| 26 | 13.80.04.611-20 | Пружина | |
| 27 | 13.80.04.612 | Втулка | |
| 28 | 13.80.04.514 | Втулка нижняя | |
| 29 | 9833.014-018-25-2-3 | Кольцо | |
| 30 | 13.80.04.650 | Рукоятка |
Содержащиеся в справочниках-каталогах запасные части и детали не предлагаются к продаже, а носят исключительно информационный характер