Вернуться на главную
Поиск
Каталоги запчастей к технике
Спецтехника
ТВЭКС
ЕТ-16-20
ЭО-3323.07.10.010 Гидрораспределитель
Каталог запасных частей к технике: ТВЭКС ЕТ-16-20. ЭО-3323.07.10.010 Гидрораспределитель
zoom-in
zoom-out
enlarge
shrink
circle-right
circle-left
file-text2
info
cart
Тип техники
Не выбрано
Легковые автомобили
Грузовые автомобили и прицепы
Автобусы
Сельхозтехника
Спецтехника
Двигатели
Мототехника
Марка
Не выбрано
Ammann
BOMAG
CARMIX
CASE IH
Changlin
ChengGong
Dimex
Doosan
DYNAPAC
Foton
HAMM
Hidromek
Hitachi
Hyundai
JCB
JLG
John Deere
Komatsu
LIEBHERR
LiuGong
Lonking (LongGong)
Luneng
MANITOU
Mitsuber
New Holland
PENGPU
RM-Terex
SANY
SDLG
SEM
Shantui
Shehwa HBXG
Soosan
TIGARBO
VOGELE
Volvo
WAY
WIRTGEN
XCMG
XGMA
Xiamen
YTO
Yuchai
Zoomlion
Автокран
АЗСМ
Алтайлесмаш
Амкодор
АОМЗ
Атек
АТЗ
Балканкар Рекорд
БелАЗ
Беловеж
Борекс
Брянский Арсенал
Булат
ВЭКС
ГАЗ
Геомаш
Гидромаш
Донекс
Дормаш
Дормашина
Дорэлектромаш
ДЭЗ
ЕлАЗ
ЗЗГТ
Ижнефтемаш
Канаш-электрокар
КЗКТ
ККЗ
Клевер
Клинцовский автокрановый завод
КМЗ
КМЗ 1 Мая
Ковровец
Коммаш
Кранэкс
КЭЗ
КЭМЗ
ЛЗА
МАЗ
МЗИК
МЗКМ
МЗКТ
Михневский РМЗ
МоАЗ
Мозырский МЗ
МТЗ
ОЗП
Онежец
ПАО "ТЗА"
ППС Детва
Промтрактор
ПТЗ
Раскат
СпецАгрегат
ТВЭКС
ТТМ
УВЗ
Угличмаш
УЗТМ
ХТЗ
ЧЗКМ
ЧСДМ
ЧТЗ
ЭКСКО
ЭКСМАШ
ЮрМаш
Модель
Не выбрано
5846ТМ (ЕА17) (2010)
E145W (ЕК-14)
E145W (ЕК-14) (2005)
E185W (ЕК-18)
E185W (ЕК-18) (2005)
E185W (ЕК-18) (2008)
E225LC (2022)
E225NLC (2022)
TLB 825 (2016)
TLB 825 (2017)
TLB 825 (2019)
TLB 935 (2020)
TLB 935 (2021)
TVEX-140W (2015)
TVEX-180i (2015)
TVEX-180W (2015)
TX220LC (2019)
TX220NLC (2019)
WX200 (2019)
WХ-200 (2015)
WХ-200 (2017) (2017)
ВП-03 (2005)
ВП-05
ВП-05 (2015)
ВП-05 (2005) (2005)
ВП-05 (вариант) (2005)
Е200СН (2018)
Е245СН (2018)
ЕК-12 (2005)
ЕК-12 (2007) (2007)
ЕК-12 (2013) (2013)
ЕК-14-20 (2013)
ЕК-14-90 (2011)
ЕК-14-90 (2015)
ЕК-18-20 (2010)
ЕК-18-40 (2005)
ЕК-18-45-60 (2008)
ЕК-18-90 (2012)
ЕК-18-90 (2015)
ЕК-20-20 (2010)
ЕТ-16 (2005)
ЕТ-16-20 (2007)
ЕТ-18-20 (2005)
ЕТ-20-20 (2012)
ЕТ-25
ЕТ-25-20 (2007)
ЕТ-26i (2010)
ЕТ-26i (2015)
ТХ-210 (2015)
ТХ-210 (2017)
ТХ-220 (2017)
ТХ-270 / 300 (2017)
ТЭП-18 (2012)
ЭО-3122
ЭО-3323
ЭО-3323А (2002)
ЭО-3326 (2000)
ЭОВ-3521 (2007)
ЭОВ-3521М-1 (2007)
ЭОВ-3521М-1 (2017)
ЭОВ-3521М-1 (2017)
Схема
>
Не выбрано
216-20-00.00.000 (216-30-00.00.000, 216-40-00.00.000) Экскаватор гусеничный гидравлический
214-20-20.00.000-22 (214-20-20.00.000-32, 214-40-20.00.000-22) Платформа поворотная с механизмами
314-02-03.00.000 (314-02-03.00.000-30) Установка силовая
314-02-03.07.000 Установка радиаторов
314-02-03.08.100 Установка глушителя
314-02-03.02.000 Управление двигателем
314-02-03.09.000 (314-02-03.09.000-30) Установка насоса
314-60-04.00.000-20 Установка силовая (гидроаппараты Bosch-Rexroth, двигатель Perkins 1104C-44TA)
314-60-04.04.000 Установка радиаторов
314-60-04.06.000 Управление двигателем
314-60-04.03.000 Установка глушителя
314-60-04.05.000-10 Установка воздухоочистителя
312-40-04.01.000-20 Установка насоса
312-20-02.00.000 Кабина
312-20-02.50.000 Установка люка
312-20-02.40.000 Дверь
312-20-02.42.000 Установка замков
312-20-02.80.000 (312-20-02.80.000-10, 312-20-02.80.000-20) Установка зеркала заднего вида
312-20-02.80.000 Рамка верхняя
314-02-87.13.000 Установка отопителя
314-02-87.60.000 Установка подогревателя
314-60-87.60.000 Установка подогревателя и отопителя (c двиг. Perkins 1104C-44TA)
225-10-86.91.000-30 Управление экскаватором, 225-10-86.91.000-50 (с двигателем Perkins 1104C-44TA)
005-04-90.00.000 Сиденье
225-10-86.91.200-30 (225-10-86.91.200-50) Пульт правый
312-20-86.90.200-30 (312-20-86.90.200-80) Пульт левый
ЕК-14.07.00.000-02 Механизм поворота
214-02-80.00.000 Гидрооборудование на поворотной платформе (с гидравликой ПСМ), 214-30-80.00.000-10 (с гидравликой Bosch-Rexroth)
214-20-80.01.000-02 Трубопроводы на поворотной платформе (с гидравликой ПСМ)
214-30-80.01.000 Трубопроводы на поворотной платформе (с гидравликой Bosch-Rexroth)
ЭО-3323А.08.07.110-10 Клапан предохранительный, ЭО-3323А.08.07.110-20 клапан подпорный
417-10-80.01.100 (ЭО-3123.31.12.200) Блок переливных клапанов
314-02-80.01.500 Кран
214-02-520.00 Гидрораспределитель
520.32.00.000-20 Блок клапанов
520.20.01.000 Клапан подпиточный
214-20-80.04.000 Гидроуправление на поворотной платформе (монтажная схема) (с гидравликой ПСМ), 214-20-80.04.000-10 (с гидравликой Bosch-Rexroth)
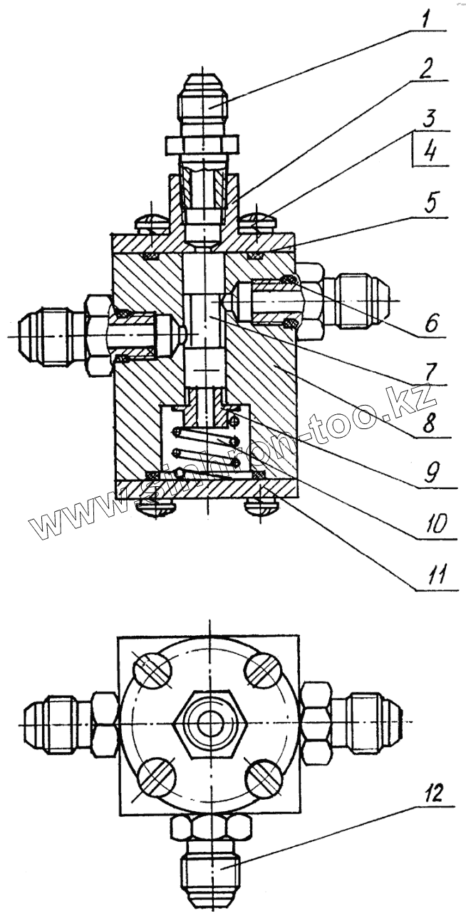
ЭО-3323.07.10.010 Гидрораспределитель
ЭО-3323А.07.21.010 Гидрораспределитель
ЭО-3323А.49.01.140 Клапан
ЭО-3332А.07.15.020 Клапан
13.80.04.500 Блок управления
13.80.04.800/850 Блок управления левый/правый
64002.10.000 Пневмогидроаккумулятор с гидроклапанами
314-02-80.12.000-10 Бак гидравлический (гидравлика ПСМ), 314-02-80.12.000-20 (гидравлика Bosch-Rexroth)
314-02-80.03.650-20, 314-02-80.03.650 Установка маслоохладительная
314-03-23.00.000-40 Рабочее оборудование обратной лопаты
314-02-23.80.000-10 Трубопроводы рабочего оборудования
125-90-11.01.000 Гидроцилиндр рукояти (125х90х1100) (с уплотнениями Элконт), 125-90-11.01.000-11 (125х90х1100) (с уплотнениями ГидраПак)
313-00-23.94.000 (313-00-23.94.000-11, 313-00-23.95.000-10) Гидроцилиндр ковша, 313-00-23.95.000-11 Гидроцилиндр стрелы
314-03-23.21.200 Ковш обратной лопаты
18.33.00.000-24 Тележка гусеничная, 18.33.00.000-34 (гидравлика Bosch-Rexroth)
18.33.05.000 Привод хода, 18.33.05.000-30 (г/м Bosch-Rexroth)
18.31.06.000 Каток опорный
ЭО-3122.30.10.000 Колесо направляющее с натяжным механизмом
18.30.10.300 Гидроцилиндр
ЭО-3122.30.10.100 Колесо направляющее
18.31.12.000-35 Гидрооборудование на ходовой раме (г/м Bosch-Rexroth)
18.31.12.000-21 Гидрооборудование на ходовой раме (г/м ПСМ)
ЭО-3123.31.12.300 Коллектор
214-20-88.28.000-10 Электрооборудование (с подогревателем HYDRONIC)
214-40-88.41.000 Электрооборудование (с подогревателем HYDRONIC, двиг. Perkins 1104C-44)
1
2
3
4
5
6
7
8
9
10
11
12
Позиция на иллюстрации
Заводской номер детали
Название детали
1
ЭО-3322А.23.03.004
Штуцер
2
ЭО-3323.07.10.011
Крышка
3
17473.М6х8g-12.58.019
Винт
4
6402.6.65Г.019
Шайба
5
9833.030-035-30-2-3
Кольцо
6
9833.012-016-25-2-3
Кольцо
7
ЭО-3323.07.10.012
Золотник
8
ЭО-3323.07.10.013
Корпус
9
ЭО-3323.07.10.014
Тарелка
10
ЭО-3323.07.10.015-10
Пружина
11
ЭО-3323.07.10.016
Крышка
12
520.20.20.025
Штуцер
Содержащиеся в справочниках-каталогах запасные части и детали не предлагаются к продаже, а носят исключительно информационный характер
Дополнительная информация
×
Название:
Номер:
Примечание: