Каталог запасных частей к технике: ТВЭКС ЭОВ-3521М-1. 417-10-88.24.000 Электрооборудование
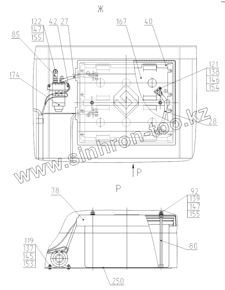
27
28
40
42
78
80
85
92
119
121
122
137
138
139
145
146
147
147
153
154
155
155
167
174
250
| Позиция на иллюстрации | Заводской номер детали | Название детали | |
|---|---|---|---|
| 1 | 417-10-88.24.010 | Провод | |
| 2 | 417-10-88.24.020 | Жгут проводов | |
| 4 | 417-10-88.24.040 | Жгут проводов | |
| 6 | 417-10-88.24.050 | Жгут проводов | |
| 7 | 417-10-88.24.060 | Жгут проводов | |
| 8 | 417-10-88.24.070 | Жгут проводов | |
| 9 | 417-10-88.24.080 | Жгут проводов | |
| 10 | 417-10-88.24.090 | Жгут проводов | |
| 21 | 312-20-88.20.020 | Жгут проводов | |
| 22 | 312-20-88.20.090 | Провод | |
| 23 | 312-20-88.20.130 | Жгут проводов | |
| 24 | 312-20-88.20.170 | Провод | |
| 25 | 312-20-88.20.240 | Провод | |
| 26 | 312-20-88.20.250 | Провод | |
| 27 | 312-20-88.20.270 | Провод | |
| 28 | 312-20-88.20.280 | Провод | |
| 29 | 312-20-88.20.290 | Провод | |
| 40 | 312-04-88.10.010 | Рамка аккумуляторов | |
| 42 | 314-02-88.01.020 | Провод | |
| 43 | 314-02-88.01.150 | Провод | |
| 45 | 318-40-88.05.110 | Провод | |
| 50 | 225-10-88.12.080 | Провод | |
| 52 | 214-02-88.01.080 | Провод | |
| 77 | 312-20-88.20.001 | Кронштейн омывателя | |
| 78 | 312-20-88.20.003 | Крышка аккумуляторов | |
| 80 | 312-04-88.10.031 | Шпилька | |
| 83 | 314-02-71.00.003 | Чехол | |
| 85 | 314-02-88.01.003 | Перемычка | |
| 92 | 005-04-02.05.004 | Шайба | |
| 99 | 13.06.20.002 | Переходник | |
| 101 | 26.00.70.008 | Прокладка | |
| 105 | ЭО-3323.04.02.004 | Скоба | |
| 106 | ЭО-3323А.12.00.006 | Труба | |
| 107 | Э-302-1-1600-04Б | Скоба | |
| 118 | М6-6gx16.58.016 | Болт | |
| 119 | М6-6gx20.58.016 | Болт | |
| 120 | М8-6gx20.58.016 | Болт | |
| 121 | М8-6gx30.58.016 | Болт | |
| 122 | М10-6gx20.58.016 | Болт | |
| 126 | В.М4-6gx8.58.016 | Винт | |
| 128 | В.М4-6gx20.58.016 | Винт | |
| 130 | В.М6-6gx12.58.016 | Винт | |
| 131 | В.М6-6gx22.58.016 | Винт | |
| 135 | М4-6Н.5.016 | Гайка | |
| 137 | М6-6Н.5.016 | Гайка | |
| 138 | М8-6Н.5.016 | Гайка | |
| 139 | М10-6Н.5.016 | Гайка | |
| 143 | А4.01.08кп.019 | Шайба | |
| 145 | А6.01.08кп.019 | Шайба | |
| 146 | А8.01.08кп.019 | Шайба | |
| 147 | А10.01.08кп.019 | Шайба | |
| 151 | 4.65Г.016 | Шайба | |
| 153 | 6.65Г.016 | Шайба | |
| 154 | 8.65Г.016 | Шайба | |
| 155 | 10.65Г.016 | Шайба | |
| 167 | 3СТ-215А | Батарея аккумуляторная | |
| 171 | Вентилятор | Вентилятор автомобильный на присоске | |
| 174 | 1300.3737 | Выключатель | |
| 183 | ММ358 | Датчик | |
| 184 | В26.3827 | Датчик | |
| 185 | ТМ100В | Датчик | |
| 200 | 4573739001 | Колодка соединительная | |
| 201 | 4573739002 | Колодка соединительная | |
| 202 | 4573739003 | Колодка соединительная | |
| 203 | 4573739004 | Колодка соединительная | |
| 204 | 4573739005 | Колодка соединительная | |
| 205 | 4573739007 | Колодка соединительная | |
| 206 | 4573739009 | Колодка соединительная | |
| 207 | 4573739011 | Колодка соединительная | |
| 208 | 4573739012 | Колодка соединительная | |
| 209 | 4573739013 | Колодка соединительная | |
| 210 | 4573739016 | Колодка гнездовая | |
| 212 | 469.59.00-00 | Колодка соединительная | |
| 218 | 4573738004 | Наконечник | |
| 220 | 14.3723 | Панель соединительная | |
| 222 | 16.3714-01 | Плафон | |
| 224 | 738.3747-30 | Реле | |
| 225 | 90.3747 | Реле | |
| 227 | ПС500 | Розетка | |
| 228 | 20.3721-01 | Сигнал | |
| 230 | 1102.5208-25 | Стеклоомыватель (с форсункой и трубой L=1200 мм) | |
| 234 | 8724.304/011 | Фара | |
| 239 | 25.1801.80.02.00 | Хомут | |
| 248 | Р3-Ц-Х-Ш-15 | Металлорукав | |
| 250 | 1Ф-1-ТМКЩ-С-2 | Пластина |
Содержащиеся в справочниках-каталогах запасные части и детали не предлагаются к продаже, а носят исключительно информационный характер