Вернуться на главную
Поиск
Каталоги запчастей к технике
Спецтехника
ТВЭКС
ЭОВ-3521М-1
312-04-80.09.500 Фильтр
Каталог запасных частей к технике: ТВЭКС ЭОВ-3521М-1. 312-04-80.09.500 Фильтр
zoom-in
zoom-out
enlarge
shrink
circle-right
circle-left
file-text2
info
cart
Тип техники
Не выбрано
Легковые автомобили
Грузовые автомобили и прицепы
Автобусы
Сельхозтехника
Спецтехника
Двигатели
Мототехника
Марка
Не выбрано
Ammann
BOMAG
CARMIX
CASE IH
Changlin
ChengGong
Dimex
Doosan
DYNAPAC
Foton
HAMM
Hidromek
Hitachi
Hyundai
JCB
JLG
John Deere
Komatsu
LIEBHERR
LiuGong
Lonking (LongGong)
Luneng
MANITOU
Mitsuber
New Holland
PENGPU
RM-Terex
SANY
SDLG
SEM
Shantui
Shehwa HBXG
Soosan
TIGARBO
VOGELE
Volvo
WAY
WIRTGEN
XCMG
XGMA
Xiamen
YTO
Yuchai
Zoomlion
Автокран
АЗСМ
Алтайлесмаш
Амкодор
АОМЗ
Атек
АТЗ
Балканкар Рекорд
БелАЗ
Беловеж
Борекс
Брянский Арсенал
Булат
ВЭКС
ГАЗ
Геомаш
Гидромаш
Донекс
Дормаш
Дормашина
Дорэлектромаш
ДЭЗ
ЕлАЗ
ЗЗГТ
Ижнефтемаш
Канаш-электрокар
КЗКТ
ККЗ
Клевер
Клинцовский автокрановый завод
КМЗ
КМЗ 1 Мая
Ковровец
Коммаш
Кранэкс
КЭЗ
КЭМЗ
ЛЗА
МАЗ
МЗИК
МЗКМ
МЗКТ
Михневский РМЗ
МоАЗ
Мозырский МЗ
МТЗ
ОЗП
Онежец
ПАО "ТЗА"
ППС Детва
Промтрактор
ПТЗ
Раскат
СпецАгрегат
ТВЭКС
ТТМ
УВЗ
Угличмаш
УЗТМ
ХТЗ
ЧЗКМ
ЧСДМ
ЧТЗ
ЭКСКО
ЭКСМАШ
ЮрМаш
Модель
Не выбрано
5846ТМ (ЕА17) (2010)
E145W (ЕК-14)
E145W (ЕК-14) (2005)
E185W (ЕК-18)
E185W (ЕК-18) (2005)
E185W (ЕК-18) (2008)
E225LC (2022)
E225NLC (2022)
TLB 825 (2016)
TLB 825 (2017)
TLB 825 (2019)
TLB 935 (2020)
TLB 935 (2021)
TVEX-140W (2015)
TVEX-180i (2015)
TVEX-180W (2015)
TX220LC (2019)
TX220NLC (2019)
WX200 (2019)
WХ-200 (2015)
WХ-200 (2017) (2017)
ВП-03 (2005)
ВП-05
ВП-05 (2015)
ВП-05 (2005) (2005)
ВП-05 (вариант) (2005)
Е200СН (2018)
Е245СН (2018)
ЕК-12 (2005)
ЕК-12 (2007) (2007)
ЕК-12 (2013) (2013)
ЕК-14-20 (2013)
ЕК-14-90 (2011)
ЕК-14-90 (2015)
ЕК-18-20 (2010)
ЕК-18-40 (2005)
ЕК-18-45-60 (2008)
ЕК-18-90 (2012)
ЕК-18-90 (2015)
ЕК-20-20 (2010)
ЕТ-16 (2005)
ЕТ-16-20 (2007)
ЕТ-18-20 (2005)
ЕТ-20-20 (2012)
ЕТ-25
ЕТ-25-20 (2007)
ЕТ-26i (2010)
ЕТ-26i (2015)
ТХ-210 (2015)
ТХ-210 (2017)
ТХ-220 (2017)
ТХ-270 / 300 (2017)
ТЭП-18 (2012)
ЭО-3122
ЭО-3323
ЭО-3323А (2002)
ЭО-3326 (2000)
ЭОВ-3521 (2007)
ЭОВ-3521М-1 (2007)
ЭОВ-3521М-1 (2017)
ЭОВ-3521М-1 (2017)
Схема
>
Не выбрано
Перечень сборочных единиц
417-21-00.00.000 Экскаватор одноковшовый войсковой ЭОВ 3521М-1
417-10-20.00.000 Платформа поворотная с механизмами
417-10-80.00.000-11 Гидрооборудование на поворотной платформе
417-10-80.01.000-11 Трубопроводы на поворотной платформе
417-10-80.01.000-11 Трубопроводы на поворотной платформе
ЭО-3323А.08.07.110-20 Клапан подпорный
314-02-80.01.600 Клапан предохранительный
312-02-520.00 Гидрораспределитель
520.20.50.000 Секция рабочая (опора-отвал)
520.20.50.000 Секция рабочая (опора-отвал)
520.20.50.200 Секция рабочая (рукоять)
520.20.51.000 Секция рабочая (поворот)
520.20.53.100 Секция рабочая (ковш)
520.20.53.400 Секция рабочая (стрела)
520.21.65.100 Секция напорно-сливная
520.21.75.100 Напорно-сливная секция
520.32.00.000-20 Блок клапанов «ИЛИ»
520.20.01.000 Клапан подпиточный
417-10-80.04.000-10 Гидроуправление на поворотной платформе (монтажная схема)
417-10-80.04.000-10 Гидроуправление на поворотной платформе (монтажная схема)
ЭО-3323А.07.15.020 Клапан «ИЛИ»
ЭО-3323А.07.21.010 Гидрораспределитель
13.80.04.850 Блок управления педальный (правый)
13.80.04.960-10 Блок управления
64002.10.000-10 Пневмогидроаккумулятор
64011.10.000-10 Блок гидроклапанов
312-04-80.09.000-10 Бак гидравлический
005-04-80.01.020 Фильтр
РС 120-71.80.240 Клапан предохранительный
312-04-80.09.500 Фильтр
312-04-03.51.000-40 Установка силовая
312-04-03.51.000-40 Установка силовая
314-02-03.09.000-40 Установка насоса, Насос 333.3.55.100.220 (гидравлика ПСМ)
312-04-07.00.000 Механизм поворота
312-20-02.00.000-20 Кабина (с 1.09.2007г.), 312-20-02.00.000 (до 31.08.2007г.)
312-20-02.00.000-20 Кабина (с 1.09.2007г.), 312-20-02.00.000 (до 31.08.2007г.)
312-20-02.00.000-20 Кабина (с 1.09.2007г.), 312-20-02.00.000 (до 31.08.2007г.)
312-20-02.00.000-20 Кабина (с 1.09.2007г.), 312-20-02.00.000 (до 31.08.2007г.)
312-20-02.50.000 Установка люка
312-20-02.40.000 Дверь
312-20-02.42.000 Установка замков
312-20-02.80.000, 312-20-02.80.000-10, 312-20-02.80.000-20 Установка зеркала заднего вида
312-20-02.30.000 Рамка верхняя
225-10-86.91.000-10 Управление экскаватором
225-10-86.91.000-10 Управление экскаватором
225-10-86.91.000-10 Управление экскаватором
225-10.86.91.200-10 Пульт правый
312-20-86.90.200-30 Пульт левый
312-20-87.17.000-10 Установка отопителя
622-00-87.50.000 Установка подогревателя
417-20-39.00.000-10 Рабочее оборудование обратной лопаты
417-20-39.00.000-10 Рабочее оборудование обратной лопаты
417-00.39.80.000 Трубопроводы рабочего оборудования
100-63-10.02.000-12 Гидроцилиндр стрелы
40.45.00.900-12 Гидроцилиндр ковша
34.64.00.800-12 Гидроцилиндр рукояти
417-00.39.04.100 Ковш обратной лопаты
417-10-88.24.000 Электрооборудование
417-10-88.24.000 Электрооборудование
417-10-88.24.000 Электрооборудование
417-10-88.24.000 Электрооборудование
417-10-88.24.000 Электрооборудование
417-10-88.24.000 Электрооборудование
417-10-88.24.000Э4 Схема электрическая соединений
40.51.00.000-10 Ход пневмоколесный
40.51.00.000-10 Ход пневмоколесный
40.51.00.000-10 Ход пневмоколесный
40.71.10.000-10 Шасси доработанное
417-40.71.40.000-10 Гидрооборудование на ходовой раме
318-02-72.00.300 Гидроцилиндр выносных опор (правый)
318-02-72.00.400 Гидроцилиндр выносных опор (левый)
ЭО-3323А.71.82.000-12 (125х80х400) Гидроцилиндр
417-40.71.40.300 Коллектор центральный
13.71.80.670-10, 13.71.80.680-10 Гидрозамок двухсторонний
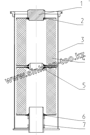
1
2
2
2
3
4
4
5
6
7
Позиция на иллюстрации
Заводской номер детали
Название детали
1
ЭО-3323А.08.10.002
Заглушка
2
23.01.84.301
Кольцо уплотнительное
2
23.01.84.303
Кольцо уплотнительное
2
Кольцо
Кольцо
3
005-04-80.01.010
Корпус
4
55P-661А-1-06
Элемент фильтрующий
4
Реготмас661-1-05
Элемент фильтрующий
5
23.01.84.340
Шайба промежуточная
6
23.01.84.302
Шайба
7
23.01.84.305
Пружина
Содержащиеся в справочниках-каталогах запасные части и детали не предлагаются к продаже, а носят исключительно информационный характер
Дополнительная информация
×
Название:
Номер:
Примечание: