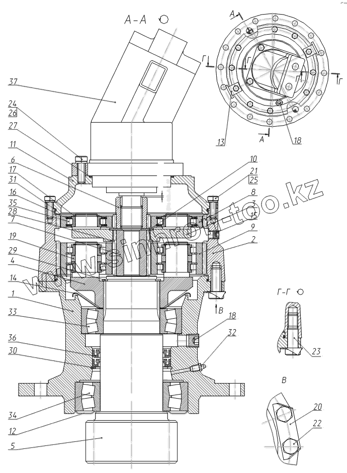
Каталог запасных частей к технике: ТВЭКС ЭОВ-3521М-1. Механизм поворота
1
2
3
4
5
6
7
8
9
10
11
12
13
14
15
16
17
18
18
19
20
21
22
23
24
25
26
27
28
29
30
31
32
33
34
35
36
37
| Позиция на иллюстрации | Заводской номер детали | Название детали | |
|---|---|---|---|
| 1 | 312-04-07.00.200 | Корпус | |
| 2 | 312-04-07.00.019 | Корпус | |
| 3 | ЕК-14.07.00.004 | Водило первой ступени | |
| 4 | ЕК-14.07.00.005 | Водило второй ступени | |
| 5 | ЕК-14.07.00.006-01 | Вал-шестерня | |
| 6 | ЕК-14.07.00.007 | Шестерня солнечная | |
| 7 | ЕК-14.07.00.008 | Шестерня солнечная | |
| 8 | ЕК-14.07.00.010 | Сателлит | |
| 9 | ЕК-14.07.00.009 | Сателлит | |
| 10 | ЕК-14.07.00.011 | Шайба опорная | |
| 11 | ЕК-14.07.00.013 | Крышка | |
| 12 | ЕК-14.07.00.015 | Кольцо уплотнительное | |
| 13 | ЕК-14.07.00.016 | Проушина | |
| 14 | ЕК-14.07.00.017 | Кольцо | |
| 15 | 18.31.06.005 | Пробка | |
| 16 | 18.31.03.031 | Кольцо стопорное | |
| 17 | ЭО-3322Б.68.00.005 | Кольцо стопорное | |
| 18 | ЭО-3323.20.30.049 | Пробка | |
| 19 | КС-3372.28.414 | Кольцо | |
| 20 | 312-04-07.00.018 | Планка | |
| 21 | М10-6gx25.58.016 | Болт | |
| 22 | М16-6gx40.58.016 | Болт | |
| 23 | 312-04-07.00.016 | Болт | |
| 24 | М12-6gx35.58.016 | Болт | |
| 25 | 10.65Г.016 | Шайба | |
| 26 | 12.65Г.016 | Шайба | |
| 27 | 125-130-36-1-3 | Кольцо | |
| 28 | В-58 | Кольцо | |
| 29 | В-80 | Кольцо | |
| 30 | В-125 | Кольцо | |
| 31 | 240-245-36-1-3 | Кольцо | |
| 32 | 1.3.Ц6Хр | Масленка | |
| 33 | 3518 | Подшипник | |
| 34 | 3520 | Подшипник | |
| 35 | 502207 | Подшипник | |
| 36 | 1.2-100х125-2 | Манжета | |
| 37 | 310.3.56 | Гидромотор |
Содержащиеся в справочниках-каталогах запасные части и детали не предлагаются к продаже, а носят исключительно информационный характер