Каталог запасных частей к технике: ТВЭКС ЭО-3323А. Бак гидравлический (ЭО-3323А.08.88.000)
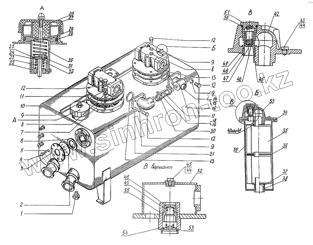
1
2
3
4
5
6
7
8
8
9
9
9
9
10
11
12
12
12
12
13
13
14
15
16
17
18
19
20
21
22
23
24
25
26
27
28
29
30
31
32
33
34
35
36
37
38
39
40
41
42
43
43
44
44
45
45
46
46
47
48
49
50
51
52
53
54
55
| Позиция на иллюстрации | Заводской номер детали | Название детали | |
|---|---|---|---|
| 1 | ЭО-3322А.04.08.003 | Штуцер | |
| 2 | ЭО-3322А.04.08.013 | Стекло смотровое | |
| 3 | ЭО-3322А.04.08.014 | Крышка | |
| 4 | 7805.М6-6gх14.58.019 | Болт | |
| 5 | 6402.6.65Г.019 | Шайба | |
| 6 | 9833.090-100-58-2-2 | Кольцо | |
| 7 | ЭО-3323.01.84.300. | Фильтр встроенный | |
| 8 | 11371.12.01.019 | Шайба | |
| 9 | 6402.12.65Г.019 | Шайба | |
| 10 | ЭО-3323А.08.84.100 | Бак | |
| 11 | ЭО-3323.01.84.006 | Прокладка | |
| 12 | 7808.М12-8gх30.58.019 | Болт | |
| 13 | 9833.063-068-30-2-2 | Кольцо | |
| 14 | СП-71.070.001 | Гайка накидная | |
| 15 | СП-71.070.002 | Заглушка | |
| 16 | СП-71А.222.2.040 | Фланец | |
| 17 | ЭО-3323А.08.08.012 | Рукав 40х51,5-1,6 (L=170мм) | |
| 18 | ЭО-3322А.04.00.003 | Бонка | |
| 19 | ЭО-3322А.04.00.213 | Болт | |
| 20 | ЭО-3322А.04.31.005 | Хомут | |
| 21 | ЭО-3323.08.08.003 | Угольник | |
| 22 | 314-02-80.08.402 | Корпус клапанов | |
| 23 | 320.12.00.009 | Пружина | |
| 24 | 314-02-80.08.204 | Прокладка | |
| 25 | 314-02-80.08.203 | Прокладка | |
| 26 | Полотно иглопробивное | Полотно иглопробивное (40х250мм,р=160-200г/м2) | |
| 27 | 314-02-80.08.405 | Крышка | |
| 28 | 314-02-80.08.420 | Корпус | |
| 29 | 9833.070-080-58-2-2 | Кольцо | |
| 30 | 314-02-80.08.207 | Пружина | |
| 31 | 314-02-80.08.403 | Клапан | |
| 32 | 314-02-80.08.202 | Клапан | |
| 33 | 23.01.84.320 | Крышка | |
| 34 | 9833.190-195-36-2-2 | Кольцо | |
| 35 | ТУ55.11224.00.55Р-661А-1-06 | Элемент фильтрующий | |
| 36 | 23.01.84.340 | Шайба промежуточная | |
| 37 | 23.01.84.302 | Шайба | |
| 38 | 23.01.84.305 | Пружина | |
| 39 | 23.01.84.390 | Корпус | |
| 40 | 23.01.84.301 | Кольцо уплотнительное | |
| 41 | 23.01.84.303 | Кольцо уплотнительное | |
| 42 | 23.01.84.321 | Крышка | |
| 43 | ЭО-3322А.24.01.014 | Заглушка | |
| 44 | 9833.012-016-25-2-2 | Кольцо | |
| 45 | 23.01.84.327 | Пружина | |
| 46 | 23.01.84.326 | Шайба регулировочная | |
| 47 | 23.01.84.325 | Клапан | |
| 48 | 23.01.84.324 | Кольцо | |
| 49 | 23.01.84.323 | Седло | |
| 50 | 9833.045-050-30-2-2 | Кольцо | |
| 51 | 23.01.84.322 | Корпус | |
| 52 | 23.01.84.350 | Крышка | |
| 53 | 23.01.84.331 | Кольцо | |
| 54 | 23.01.84.332 | Шайба | |
| 55 | 23.01.84.333 | Клапан |
Содержащиеся в справочниках-каталогах запасные части и детали не предлагаются к продаже, а носят исключительно информационный характер