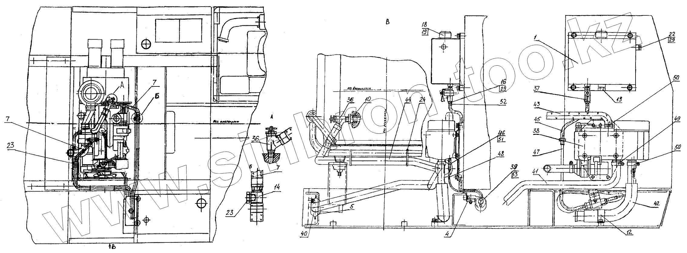
Каталог запасных частей к технике: ТВЭКС ЕК-18-40. 318-40-87.60.000 Установка подогревателя
1
4
7
7
7
10
12
14
16
18
18
19
19
22
23
23
24
24
29
29
36
36
37
38
39
40
41
42
43
44
45
46
47
48
49
50
50
51
52
53
| Позиция на иллюстрации | Заводской номер детали | Название детали | |
|---|---|---|---|
| 1 | 710-00-87.50.100 | Бачок топливный | |
| 4 | 314-02-87.60.001 | Кронштейн | |
| 7 | 314-02-87.60.002 | Рукав 16-1,0-ВГ ТУ 381051731-87 L=600 мм | |
| 10 | 314-02-87.50.001 | Переходник | |
| 12 | 225-10-87.25.010 | Скоба | |
| 13 | ЭО-3322А.09.40.004 | Пробка коническая | |
| 14 | 225-10-87.25.013 | Тройник | |
| 16 | 318-16-87.00.002 | Ниппель | |
| 18 | 16.03.14.001 | Крышка | |
| 18 | 16.03.14.003 | Крышка | |
| 19 | 16.03.14.002 | Прокладка | |
| 19 | 16.03.14.002-10 | Прокладка | |
| 22 | ЭО-3322А.24.01.014 | Заглушка | |
| 23 | ЭО-3322А.09.40.004 | Пробка коническая | |
| 24 | Э302-1-1600-14 | Хомутик | |
| 24 | 25.1801.02.00 | Хомут 5х200 | |
| 29 | 23358.14М3 | Прокладка | |
| 36 | ОСТ37-001-240.ВС-11 | Кран | |
| 37 | ОСТ37.001-240.ПП6-1 | Кран ОСТ37.001-240.ПП6-1 | |
| 38 | 25.2081.01.00.00 | Жидкостный подогреватель с блоком управления, водяным насосом, кронштейном HYDRONIC 10 (12 В) | |
| 39 | 25.1894.45.00.00 | Дозировочный насос со встроенным топливным фильтром | |
| 40 | 25.1806.80.01.00 | Глушитель | |
| 41 | 25.1816.80.08.00 | Гибкий газоотводящий шланг диаметром 30 мм | |
| 42 | 25.1786.80.02.00 | Глушитель на входе | |
| 43 | 20.1673.80.00.01 | Шланг водяной | |
| 44 | 20.1673.80.00.03 | Шланг водяной | |
| 45 | 360.75.350 | Шланг топливный L=500 мм | |
| 46 | 360.75.300 | Шланг топливный L=100 мм | |
| 47 | 090.31.101 | Шланг топливный L=700 мм | |
| 48 | 090.31.117 | Трубка 4х1 | |
| 49 | 152.10.061 | Хомуты для глушителя | |
| 50 | 10.2065.02.00.32 | Хомуты для водяных шлангов и глушителя на входе | |
| 51 | 10.2063.00.90.98 | Хомуты для топливных шлангов | |
| 52 | 10.2063.01.10.98 | Хомуты для топливных шлангов | |
| 53 | 22.1000.50.06.00 | Скоба крепления дозировочного насоса |
Содержащиеся в справочниках-каталогах запасные части и детали не предлагаются к продаже, а носят исключительно информационный характер