Вернуться на главную
Поиск
Каталоги запчастей к технике
Спецтехника
ТВЭКС
ЕК-18-20
314-02-71.00.450 Кран буксировочный
Каталог запасных частей к технике: ТВЭКС ЕК-18-20. 314-02-71.00.450 Кран буксировочный
zoom-in
zoom-out
enlarge
shrink
circle-right
circle-left
file-text2
info
cart
Тип техники
Не выбрано
Легковые автомобили
Грузовые автомобили и прицепы
Автобусы
Сельхозтехника
Спецтехника
Двигатели
Мототехника
Марка
Не выбрано
Ammann
BOMAG
CARMIX
CASE IH
Changlin
ChengGong
Dimex
Doosan
DYNAPAC
Foton
HAMM
Hidromek
Hitachi
Hyundai
JCB
JLG
John Deere
Komatsu
LIEBHERR
LiuGong
Lonking (LongGong)
Luneng
MANITOU
Mitsuber
New Holland
PENGPU
RM-Terex
SANY
SDLG
SEM
Shantui
Shehwa HBXG
Soosan
TIGARBO
VOGELE
Volvo
WAY
WIRTGEN
XCMG
XGMA
Xiamen
YTO
Yuchai
Zoomlion
Автокран
АЗСМ
Алтайлесмаш
Амкодор
АОМЗ
Атек
АТЗ
Балканкар Рекорд
БелАЗ
Беловеж
Борекс
Брянский Арсенал
Булат
ВЭКС
ГАЗ
Геомаш
Гидромаш
Донекс
Дормаш
Дормашина
Дорэлектромаш
ДЭЗ
ЕлАЗ
ЗЗГТ
Ижнефтемаш
Канаш-электрокар
КЗКТ
ККЗ
Клевер
Клинцовский автокрановый завод
КМЗ
КМЗ 1 Мая
Ковровец
Коммаш
Кранэкс
КЭЗ
КЭМЗ
ЛЗА
МАЗ
МЗИК
МЗКМ
МЗКТ
Михневский РМЗ
МоАЗ
Мозырский МЗ
МТЗ
ОЗП
Онежец
ПАО "ТЗА"
ППС Детва
Промтрактор
ПТЗ
Раскат
СпецАгрегат
ТВЭКС
ТТМ
УВЗ
Угличмаш
УЗТМ
ХТЗ
ЧЗКМ
ЧСДМ
ЧТЗ
ЭКСКО
ЭКСМАШ
ЮрМаш
Модель
Не выбрано
5846ТМ (ЕА17) (2010)
E145W (ЕК-14)
E145W (ЕК-14) (2005)
E185W (ЕК-18)
E185W (ЕК-18) (2005)
E185W (ЕК-18) (2008)
E225LC (2022)
E225NLC (2022)
TLB 825 (2016)
TLB 825 (2017)
TLB 825 (2019)
TLB 935 (2020)
TLB 935 (2021)
TVEX-140W (2015)
TVEX-180i (2015)
TVEX-180W (2015)
TX220LC (2019)
TX220NLC (2019)
WX200 (2019)
WХ-200 (2015)
WХ-200 (2017) (2017)
ВП-03 (2005)
ВП-05
ВП-05 (2015)
ВП-05 (2005) (2005)
ВП-05 (вариант) (2005)
Е200СН (2018)
Е245СН (2018)
ЕК-12 (2005)
ЕК-12 (2007) (2007)
ЕК-12 (2013) (2013)
ЕК-14-20 (2013)
ЕК-14-90 (2011)
ЕК-14-90 (2015)
ЕК-18-20 (2010)
ЕК-18-40 (2005)
ЕК-18-45-60 (2008)
ЕК-18-90 (2012)
ЕК-18-90 (2015)
ЕК-20-20 (2010)
ЕТ-16 (2005)
ЕТ-16-20 (2007)
ЕТ-18-20 (2005)
ЕТ-20-20 (2012)
ЕТ-25
ЕТ-25-20 (2007)
ЕТ-26i (2010)
ЕТ-26i (2015)
ТХ-210 (2015)
ТХ-210 (2017)
ТХ-220 (2017)
ТХ-270 / 300 (2017)
ТЭП-18 (2012)
ЭО-3122
ЭО-3323
ЭО-3323А (2002)
ЭО-3326 (2000)
ЭОВ-3521 (2007)
ЭОВ-3521М-1 (2007)
ЭОВ-3521М-1 (2017)
ЭОВ-3521М-1 (2017)
Схема
>
Не выбрано
Перечень сборочных единиц
318-20-00.00.000 Экскаватор пневмоколесный гидравлический, 318-30-00.00.000 («Bosch-Rexroth»)
318-20-20.00.000 Платформа поворотная с механизмами, 318-30-20.00.000 («Bosch-Rexroth»)
314-02-03.00.000, 314-02-03.00.000-30 Установка силовая
314-02-03.09.000 Установка насоса, 314-02-03.0-.000-30 («Bosch-Rexroth»)
312-20-02.00.000 Кабина
312-20-02.00.000 Кабина
312-20-02.50.000 Установка люка
312-20-02.40.000 Дверь
312-20-02.42.000 Установка замков
312-20-02.80.000, 312-20-02.80.000-10, 312-20-02.80.000-20 Установка зеркала заднего вида
312-20-02.80.000 Рамка верхняя
312-20-86.90.000-50 Управление экскаватором
312-20-86.90.000-50 Управление экскаватором
005-04-90.00.000 Сиденье (до 01.06.2005)
13.01.03.010 Установка педали тормоза хода
312-20-86.90.100 Колонка рулевая
312-20-86.90.100 Колонка рулевая
312-20-86.90.150 Установка руля
312-20-86.90.400-50 Пульт правый
312-20-86.90.200-50 Пульт левый
ЭО-3322Б.03.30.000 Механизм поворота 310.3.112.00, ЭО-3322Б.03.30.000-02 Механизм поворота 410.112
318-30-80.00.000 Гидрооборудование на поворотной платформе (Bosch-Rexroth)
314-02-80.00.000-10 Гидрооборудование на поворотной платформе (ПСМ)
314-20-80.01.000-03 Трубопроводы на поворотной платформе (ПСМ)
314-20-80.01.000-03 Трубопроводы на поворотной платформе (ПСМ)
318-30-80.01.000-10 Трубопроводы на поворотной платформе (Bosch-Rexroth)
318-30-80.01.000-10 Трубопроводы на поворотной платформе (Bosch-Rexroth)
ЭО-3323А.08.07.110-10 (60 атм.) Клапан предохранительный, ЭО-3323А.08.07.110-20 (35 атм.) Клапан подпорный
520.35.00.000 Блок плавающего положения стрелы
314-02-80.01.500 Кран
520.70.00.000-10 Блок переливных клапанов
314-02-520.00-10 Гидрораспределитель
314-02-520.00-10 Гидрораспределитель
314-02-520.00-10 Гидрораспределитель
520.32.00.000-20 Блок клапанов «ИЛИ»
520.20.01.000 Клапан подпиточный
314-02-80.03.650-20 Установка маслоохладительная (с г/м 310.12), 314-02-80.03.650 (с г/м ДЭЦ2.957)
314-20-80.04.000 Гидроуправление на поворотной платформе (ПСМ), 314-20-80.04.000-10 («Bosch-Rexroth»)
314-20-80.04.000 Гидроуправление на поворотной платформе (ПСМ), 314-20-80.04.000-10 («Bosch-Rexroth»)
314-20-80.04.000 Гидроуправление на поворотной платформе (ПСМ), 314-20-80.04.000-10 («Bosch-Rexroth»)
ЭО-3323А.07.21.010 Гидрораспределитель
ЭО-3323А.07.15.020 Клапан «ИЛИ»
13.80.04.500 Блок управления
13.80.04.820 Блок управления
13.80.04.920-20 Блок управления
13.80.04.940 Блок управления
64002.10.000 Пневмогидроаккумулятор с гидроклапанами
314-02-80.12.000-10 Бак гидравлический (ПСМ), 314-02-80.12.000-20 («Bosch-Rexroth»)
314-02-80.12.000-10 Бак гидравлический (ПСМ), 314-02-80.12.000-20 («Bosch-Rexroth»)
314-02-81.10.000 Пневмоуправление на поворотной платформе
314-20-88.27.000 Электрооборудование, 314-20-88.27.000-30 (с подогревателем HYDRONIC)
314-20-88.27.000 Электрооборудование, 314-20-88.27.000-30 (с подогревателем HYDRONIC)
314-20-88.27.000 Электрооборудование, 314-20-88.27.000-30 (с подогревателем HYDRONIC)
314-20-88.27.000 Электрооборудование, 314-20-88.27.000-30 (с подогревателем HYDRONIC)
318-14-21.00.000 Рабочее оборудование обратной лопаты
318-14-21.00.000 Рабочее оборудование обратной лопаты
318-14-21.95.000-10 Трубопроводы рабочего оборудования
318-00-21.92.000-13 Гидроцилиндр рукояти
318-00-21.91.000-13 Гидроцилиндр стрелы
318-14-21.07.000 Ковш обратной лопаты
312-04-50.00.000-18 Ход пневмоколесный
312-04-50.00.000-18 Ход пневмоколесный
312-04-50.00.000-18 Ход пневмоколесный
312-04-50.70.000 Установка отвала
314-02-70.40.000 Управление поворотом колес
318-02-72.00.000 Гидрооборудование на ходовой раме, 318-30-72.00.000 (с гидравликой «Bosch-Rexroth»)
318-02-72.00.000 Гидрооборудование на ходовой раме, 318-30-72.00.000 (с гидравликой «Bosch-Rexroth»)
318-02-72.00.000 Гидрооборудование на ходовой раме, 318-30-72.00.000 (с гидравликой «Bosch-Rexroth»)
13.20.69.000 (100х63х250) Гидроцилиндр опоры-отвала (с уплотнениями «Элконт»), 13.20.69.000-11 (с уплотнениями «ГидраПак»)
13.71.80.670-10/680-10 Гидрозамок двухсторонний
ЭО-3322Б.60.05.000 Клапан пневмогидравлический
ЭО-3323А.71.82.000-01 (125х80х400) Гидроцилиндр выносных опор (с уплотнениями «Элконт»), ЭО-3323А.71.82.000-11 (с уплотнениями «ГидраПак»)
314-02-71.00.850 Коллектор центральный
ЭО-3323А.71.80.300-10 Цилиндр поворота колес правый, ЭО-3323А.71.80.400-10 левый
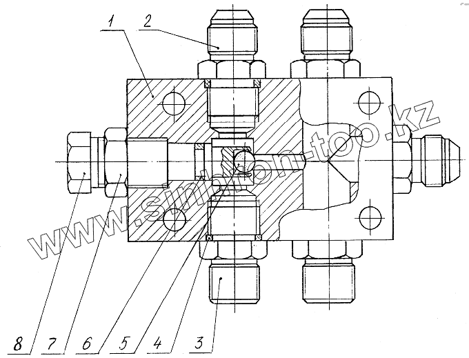
314-02-71.00.450 Кран буксировочный
У4620.41.00.000 Гидроклапан противообгонный
318-14-82.00.000 Пневмоуправление на ходовой раме
ЕК-18.20.90.000 Мост приводной неуправляемый
ЕК-18.20.90.000 Мост приводной неуправляемый
ЭО-3323.20.31.000 Передача главная
318-14-72.51.000 Коробка перемены передач
318-14-72.51.000 Коробка перемены передач
318-14-72.51.000 Коробка перемены передач
ЕК-18.20.30.000 Мост приводной управляемый
ЕК-18.20.30.000 Мост приводной управляемый
ЕК-18.20.30.000 Мост приводной управляемый
314-02-87.13.000 Установка отопителя
314-02-87.60.000 Установка подогревателя
314-02-87.60.000 Установка подогревателя
314-60-87.60.000 Установка подогревателя и отопителя
314-02-03.07.000 Установка радиаторов
314-02-03.08.100 Установка глушителя
314-02-03.02.000 Управление двигателем
314-60-04.00.000 Установка силовая («Bosch-Rexroth», Perkins 1104C-44TA)
308-20-03.97.000 Установка насоса НШ 10
308-20-03.97.000-10 Установка насоса НШ 10
314-60-04.04.000 Установка радиаторов
312-40-04.02.000 Установка компрессора
314-60-04.06.000 Управление двигателем
314-60-04.03.000 Установка глушителя
314-60-04.05.000 Установка воздухоочистителя
312-40-04.01.000-20 Установка насоса
1
2
3
4
5
6
7
8
Позиция на иллюстрации
Заводской номер детали
Название детали
1
314-02-71.00.451
Корпус
2
ЭО-3323.07.13.005
Штуцер
3
ЭО-3323.20.83.012
Штуцер
4
9833.018-022-25-2-3
Кольцо
5
3722.Б10-100
Шарик
6
9833.012-016-25-2-3
Кольцо
7
ЭО-3322Д.23.02.003
Гайка
8
ЭО-3322А.04.31.611-10
Винт запорный
Содержащиеся в справочниках-каталогах запасные части и детали не предлагаются к продаже, а носят исключительно информационный характер
Дополнительная информация
×
Название:
Номер:
Примечание: