Вернуться на главную
Поиск
Каталоги запчастей к технике
Спецтехника
ТВЭКС
ЕК-14-20
314-02-71.00.450 Кран буксировочный
Каталог запасных частей к технике: ТВЭКС ЕК-14-20. 314-02-71.00.450 Кран буксировочный
zoom-in
zoom-out
enlarge
shrink
circle-right
circle-left
file-text2
info
cart
Тип техники
Не выбрано
Легковые автомобили
Грузовые автомобили и прицепы
Автобусы
Сельхозтехника
Спецтехника
Двигатели
Мототехника
Марка
Не выбрано
Ammann
BOMAG
CARMIX
CASE IH
Changlin
ChengGong
Dimex
Doosan
DYNAPAC
Foton
HAMM
Hidromek
Hitachi
Hyundai
JCB
JLG
John Deere
Komatsu
LIEBHERR
LiuGong
Lonking (LongGong)
Luneng
MANITOU
Mitsuber
New Holland
PENGPU
RM-Terex
SANY
SDLG
SEM
Shantui
Shehwa HBXG
Soosan
TIGARBO
VOGELE
Volvo
WAY
WIRTGEN
XCMG
XGMA
Xiamen
YTO
Yuchai
Zoomlion
Автокран
АЗСМ
Алтайлесмаш
Амкодор
АОМЗ
Атек
АТЗ
Балканкар Рекорд
БелАЗ
Беловеж
Борекс
Брянский Арсенал
Булат
ВЭКС
ГАЗ
Геомаш
Гидромаш
Донекс
Дормаш
Дормашина
Дорэлектромаш
ДЭЗ
ЕлАЗ
ЗЗГТ
Ижнефтемаш
Канаш-электрокар
КЗКТ
ККЗ
Клевер
Клинцовский автокрановый завод
КМЗ
КМЗ 1 Мая
Ковровец
Коммаш
Кранэкс
КЭЗ
КЭМЗ
ЛЗА
МАЗ
МЗИК
МЗКМ
МЗКТ
Михневский РМЗ
МоАЗ
Мозырский МЗ
МТЗ
ОЗП
Онежец
ПАО "ТЗА"
ППС Детва
Промтрактор
ПТЗ
Раскат
СпецАгрегат
ТВЭКС
ТТМ
УВЗ
Угличмаш
УЗТМ
ХТЗ
ЧЗКМ
ЧСДМ
ЧТЗ
ЭКСКО
ЭКСМАШ
ЮрМаш
Модель
Не выбрано
5846ТМ (ЕА17) (2010)
E145W (ЕК-14)
E145W (ЕК-14) (2005)
E185W (ЕК-18)
E185W (ЕК-18) (2005)
E185W (ЕК-18) (2008)
E225LC (2022)
E225NLC (2022)
TLB 825 (2016)
TLB 825 (2017)
TLB 825 (2019)
TLB 935 (2020)
TLB 935 (2021)
TVEX-140W (2015)
TVEX-180i (2015)
TVEX-180W (2015)
TX220LC (2019)
TX220NLC (2019)
WX200 (2019)
WХ-200 (2015)
WХ-200 (2017) (2017)
ВП-03 (2005)
ВП-05
ВП-05 (2015)
ВП-05 (2005) (2005)
ВП-05 (вариант) (2005)
Е200СН (2018)
Е245СН (2018)
ЕК-12 (2005)
ЕК-12 (2007) (2007)
ЕК-12 (2013) (2013)
ЕК-14-20 (2013)
ЕК-14-90 (2011)
ЕК-14-90 (2015)
ЕК-18-20 (2010)
ЕК-18-40 (2005)
ЕК-18-45-60 (2008)
ЕК-18-90 (2012)
ЕК-18-90 (2015)
ЕК-20-20 (2010)
ЕТ-16 (2005)
ЕТ-16-20 (2007)
ЕТ-18-20 (2005)
ЕТ-20-20 (2012)
ЕТ-25
ЕТ-25-20 (2007)
ЕТ-26i (2010)
ЕТ-26i (2015)
ТХ-210 (2015)
ТХ-210 (2017)
ТХ-220 (2017)
ТХ-270 / 300 (2017)
ТЭП-18 (2012)
ЭО-3122
ЭО-3323
ЭО-3323А (2002)
ЭО-3326 (2000)
ЭОВ-3521 (2007)
ЭОВ-3521М-1 (2007)
ЭОВ-3521М-1 (2017)
ЭОВ-3521М-1 (2017)
Схема
>
Не выбрано
Перечень сборочных единиц
314-20-00.00.000 Экскаватор пневмоколесный гидравлический, (314-30-00.00.000 с гидравликой «Bosch-Rexroth»)
314-20-20.00.000-20 Платформа поворотная с механизмами (314-20-20.00.000-30 с гидравликой «Bosch-Rexroth»)
314-02-03.00.000 Установка силовая (314-02-03.00.000-30 с гидравликой «Bosch-Rexroth»)
314-02-03.09.000 Установка насоса (314-02-03.0-.000-30 с гидравликой «Bosch-Rexroth»)
312-20-02.00.000 Кабина
312-20-02.00.000 Кабина
312-20-02.50.000 Установка люка
312-20-02.40.000 Дверь
312-20-02.42.000 Установка замков
312-20-02.80.000, 312-20-02.80.000-10, 312-20-02.80.000-2 Установка зеркала заднего вида
312-20-02.80.000 Рамка верхняя
312-20-86.90.000-50 Управление экскаватором
312-20-86.90.000-50 Управление экскаватором
312-20-86.90.000-50 Управление экскаватором
005-04-90.00.000 Сиденье (до 01.06.2005 г.)
13.01.03.010 Установка педали тормоза хода
312-20-86.90.100 Колонка рулевая
312-20-86.90.100 Колонка рулевая
312-20-86.90.150 Установка руля
312-20-86.90.400-50 Пульт правый
312-20-86.90.200-50 Пульт левый
ЕК-14.07.00.000-02 Механизм поворота
318-30-80.00.000-10 Гидрооборудование на поворотной платформе (с гидравликой «Bosch-Rexroth»)
314-02-80.00.000 Гидрооборудование на поворотной платформе (с гидравликой ПСМ)
314-20-80.01.000-01 Трубопроводы на поворотной платформе (с гидравликой ПСМ)
314-20-80.01.000-01 Трубопроводы на поворотной платформе (с гидравликой ПСМ)
318-30-80.01.000 Трубопроводы на поворотной платформе (с гидравликой «Bosch-Rexroth»)
318-30-80.01.000 Трубопроводы на поворотной платформе (с гидравликой «Bosch-Rexroth»)
ЭО-3323А.08.07.110-10 (60 атм.) Клапан предохранительный, ЭО-3323А.08.07.110-20 (35 атм.)
520.35.00.000 Блок плавающего положения стрелы
314-02-80.01.500 Кран
312-04-80.01.500 Блок клапанов
314-02-520.00-10 ГР Гидрораспределитель
314-02-520.00-10 ГР Гидрораспределитель
314-02-520.00-10 ГР Гидрораспределитель
520.32.00.000-20 Блок клапанов «ИЛИ»
520.20.01.000 Клапан подпиточный
314-02-80.03.650-20 Установка маслоохладительная (с г/м 310.12), 314-02-80.03.650 Установка маслоохладительная (с г/м ДЭЦ2.957)
Гидроуправление на поворотной платформе (314-20-80.04.000 с гидравликой ПСМ), (314-20-80.04.000-10 с гидравликой «Bosch-Rexroth»)
Гидроуправление на поворотной платформе (314-20-80.04.000 с гидравликой ПСМ), (314-20-80.04.000-10 с гидравликой «Bosch-Rexroth»)
Гидроуправление на поворотной платформе (монтажная схема) (314-20-80.04.000 с гидравликой ПСМ), (314-20-80.04.000-10 с гидравликой «Bosch-Rexroth»)
ЭО-3323А.07.21.010 Гидрораспределитель
ЭО-3323А.07.15.020 Клапан «ИЛИ»
13.80.04.500 Блок управления
13.80.04.820 Блок управления
13.80.04.920-20 Блок управления
13.80.04.940 Блок управления
64002.10.000 Пневмогидроаккумулятор с гидроклапанами
Бак гидравлический (314-02-80.12.000-10 гидравлика ПСМ), (314-02-80.12.000-20 гидравлика «Bosch-Rexroth»)
314-02-81.10.000 Пневмоуправление на поворотной платформе
Электрооборудование 314-20-88.27.000, 314-20-88.27.000-30 (с подогревателем HYDRONIC)
Электрооборудование 314-20-88.27.000, 314-20-88.27.000-30 (с подогревателем HYDRONIC)
Электрооборудование 314-20-88.27.000, 314-20-88.27.000-30 (с подогревателем HYDRONIC)
Электрооборудование 314-20-88.27.000, 314-20-88.27.000-30 (с подогревателем HYDRONIC)
314-03-23.00.000 Рабочее оборудование обратной лопаты
314-03-23.00.000 Рабочее оборудование обратной лопаты
314-02-23.80.000-10 Трубопроводы рабочего оборудования
125-90-11.01.000 (125х90х1100) Гидроцилиндр рукояти (с уплотнениями «Элконт»), 125-90-11.01.000-11 (125х90х1100) (с уплотнениями «ГидраПак»)
313-00-23.94.000 Гидроцилиндр ковша (с уплотнениями «Элконт»), 313-00-23.94.000-11 (с уплотнениями «ГидраПак»), 313-00-23.95.000-10 Гидроцилиндр стрелы (с уплотнениями «Элконт»), 313-00-23.95.000-11 (с уплотнениями «ГидраПак»)
314-03-23.21.100 Ковш обратной лопаты
312-04-50.00.000-14 Ход пневмоколесный
312-04-50.00.000-14 Ход пневмоколесный
312-04-50.00.000-14 Ход пневмоколесный
312-04-50.70.000 Установка отвала
314-02-70.40.000 Управление поворотом колес
314-02-71.00.000 Гидрооборудование на ходовой раме, (314-30-72.00.000 с гидравликой «Bosch-Rexroth»)
314-02-71.00.000 Гидрооборудование на ходовой раме, (314-30-72.00.000 с гидравликой «Bosch-Rexroth»)
314-02-71.00.000 Гидрооборудование на ходовой раме, (314-30-72.00.000 с гидравликой «Bosch-Rexroth»)
13.20.69.000 (100х63х250) Гидроцилиндр опоры-отвала (с уплотнениями «Элконт»), 13.20.69.000-11 (100х63х250) (с уплотнениями «ГидраПак»)
13.71.80.670-10/680-10 Гидрозамок двухсторонний
ЭО-3322Б.60.05.000 Клапан пневмогидравлический
ЭО-3323А.71.82.000-01 (125х80х400) Гидроцилиндр выносных опор (с уплотнениями «Элконт»), ЭО-3323А.71.82.000-11 (125х80х400)
314-02-71.00.850 Коллектор центральный
ЭО-3323А.71.80.300-10 Цилиндр поворота колес правый, ЭО-3323А.71.80.400-10 левый
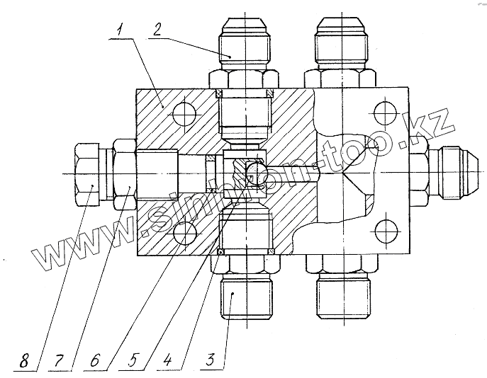
314-02-71.00.450 Кран буксировочный
У4620.41.00.000 Гидроклапан противообгонный
314-02-82.00.000 Пневмоуправление на ходовой раме
ЭО-3323.20.90.000 Мост приводной неуправляемый
ЭО-3323.20.90.000 Мост приводной неуправляемый
ЭО-3323.20.31.000 Передача главная
314-02-72.51.000 Коробка перемены передач
314-02-72.51.000 Коробка перемены передач
314-02-72.51.000 Коробка перемены передач
ЭО-3323.20.30.000 Мост приводной управляемый
ЭО-3323.20.30.000 Мост приводной управляемый
ЭО-3323.20.30.000 Мост приводной управляемый
314-02-87.13.000 Установка отопителя
314-60-87.60.000 Установка подогревателя и отопителя
314-60-87.60.000 Установка подогревателя и отопителя
314-02-87.60.000 Установка подогревателя
314-02-87.60.000 Установка подогревателя
314-02-03.07.000 Установка радиаторов
314-60-04.04.000 Установка радиаторов
314-02-03.08.100 Установка глушителя
314-60-04.03.000 Установка глушителя
314-02-03.02.000 Управление двигателем
314-60-04.06.000 Управление двигателем
314-60-04.00.000 Установка силовая (гидроаппараты «Bosch-Rexroth», двигатель Perkins 1104C-44TA)
308-20-03.97.000 Установка насоса НШ 10
308-20-03.97.000-10 Установка насоса НШ 10
312-40-04.01.000-20 Установка насоса
312-40-04.02.000 Установка компрессора
314-60-04.05.000 Установка воздухоочистителя
1
2
3
4
5
6
7
8
Позиция на иллюстрации
Заводской номер детали
Название детали
1
314-02-71.00.451
Корпус
2
ЭО-3323.07.13.005
Штуцер
3
ЭО-3323.20.83.012
Штуцер
4
9833.018-022-25-2-3
Кольцо
5
3722.Б10-100
Шарик
6
9833.012-016-25-2-3
Кольцо
7
ЭО-3322Д.23.02.003
Гайка
8
ЭО-3322А.04.31.611-10
Винт запорный
Содержащиеся в справочниках-каталогах запасные части и детали не предлагаются к продаже, а носят исключительно информационный характер
Дополнительная информация
×
Название:
Номер:
Примечание: