Вернуться на главную
Поиск
Каталоги запчастей к технике
Спецтехника
ТВЭКС
ЕК-12 (2013)
ЭО-3323.07.10.010 Гидрораспределитель
Каталог запасных частей к технике: ТВЭКС ЕК-12 (2013). ЭО-3323.07.10.010 Гидрораспределитель
zoom-in
zoom-out
enlarge
shrink
circle-right
circle-left
file-text2
info
cart
Тип техники
Не выбрано
Легковые автомобили
Грузовые автомобили и прицепы
Автобусы
Сельхозтехника
Спецтехника
Двигатели
Мототехника
Марка
Не выбрано
Ammann
BOMAG
CARMIX
CASE IH
Changlin
ChengGong
Dimex
Doosan
DYNAPAC
Foton
HAMM
Hidromek
Hitachi
Hyundai
JCB
JLG
John Deere
Komatsu
LIEBHERR
LiuGong
Lonking (LongGong)
Luneng
MANITOU
Mitsuber
New Holland
PENGPU
RM-Terex
SANY
SDLG
SEM
Shantui
Shehwa HBXG
Soosan
TIGARBO
VOGELE
Volvo
WAY
WIRTGEN
XCMG
XGMA
Xiamen
YTO
Yuchai
Zoomlion
Автокран
АЗСМ
Алтайлесмаш
Амкодор
АОМЗ
Атек
АТЗ
Балканкар Рекорд
БелАЗ
Беловеж
Борекс
Брянский Арсенал
Булат
ВЭКС
ГАЗ
Геомаш
Гидромаш
Донекс
Дормаш
Дормашина
Дорэлектромаш
ДЭЗ
ЕлАЗ
ЗЗГТ
Ижнефтемаш
Канаш-электрокар
КЗКТ
ККЗ
Клевер
Клинцовский автокрановый завод
КМЗ
КМЗ 1 Мая
Ковровец
Коммаш
Кранэкс
КЭЗ
КЭМЗ
ЛЗА
МАЗ
МЗИК
МЗКМ
МЗКТ
Михневский РМЗ
МоАЗ
Мозырский МЗ
МТЗ
ОЗП
Онежец
ПАО "ТЗА"
ППС Детва
Промтрактор
ПТЗ
Раскат
СпецАгрегат
ТВЭКС
ТТМ
УВЗ
Угличмаш
УЗТМ
ХТЗ
ЧЗКМ
ЧСДМ
ЧТЗ
ЭКСКО
ЭКСМАШ
ЮрМаш
Модель
Не выбрано
5846ТМ (ЕА17) (2010)
E145W (ЕК-14)
E145W (ЕК-14) (2005)
E185W (ЕК-18)
E185W (ЕК-18) (2005)
E185W (ЕК-18) (2008)
E225LC (2022)
E225NLC (2022)
TLB 825 (2016)
TLB 825 (2017)
TLB 825 (2019)
TLB 935 (2020)
TLB 935 (2021)
TVEX-140W (2015)
TVEX-180i (2015)
TVEX-180W (2015)
TX220LC (2019)
TX220NLC (2019)
WX200 (2019)
WХ-200 (2015)
WХ-200 (2017) (2017)
ВП-03 (2005)
ВП-05
ВП-05 (2015)
ВП-05 (2005) (2005)
ВП-05 (вариант) (2005)
Е200СН (2018)
Е245СН (2018)
ЕК-12 (2005)
ЕК-12 (2007) (2007)
ЕК-12 (2013) (2013)
ЕК-14-20 (2013)
ЕК-14-90 (2011)
ЕК-14-90 (2015)
ЕК-18-20 (2010)
ЕК-18-40 (2005)
ЕК-18-45-60 (2008)
ЕК-18-90 (2012)
ЕК-18-90 (2015)
ЕК-20-20 (2010)
ЕТ-16 (2005)
ЕТ-16-20 (2007)
ЕТ-18-20 (2005)
ЕТ-20-20 (2012)
ЕТ-25
ЕТ-25-20 (2007)
ЕТ-26i (2010)
ЕТ-26i (2015)
ТХ-210 (2015)
ТХ-210 (2017)
ТХ-220 (2017)
ТХ-270 / 300 (2017)
ТЭП-18 (2012)
ЭО-3122
ЭО-3323
ЭО-3323А (2002)
ЭО-3326 (2000)
ЭОВ-3521 (2007)
ЭОВ-3521М-1 (2007)
ЭОВ-3521М-1 (2017)
ЭОВ-3521М-1 (2017)
Схема
>
Не выбрано
Базовые исполнения и модификации экскаватора ЕК-12
Перечень сборочных единиц
312-00-00.00.000 (312-10-00.00.000, 312-40-00.00.000) Модификации экскаваторов с моноблочной стрелой, с опорой-отвалом и аутригерами
312-20-00.00.000 Экскаватор пневмоколесный гидравлический с изменяемой геометрией стрелы, опорой-отвалом и стабилизаторами
312-00-20.00.000 (312-10-20.00.000, 312-20-20.00.000, 312-40-20.00.000) Платформа поворотная с механизмами
312-00-20.00.000 (312-10-20.00.000, 312-20-20.00.000, 312-40-20.00.000) Платформа поворотная с механизмами
312-04-81.20.000, 312-04-81.20.000-20 Пневмоуправление на поворотной платформе
312-04-81.20.000, 312-04-81.20.000-20 Пневмоуправление на поворотной платформе
312-04-03.51.000 (312-04-03.51.000-20) Установка силовая (с двигателем Д-243)
312-04-03.51.000 (312-04-03.51.000-20) Установка силовая (с двигателем Д-243)
314-02-03.09.000-40 (314-02-03.09.000-20) Установка насоса (с двигателем Д-243)
312-40-04.00.000 (312-40-04.00.000-10) Установка силовая (с двигателем Перкинс 1104С-44)
312-40-04.06.000 Установка насоса с муфтой Centa (с двигателем Перкинс 1104С-44) (Гидравлика Rexroth)
312-40-04.01.000 (312-40-04.01.000-10) Установка насоса (с двигателем Перкинс 1104С-44)
312-04-07.00.000 Механизм поворота
312-04-80.00.000, 312-24-80.00.000, 312-04-80.00.000-04, 312-40-80.00.000 Гидрооборудование на поворотной платформе
312-04-80.02.000, 312-04-80.02.000-10, 312-20-80.02.000-20, 312-20-80.02.000-24, 312-40-80.02.000-10 Трубопроводы на поворотной платформе
312-04-80.02.000, 312-04-80.02.000-10, 312-20-80.02.000-20, 312-20-80.02.000-24, 312-40-80.02.000-10 Трубопроводы на поворотной платформе
312-04-80.02.000, 312-04-80.02.000-10, 312-20-80.02.000-20, 312-20-80.02.000-24, 312-40-80.02.000-10 Трубопроводы на поворотной платформе
312-04-80.02.000, 312-04-80.02.000-10, 312-20-80.02.000-20, 312-20-80.02.000-24, 312-40-80.02.000-10 Трубопроводы на поворотной платформе
312-04-80.02.000, 312-04-80.02.000-10, 312-20-80.02.000-20, 312-20-80.02.000-24, 312-40-80.02.000-10 Трубопроводы на поворотной платформе
312-04-80.02.000, 312-04-80.02.000-10, 312-20-80.02.000-20, 312-20-80.02.000-24, 312-40-80.02.000-10 Трубопроводы на поворотной платформе
312-04-80.02.000, 312-04-80.02.000-10, 312-20-80.02.000-20, 312-20-80.02.000-24, 312-40-80.02.000-10 Трубопроводы на поворотной платформе
312-04-80.02.000, 312-04-80.02.000-10, 312-20-80.02.000-20, 312-20-80.02.000-24, 312-40-80.02.000-10 Трубопроводы на поворотной платформе
312-04-80.02.000, 312-04-80.02.000-10, 312-20-80.02.000-20, 312-20-80.02.000-24, 312-40-80.02.000-10 Трубопроводы на поворотной платформе
ЭО-3323А.08.07.110-20 Клапан подпорный
312-04-80.01.500 Блок клапанов
520.35.00.000 Блок плавающего положения стрелы
312-01-520.00, 312-03-520.00 Гидрораспределитель с разводкой под гидромолот, (без разводки под гидромолот)
312-01-520.00, 312-03-520.00 Гидрораспределитель с разводкой под гидромолот, (без разводки под гидромолот)
312-01-520.00, 312-03-520.00 Гидрораспределитель с разводкой под гидромолот, (без разводки под гидромолот)
520.32.00.000-20 Блок клапанов «ИЛИ»
520.20.01.000 Клапан подпиточный
312-04-80.04.000 ГЧ, 312-04-80.04.000-20 ГЧ Гидроуправление на поворотной платформе (монтажная схема)
312-04-80.04.000 ГЧ, 312-04-80.04.000-20 ГЧ Гидроуправление на поворотной платформе (монтажная схема)
312-04-80.04.000 ГЧ, 312-04-80.04.000-20 ГЧ Гидроуправление на поворотной платформе (монтажная схема)
312-04-80.04.000 ГЧ, 312-04-80.04.000-20 ГЧ Гидроуправление на поворотной платформе (монтажная схема)
312-04-80.04.000 ГЧ, 312-04-80.04.000-20 ГЧ Гидроуправление на поворотной платформе (монтажная схема)
312-04-80.04.000 ГЧ, 312-04-80.04.000-20 ГЧ Гидроуправление на поворотной платформе (монтажная схема)
312-04-80.04.000 ГЧ, 312-04-80.04.000-20 ГЧ Гидроуправление на поворотной платформе (монтажная схема)
312-04-80.04.000 ГЧ, 312-04-80.04.000-20 ГЧ Гидроуправление на поворотной платформе (монтажная схема)
312-04-80.04.000 ГЧ, 312-04-80.04.000-20 ГЧ Гидроуправление на поворотной платформе (монтажная схема)
312-04-80.04.000 ГЧ, 312-04-80.04.000-20 ГЧ Гидроуправление на поворотной платформе (монтажная схема)
13.80.04.500 Блок управления
13.80.04.820 Блок управления
13.80.04.920-20 Блок управления
13.80.04.940 Блок управления
13.80.04.960-10 Блок управления (для модификаций с изменяемой геометрией стрелы и стабилизаторами (ЕК-12-20, ЕК-12-24))
64002.10.000 Пневмогидроаккумулятор с гидроклапанами
ЭО-3323А.07.21.010 Гидрораспределитель (для модификаций с моноблочной стрелой и аутригерами (ЕК-12, ЕК-12-10, ЕК-12-40))
ЭО-3323А.07.15.020 Клапан «ИЛИ»
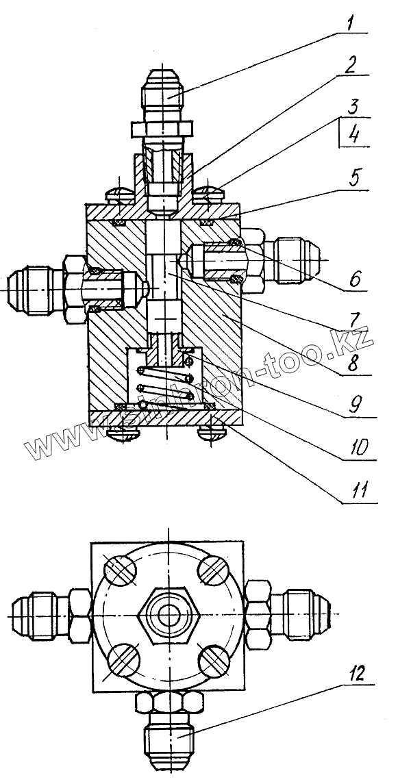
ЭО-3323.07.10.010 Гидрораспределитель
312-04-80.04.040 Блок клапанов «ИЛИ» (для модификаций с изменяемой геометрией стрелы и стабилизаторами (ЕК-12-20, ЕК-12-24))
312-04-80.09.000-10 Бак гидравлический (для модификаций с гидравликой ПСМ)
312-04-80.09.000-20 Бак гидравлический(для модификаций с гидравликой Бош-Рексрот)
005-04-80.01.020 Фильтр
312-04-80.09.500 Фильтр
РС 120-71.80.240 Клапан предохранительный
312-20-86.90.000-50, 312-20-86.90.000-40 Управление экскаватором
312-20-86.90.000-50, 312-20-86.90.000-40 Управление экскаватором
312-20-86.90.000-50, 312-20-86.90.000-40 Управление экскаватором
13.01.03.010 Установка педали тормоза
312-20-86.90.100 Колонка рулевая
312-20-86.90.100 Колонка рулевая
312-20-86.90.150 Установка руля
312-20-86.90.200-50, 312-20-86.90.200-80 Пульт левый
312-20-86.90.200-50, 312-20-86.90.200-80 Пульт левый
312-20-86.90.400-50, 312-20-86.90.400-40 Пульт правый
312-20-86.90.400-50, 312-20-86.90.400-40 Пульт правый
312-20-87.17.000 Установка отопителя
312-20-02.00.000 Кабина
312-20-02.00.000 Кабина
312-20-02.50.000 Установка люка
312-20-02.40.000 Дверь
312-20-02.42.000 Установка замков
312-20-02.80.000, 312-20-02.80.000-10, 312-20-02.80.000-20 Установка зеркала заднего вида
312-20-02.80.000 Рамка верхняя
312-20-87.18.000 Установка подогревателя
312-20-88.20.000 Электрооборудование (ЕК-12 с двигателем Д-243)
312-20-88.20.000 Электрооборудование (ЕК-12 с двигателем Д-243)
312-20-88.20.000 Электрооборудование (ЕК-12 с двигателем Д-243)
312-20-88.20.000 Электрооборудование (ЕК-12 с двигателем Д-243)
312-20-88.20.000 Э4 Схема электрическая соединений (двигателем Д-243)
312-40-88.34.000 Электрооборудование (ЕК-12 с двигателем Перкинс)
312-40-88.34.000 Электрооборудование (ЕК-12 с двигателем Перкинс)
312-40-88.34.000 Электрооборудование (ЕК-12 с двигателем Перкинс)
312-40-88.34.000 Электрооборудование (ЕК-12 с двигателем Перкинс)
312-40-88.34.000 Электрооборудование (ЕК-12 с двигателем Перкинс)
312-40-88.34.000 Э4 Схема электрическая соединений (ЕК-12 с двигателем Перкинс)
312-04-28.00.000-20 Рабочее оборудование обратной лопаты. Моноблок
312-04-28.00.000-20 Рабочее оборудование обратной лопаты. Моноблок
312-04-28.00.000 Рабочее оборудование обратной лопаты. Стрела с изменяемой геометрией
312-04-28.00.000 Рабочее оборудование обратной лопаты. Стрела с изменяемой геометрией
312-04-28.81.000-10 Трубопроводы рабочего оборудования. Моноблок
312-00-28.80.000 Трубопроводы рабочего оборудования. Стрела с изменяемой геометрией
100-63-10.02.000, Гидроцилиндр стрелы для всех модификаций с уплотнениями(«Элконт»), 100-63-10.02.000-11 («ГидраПак»), 100-63-10.02.000-12 («Элконт» с ноября 2006 года)
125-80-06.01.000-01 Гидроцилиндр сложения стрелы для модификаций с изменяемой геометрией стрелы с уплотнениями(«Элконт»), 125-80-06.01.000-11 («ГидраПак»), 125-80-06.01.000-12 («Элконт»)
110-80-11.02.000 Гидроцилиндр рукояти для всех модификаций с уплотнениями («Элконт»), 110-80-11.02.000-11 («ГидраПак»), 110-80-11.02.00-12 («Элконт» с ноября 2006 года)
412-00-73.04.000 Гидроцилиндр ковша для всех модификаций с уплотнениями («Элконт»), 412-00-73.04.000-11 («ГидраПак»), 412-00-73.04.000-12 («Элконт» с ноября 2006 года)
314-03-23.21.200 Ковш (V=0.65 м3), 312-00-28.05.100 Ковш (V=0.5 м3)
312-04-50.00.000 Ход пневмоколесный (ходовая рама с опорой-отвалом и аутригерами)
312-04-50.00.000 Ход пневмоколесный (ходовая рама с опорой-отвалом и аутригерами)
312-04-50.00.000 Ход пневмоколесный (ходовая рама с опорой-отвалом и аутригерами)
312-12-70.00.000 Ход пневмоколесный (ходовая рама с опорой-отвалом и стабилизаторами)
312-12-70.00.000 Ход пневмоколесный (ходовая рама с опорой-отвалом и стабилизаторами)
312-12-70.00.000 Ход пневмоколесный (ходовая рама с опорой-отвалом и стабилизаторами)
312-04-50.70.000 Установка отвала (ходовая рама с опорой-отвалом и аутригерами), 312-12-70.70.000 (ходовая рама с опорой-отвалом и стабилизаторами)
314-02-70.40.000 Управление поворотом колес, (ходовая рама с опорой-отвалом и аутригерами)
312-12-70.40.000 Управление поворотом колес, (ходовая рама с опорой-отвалом и стабилизаторами)
312-12-70.40.000 Управление поворотом колес, (ходовая рама с опорой-отвалом и стабилизаторами)
312-12-70.40.200 Устройство буксировочное, (ходовая рама с опорой-отвалом и стабилизаторами)
312-50.72.000 Гидрооборудование на ходовой раме для модификаций с опорой-отвалом и аутригерами (гидравлика ПСМ)
312-10-50.72.000 Гидрооборудование на ходовой раме для модификаций с опорой-отвалом и аутригерами (гидравлика Бош-Рексрот)
312-04.71.00.000 Гидрооборудование на ходовой раме для модификаций с опорой-отвалом и стабилизаторами (гидравлика ПСМ)
312-24-72.00.000 Гидрооборудование на ходовой раме для модификаций с опорой-отвалом и стабилизаторами (гидравлика Бош-Рексрот)
312-04-71.00.300 Гидроцилиндр опоры отвала правый (для всех модификаций)
312-04-71.00.400 Гидроцилиндр опоры отвала левый (для всех модификаций)
13.20.69.000 Гидроцилиндр (с уплотнениями «Элконт»), 13.20.69.000-11 (с уплотнениями «ГидраПак»)
ЭО-3323А.71.80.300-10 Гидроцилиндр поворота колес для модификаций с опорой-отвалом и аутригерами (правый), ЭО-3323А.71.80.400-10 (левый)
318-02-72.00.300 Гидроцилиндр выносных опор для модификаций с опорой-отвалом и аутригерами (правый)
318-02-72.00.400 Гидроцилиндр выносных опор для модификаций с опорой-отвалом и аутригерами (левый)
ЭО-3323А.71.82.000-01 Гидроцилиндр (с уплотнениями «Элконт»), ЭО-3323А.71.82.000-11 (с уплотнениями «ГидраПак»), ЭО-3323А.71.82.000-12 (с уплотнениями «Элконт»)
080-50-02.01.000 Гидроцилиндр рулевой для модификаций с опорой-отвалом и стабилизаторами с уплотнениями «Элконт», 080-50-02.01.000-11 (с уплотнениями «ПолиПак»), 080-50-02.01.000-12 (с уплотнениями «Элконт»)
312-12-71.01(02).000 Гидроцилиндр-стабилизатор для модификаций с опорой-отвалом и стабилизаторами (с уплотнениями «Элконт»), 312-12-71.01(02).000-11 (с уплотнениями «ПолиПак»), 312-12-71.01(02).000-11 (с уплотнениями «ПолиПак»)
13.71.80.670-10, 13.71.80.680-10 Гидрозамок двухсторонний для всех модификаций
ЭО-3322Д.60.05.000 Клапан пневмогидравлический для модификаций с опорой-отвалом и аутригерами
312-04-71.00.200 Клапан пневмогидравлический для модификаций с опорой-отвалом и стабилизаторами
314-02-71.00.900 Коллектор центральный для модификаций с опорой-отвалом и аутригерами, 314-02-71.00.500 для модификаций с опорой-отвалом и стабилизаторами
314-02-71.00.450 Кран буксировочный для всех модификаций
У4620.41.00.000 Гидроклапан противообгонный для всех модификаций
312-04-82.70.000 Пневмоуправление на ходовой раме для модификаций с опорой-отвалом и аутригерами
312-12-82.80.000 Пневмоуправление на ходовой раме для модификаций с опорой-отвалом и стабилизаторами
ЭО-3323.20.90.000 Мост приводной неуправляемый на ходовой раме с опорой-отвалом и аутригерами, 312-12-70.90.000 с опорой-отвалом и стабилизаторами
ЭО-3323.20.90.000 Мост приводной неуправляемый на ходовой раме с опорой-отвалом и аутригерами, 312-12-70.90.000 с опорой-отвалом и стабилизаторами
ЭО-3323.20.31.000, ЭО-3323.20.31.000-01 Передача главная
314-02-72.51.000-01 Коробка перемены передач для модификаций с опорой-отвалом и аутригерами, 314-02-72.51.000 с опорой-отвалом и стабилизаторами
314-02-72.51.000-01 Коробка перемены передач для модификаций с опорой-отвалом и аутригерами, 314-02-72.51.000 с опорой-отвалом и стабилизаторами
ЭО-3323.20.30.000 Мост приводной управляемый для модификаций с опорой-отвалом и аутригерами, 312-12-70.30.000 с опорой-отвалом и стабилизаторами
ЭО-3323.20.30.000 Мост приводной управляемый для модификаций с опорой-отвалом и аутригерами, 312-12-70.30.000 с опорой-отвалом и стабилизаторами
ЭО-3323.20.30.000 Мост приводной управляемый для модификаций с опорой-отвалом и аутригерами), 312-12-70.30.000 с опорой-отвалом и стабилизаторами)
ЭО-3323.20.30.000 Мост приводной управляемый для модификаций с опорой-отвалом и аутригерами, 312-12-70.30.000 с опорой-отвалом и стабилизаторами
1
2
3
4
5
6
7
8
9
10
11
12
Позиция на иллюстрации
Заводской номер детали
Название детали
1
ЭО-3322А.24.00.005
Штуцер
2
ЭО-3323.07.10.011
Крышка
3
М6х8g-12.58.019
Винт
4
6.65Г.019
Шайба
5
030-035-30-1-2
Кольцо
6
012-016-25-2-2
Кольцо
7
ЭО-3323.07.10.012
Золотник
8
ЭО-3323.07.10.013
Корпус
9
ЭО-3323.07.10.014
Тарелка
10
ЭО-3323.07.10.015-10
Пружина
11
ЭО-3323.07.10.016
Крышка
12
520.20.20.025
Штуцер
Содержащиеся в справочниках-каталогах запасные части и детали не предлагаются к продаже, а носят исключительно информационный характер
Дополнительная информация
×
Название:
Номер:
Примечание: