Вернуться на главную
Поиск
Каталоги запчастей к технике
Спецтехника
ТВЭКС
ЕК-12 (2007)
ЭО-3323.07.10.010 Гидрораспределитель
Каталог запасных частей к технике: ТВЭКС ЕК-12 (2007). ЭО-3323.07.10.010 Гидрораспределитель
zoom-in
zoom-out
enlarge
shrink
circle-right
circle-left
file-text2
info
cart
Тип техники
Не выбрано
Легковые автомобили
Грузовые автомобили и прицепы
Автобусы
Сельхозтехника
Спецтехника
Двигатели
Мототехника
Марка
Не выбрано
Ammann
BOMAG
CARMIX
CASE IH
Changlin
ChengGong
Dimex
Doosan
DYNAPAC
Foton
HAMM
Hidromek
Hitachi
Hyundai
JCB
JLG
John Deere
Komatsu
LIEBHERR
LiuGong
Lonking (LongGong)
Luneng
MANITOU
Mitsuber
New Holland
PENGPU
RM-Terex
SANY
SDLG
SEM
Shantui
Shehwa HBXG
Soosan
TIGARBO
VOGELE
Volvo
WAY
WIRTGEN
XCMG
XGMA
Xiamen
YTO
Yuchai
Zoomlion
Автокран
АЗСМ
Алтайлесмаш
Амкодор
АОМЗ
Атек
АТЗ
Балканкар Рекорд
БелАЗ
Беловеж
Борекс
Брянский Арсенал
Булат
ВЭКС
ГАЗ
Геомаш
Гидромаш
Донекс
Дормаш
Дормашина
Дорэлектромаш
ДЭЗ
ЕлАЗ
ЗЗГТ
Ижнефтемаш
Канаш-электрокар
КЗКТ
ККЗ
Клевер
Клинцовский автокрановый завод
КМЗ
КМЗ 1 Мая
Ковровец
Коммаш
Кранэкс
КЭЗ
КЭМЗ
ЛЗА
МАЗ
МЗИК
МЗКМ
МЗКТ
Михневский РМЗ
МоАЗ
Мозырский МЗ
МТЗ
ОЗП
Онежец
ПАО "ТЗА"
ППС Детва
Промтрактор
ПТЗ
Раскат
СпецАгрегат
ТВЭКС
ТТМ
УВЗ
Угличмаш
УЗТМ
ХТЗ
ЧЗКМ
ЧСДМ
ЧТЗ
ЭКСКО
ЭКСМАШ
ЮрМаш
Модель
Не выбрано
5846ТМ (ЕА17) (2010)
E145W (ЕК-14)
E145W (ЕК-14) (2005)
E185W (ЕК-18)
E185W (ЕК-18) (2005)
E185W (ЕК-18) (2008)
E225LC (2022)
E225NLC (2022)
TLB 825 (2016)
TLB 825 (2017)
TLB 825 (2019)
TLB 935 (2020)
TLB 935 (2021)
TVEX-140W (2015)
TVEX-180i (2015)
TVEX-180W (2015)
TX220LC (2019)
TX220NLC (2019)
WX200 (2019)
WХ-200 (2015)
WХ-200 (2017) (2017)
ВП-03 (2005)
ВП-05
ВП-05 (2015)
ВП-05 (2005) (2005)
ВП-05 (вариант) (2005)
Е200СН (2018)
Е245СН (2018)
ЕК-12 (2005)
ЕК-12 (2007) (2007)
ЕК-12 (2013) (2013)
ЕК-14-20 (2013)
ЕК-14-90 (2011)
ЕК-14-90 (2015)
ЕК-18-20 (2010)
ЕК-18-40 (2005)
ЕК-18-45-60 (2008)
ЕК-18-90 (2012)
ЕК-18-90 (2015)
ЕК-20-20 (2010)
ЕТ-16 (2005)
ЕТ-16-20 (2007)
ЕТ-18-20 (2005)
ЕТ-20-20 (2012)
ЕТ-25
ЕТ-25-20 (2007)
ЕТ-26i (2010)
ЕТ-26i (2015)
ТХ-210 (2015)
ТХ-210 (2017)
ТХ-220 (2017)
ТХ-270 / 300 (2017)
ТЭП-18 (2012)
ЭО-3122
ЭО-3323
ЭО-3323А (2002)
ЭО-3326 (2000)
ЭОВ-3521 (2007)
ЭОВ-3521М-1 (2007)
ЭОВ-3521М-1 (2017)
ЭОВ-3521М-1 (2017)
Схема
>
Не выбрано
312-00-00.00.000 (312-10-00.00.000, 312-40-00.00.000) Экскаватор пневмоколесный гидравлический ЕК-12 (ЕК-12-10, ЕК-12-40)
312-20-00.00.000 Экскаватор пневмоколесный гидравлический ЕК-12-20
312-00-20.00.000, 312-10-20.00.000, 312-20-20.00.000, 312-40-20.00.000 Платформа поворотная с механизмами
312-04-81.20.000, 312-04-81.20.000-20 Пневмоуправление на поворотной платформе с двигателем Д-243 (с двигателем Перкинс)
312-04-03.51.000 (312-04-03.51.000-20) Установка силовая (для модификаций ЕК-12 с двигателем Д-243)
314-02-03.09.000-40 (314-02-03.09.000-20) Установка насоса (для модификаций ЕК-12 с двигателем Д-243)
312-40-04.00.000 (312-40-04.00.000-10) Установка силовая (для модификаций ЕК-12 с двигателем Перкинс 1104С-44)
312-40-04.06.000 Установка насоса (для модификаций ЕК-12 с двигателем Перкинс 1104С-44)
312-40-04.01.000 (312-40-04.01.000-10) Установка насоса (для модификаций ЕК-12 с двигателем Перкинс 1104С-44)
312-04-07.00.000 Механизм поворота
312-04-80.00.000, 312-24-80.00.000, 312-04-80.00.000-04, 312-40-80.00.000 Гидрооборудование на поворотной платформе
312-04-80.02.000, 312-04-80.02.000-10, 312-20-80.02.000-20, 312-20-80.02.000-24, 312-40-80.02.000-10 Трубопроводы на поворотной платформе
ЭО-3323А.08.07.110-20 Клапан подпорный
312-04-80.01.500 Блок клапанов
520.35.00.000 Блок плавающего положения стрелы
312-01-520.00 Гидрораспределитель с разводкой под гидромолот, (312-03-520.00 без разводки)
520.32.00.000-20 Блок клапанов «ИЛИ»
520.20.01.000 Клапан подпиточный
312-04-80.04.000 ГЧ, 312-04-80.04.000-20 ГЧ Гидроуправление на поворотной платформе (монтажная схема)
13.80.04.500 Блок управления
13.80.04.820 Блок управления
13.80.04.920-20 Блок управления
13.80.04.940 Блок управления
13.80.04.960-10 Блок управления
64002.10.000 Пневмогидроаккумулятор с гидроклапанами (ЕК-12-20, ЕК-12-24)
ЭО-3323А.07.21.010 Гидрораспределитель (ЕК-12, ЕК-12-10, ЕК-12-40))
ЭО-3323А.07.15.020 Клапан «ИЛИ»
ЭО-3323.07.10.010 Гидрораспределитель
312-04-80.04.040 Блок клапанов «ИЛИ» (ЕК-12-20, ЕК-12-24))
312-04-80.09.000-10 Бак гидравлический (Для модификаций экскаваторов с гидравликой ПСМ)
312-04-80.09.000-20 Бак гидравлический (Для модификаций экскаваторов с гидравликой Бош-Рексрот)
005-04-80.01.020 Фильтр
312-04-80.09.500 Фильтр
РС 120-71.80.240 Клапан предохранительный
312-20-86.90.000-50, 312-20-86.90.000-40 Управление экскаватором
13.01.03.010 Установка педали тормоза хода
312-20-86.90.100 Колонка рулевая
312-20-86.90.150 Установка руля
312-20-86.90.200-50, 312-20-86.90.200-80 Пульт левый
312-20-86.90.400-50, 312-20-86.90.400-40 Пульт правый
312-20-87.17.000 Установка отопителя
312-20-02.00.000 Кабина
312-20-02.50.000 Установка люка
312-20-02.40.000 Дверь
312-20-02.42.000 Установка замков
312-20-02.80.000, 312-20-02.80.000-10, 312-20-02.80.000-20 Установка зеркала заднего вида
312-20-02.80.000 Рамка верхняя
312-20-87.18.000 Установка подогревателя
312-04-28.00.000-20 Рабочее оборудование обратной лопаты, моноблок
312-04-28.00.000 Рабочее оборудование обратной лопаты, стрела с изменяемой геометрией
312-04-28.81.000-10 Трубопроводы рабочего оборудования, моноблок
312-00-28.80.000 Трубопроводы рабочего оборудования, стрела с изменяемой геометрией
100-63-10.02.000, 100-63-10.02.000-11, 100-63-10.02.000-12 Гидроцилиндр
125-80-06.01.000-01, 125-80-06.01.000-11, 125-80-06.01.000-12 Гидроцилиндр сложения стрелы (с уплотнениями «Элконт»)
110-80-11.02.000, 110-80-11.02.000-11, 110-80-11.02.00-12 Гидроцилиндр
412-00-73.04.000, 412-00-73.04.000-11, 412-00-73.04.000-12 Гидроцилиндр
314-03-23.21.200 Ковш (V=0.65 м3), 312-00-28.05.100 Ковш (V=0.5 м3)
312-04-50.00.000 Ход пневмоколесный (ходовая рама с опорой-отвалом и аутригерами)
312-12-70.00.000 Ход пневмоколесный (ходовая рама с опорой-отвалом и стабилизаторами)
312-04-50.70.000, 312-12-70.70.000 Установка отвала (ходовая рама с аутригерами или со стабилизаторами)
314-02-70.40.000 Управление поворотом колес (ходовая рама с опорой-отвалом и аутригерами)
312-12-70.40.000 Управление поворотом колес (ходовая рама с опорой-отвалом и стабилизаторами)
312-12-70.40.200 Устройство буксировочное (на ходовой раме с опорой-отвалом и стабилизаторами)
312-50.72.000 Гидрооборудование на ходовой раме (гидравлика ПСМ, Бош-Рексрот) для модификаций ЕК-12 (с опорой-отвалом и аутригерами)
312-04.71.00.000, 312-24-72.00.000 Гидрооборудование на ходовой раме (гидравлика ПСМ, Бош-Рексрот) для модификаций ЕК 12 (с опорой-отвалом и стабилизаторами)
312-04-71.00.300, 312-04-71.00.400 Гидроцилиндр отвала правый (левый)
13.20.69.000, 13.20.69.000-11 (100х63х250) Гидроцилиндр (с уплотнениями Элконт, ГидраПак)
ЭО-3323А.71.80.300-10 Гидроцилиндр поворота колес (правый, левый), для модификаций ЕК 12 (с опорой-отвалом и аутригерами)
318-02-72.00.300 Гидроцилиндр выносных опор (правый, левый), для модификаций ЕК 12 (с опорой-отвалом и аутригерами)
ЭО-3323А.71.82.000-01 (125х80х400) Гидроцилиндр (с уплотнениями «Элконт», «ГидраПак»)
080-50-02.01.000, 080-50-02.01.000-11, 080-50-02.01.000-12 Гидроцилиндр рулевой (с уплотнениями «Элконт», «ПолиПак»)
312-12-71.01.000/312-12-71.02.000 Гидроцилиндр (с уплотнениями «Элконт», «ПолиПак») (312-12-71.01.000-11/312-12-71.02.000-11, 312-12-71.01.000-12/ 312-12-71.02.000-12)
13.71.80.670-10, 13.71.80.680-10 Гидрозамок двухсторонний
ЭО-3322Д.60.05.000 Клапан пневмогидравлический
312-04-71.00.200 Клапан пневмогидравлический
314-02-71.00.900, 314-02-71.00.500 Коллектор центральный (для модификаций ЕК 12 с опорой-отвалом и аутригерами и стабилизаторами)
314-02-71.00.450 Кран буксировочный
У4620.41.00.000 Гидроклапан противообгонный
312-04-82.70.000 Пневмоуправление на ходовой раме
312-12-82.80.000 Пневмоуправление на ходовой раме
ЭО-3323.20.30.000, 312-12-70.30.000 Мост приводной управляемый
ЭО-3323.20.90.000, 312-12-70.90.000 Мост приводной неуправляемый
ЭО-3323.20.31.000, ЭО-3323.20.31.000-01 Передача главная
314-02-72.51.000-01, 314-02-72.51.000 Коробка перемены передач
312-20-88.20.000 Электрооборудование (для модификаций ЕК-12 с двигателем Д-243)
312-20-88.20.000 Э4 Электрооборудование (для экскаваторов с двигателем Д-243). Схема электрическая соединений
312-40-88.34.000 Электрооборудование (Для модификаций ЕК-12 с двигателем “Перкинс”)
312-40-88.34.000 Э4 Электрооборудование (Для модификаций ЕК-12 с двигателем “Перкинс”). Схема электрическая соединений
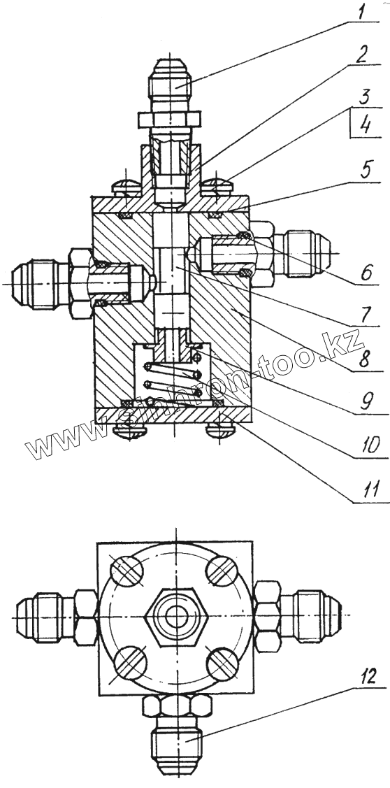
1
2
3
4
5
6
7
8
9
10
11
12
Позиция на иллюстрации
Заводской номер детали
Название детали
1
ЭО-3322А.24.00.005
Штуцер
2
ЭО-3323.07.10.011
Крышка
3
М6х8g-12.58.019
Винт
4
6.65Г.019
Шайба
5
030-035-30-1-2
Кольцо
6
012-016-25-2-2
Кольцо
7
ЭО-3323.07.10.012
Золотник
8
ЭО-3323.07.10.013
Корпус
9
ЭО-3323.07.10.014
Тарелка
10
ЭО-3323.07.10.015-10
Пружина
11
ЭО-3323.07.10.016
Крышка
12
520.20.20.025
Штуцер
Содержащиеся в справочниках-каталогах запасные части и детали не предлагаются к продаже, а носят исключительно информационный характер
Дополнительная информация
×
Название:
Номер:
Примечание: