Каталог запасных частей к технике: ТВЭКС ЕК-12. Пневмоуправление на ходовой раме
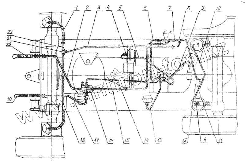
1
2
3
4
4
5
6
7
8
9
10
11
12
13
14
15
16
17
18
19
20
21
22
| Позиция на иллюстрации | Заводской номер детали | Название детали | |
|---|---|---|---|
| 1 | ЭО-3323.20.91.180 | Шланг | |
| 2 | 312-04-82.50.010 | Трубопровод | |
| 3 | 312-04-82.10.110 | Трубопровод | |
| 4 | 13.71.90.140 | Клапан быстрого оттормаживания | |
| 5 | 312-04-82.10.150 | Трубопровод | |
| 6 | 312-04-82.10.030 | Трубопровод | |
| 7 | 312-04-82.01.130 | Шланг | |
| 8 | ЭО-3322В.20.01.001 | Тройник | |
| 9 | ЭО-3323.20.91.030 | Трубопровод | |
| 10 | 312-04-82.10.120 | Трубопровод | |
| 11 | 312-04-82.10.020 | Трубопровод | |
| 12 | 312-04-82.10.050 | Трубопровод | |
| 13 | ЭО-3323.20.91.010 | Трубопровод | |
| 14 | 312-04-82.10.140 | Трубопровод | |
| 15 | 312-04-82.10.090 | Трубопровод | |
| 16 | 11.3531010-70 ТУУ3.33002321124-05-96 | Воздухораспределитель | |
| 17 | 312-04-82.10.100 | Трубопровод | |
| 18 | 312-04-82.10.060 | Трубопровод | |
| 19 | 312-04-82.50.020-10 | Шланг прицепа | |
| 20 | 312-04-82.50.020 | Шланг прицепа | |
| 21 | ЭО-3323.20.91.007 | Тройник | |
| 22 | 312-04-82.10.070 | Трубопровод |
Содержащиеся в справочниках-каталогах запасные части и детали не предлагаются к продаже, а носят исключительно информационный характер