Вернуться на главную
Поиск
Каталоги запчастей к технике
Спецтехника
ТВЭКС
ЕК-12
Коллектор центральный
Каталог запасных частей к технике: ТВЭКС ЕК-12. Коллектор центральный
zoom-in
zoom-out
enlarge
shrink
circle-right
circle-left
file-text2
info
cart
Тип техники
Не выбрано
Легковые автомобили
Грузовые автомобили и прицепы
Автобусы
Сельхозтехника
Спецтехника
Двигатели
Мототехника
Марка
Не выбрано
Ammann
BOMAG
CARMIX
CASE IH
Changlin
ChengGong
Dimex
Doosan
DYNAPAC
Foton
HAMM
Hidromek
Hitachi
Hyundai
JCB
JLG
John Deere
Komatsu
LIEBHERR
LiuGong
Lonking (LongGong)
Luneng
MANITOU
Mitsuber
New Holland
PENGPU
RM-Terex
SANY
SDLG
SEM
Shantui
Shehwa HBXG
Soosan
TIGARBO
VOGELE
Volvo
WAY
WIRTGEN
XCMG
XGMA
Xiamen
YTO
Yuchai
Zoomlion
Автокран
АЗСМ
Алтайлесмаш
Амкодор
АОМЗ
Атек
АТЗ
Балканкар Рекорд
БелАЗ
Беловеж
Борекс
Брянский Арсенал
Булат
ВЭКС
ГАЗ
Геомаш
Гидромаш
Донекс
Дормаш
Дормашина
Дорэлектромаш
ДЭЗ
ЕлАЗ
ЗЗГТ
Ижнефтемаш
Канаш-электрокар
КЗКТ
ККЗ
Клевер
Клинцовский автокрановый завод
КМЗ
КМЗ 1 Мая
Ковровец
Коммаш
Кранэкс
КЭЗ
КЭМЗ
ЛЗА
МАЗ
МЗИК
МЗКМ
МЗКТ
Михневский РМЗ
МоАЗ
Мозырский МЗ
МТЗ
ОЗП
Онежец
ПАО "ТЗА"
ППС Детва
Промтрактор
ПТЗ
Раскат
СпецАгрегат
ТВЭКС
ТТМ
УВЗ
Угличмаш
УЗТМ
ХТЗ
ЧЗКМ
ЧСДМ
ЧТЗ
ЭКСКО
ЭКСМАШ
ЮрМаш
Модель
Не выбрано
5846ТМ (ЕА17) (2010)
E145W (ЕК-14)
E145W (ЕК-14) (2005)
E185W (ЕК-18)
E185W (ЕК-18) (2005)
E185W (ЕК-18) (2008)
E225LC (2022)
E225NLC (2022)
TLB 825 (2016)
TLB 825 (2017)
TLB 825 (2019)
TLB 935 (2020)
TLB 935 (2021)
TVEX-140W (2015)
TVEX-180i (2015)
TVEX-180W (2015)
TX220LC (2019)
TX220NLC (2019)
WX200 (2019)
WХ-200 (2015)
WХ-200 (2017) (2017)
ВП-03 (2005)
ВП-05
ВП-05 (2015)
ВП-05 (2005) (2005)
ВП-05 (вариант) (2005)
Е200СН (2018)
Е245СН (2018)
ЕК-12 (2005)
ЕК-12 (2007) (2007)
ЕК-12 (2013) (2013)
ЕК-14-20 (2013)
ЕК-14-90 (2011)
ЕК-14-90 (2015)
ЕК-18-20 (2010)
ЕК-18-40 (2005)
ЕК-18-45-60 (2008)
ЕК-18-90 (2012)
ЕК-18-90 (2015)
ЕК-20-20 (2010)
ЕТ-16 (2005)
ЕТ-16-20 (2007)
ЕТ-18-20 (2005)
ЕТ-20-20 (2012)
ЕТ-25
ЕТ-25-20 (2007)
ЕТ-26i (2010)
ЕТ-26i (2015)
ТХ-210 (2015)
ТХ-210 (2017)
ТХ-220 (2017)
ТХ-270 / 300 (2017)
ТЭП-18 (2012)
ЭО-3122
ЭО-3323
ЭО-3323А (2002)
ЭО-3326 (2000)
ЭОВ-3521 (2007)
ЭОВ-3521М-1 (2007)
ЭОВ-3521М-1 (2017)
ЭОВ-3521М-1 (2017)
Схема
>
Не выбрано
Кабина
Установка люка
Пульт левый
Пульт правый
Дверь
Установка замков
Сиденье
Установка отопителя
Установка зеркала заднего вида
Рамка верхняя
Платформа поворотная с механизмами
Механизм поворота
Установка силовая
Установка подогревателя
Установка насоса
Коробка перемены передач
Мост приводной неуправляемый
Передача главная
Мост приводной управляемый
Ход пневмоколесный
Управление экскаватором
Колонка рулевая
Установка руля
Управление поворотом колес
Установка педали тормоза хода
Пневмоуправление на поворотной платформе
Пневмоуправление на ходовой раме
Электрооборудование
Электрооборудование. Схема электрическая соединений
Гидрооборудование на поворотной платформе
Трубопроводы на поворотной платформе
Клапан предохранительный
Блок клапанов
Блок «плавающего» положения стрелы
Гидрораспределитель
Блок клапанов "ИЛИ"
Клапан подпиточный
Гидроуправление на поворотной платформе
Блок управления
Блок управления
Блок управлений
Блок управления
Пневмогидроаккумулятор с гидроклапанами
Гидрораспределитель
Клапан «ИЛИ»
Гидрораспределитель
Бак гидравлический
Бак гидравлический
Фильтр
Фильтр
Клапан предохранительный
Гидрооборудование на ходовой раме
Гидроцилиндр
Гидрозамок двухсторонний
Клапан пневмогидравлический
Гидроцилиндр выносных опор
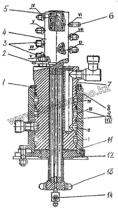
Коллектор центральный
Цилиндр поворота колес правый
Цилиндр поворота колес левый
Гидроклапан противообгонный
Кран буксировочный
Трубопроводы рабочего оборудования
Гидроцилиндр
Гидроцилиндр
Гидроцилиндр
Рабочее оборудование обратная лопата
Ковш
Установка отвала
Экскаватор пневмоколесный гидравлический ЕК-12
1
2
3
4
5
6
7
8
9
10
11
12
13
14
Позиция на иллюстрации
Заводской номер детали
Название детали
1
ЭО-3322.55.01.007
Полукольцо
2
ЭО-3323.20.85.300
Кронштейн
3
ЭО-3322А.23.03.004
Штуцер
4
ЭО-3323.20.85.003
Корпус
5
9833.037-045-46-2-3
Кольцо
6
ЭО-3323.20.85.002
Штуцер
7
313-00-73.85.200
Колонка сварная
8
313-00-73.85.100
Гильза сварная
9
Э5015.02.1900-013
Шайба защитная
10
9833.130-140-58-2-3
Кольцо
11
35015.02.1900-008
Шайба
12
ЭО-3323.20.85.400
Цапфа
13
ЭО-3322А.11.00.004
Штуцер
14
ЭО-3322А.09.60.003
Тройник
Содержащиеся в справочниках-каталогах запасные части и детали не предлагаются к продаже, а носят исключительно информационный характер
Дополнительная информация
×
Название:
Номер:
Примечание: