Каталог запасных частей к технике: ТВЭКС ЕК-12. Гидрооборудование на ходовой раме
1
1
2
2
2
2
3
4
4
5
5
6
6
7
8
9
10
11
12
13
14
14
15
15
16
16
16
17
18
19
20
21
22
23
24
25
26
27
28
29
30
31
31
32
32
33
34
35
36
37
37
38
39
40
41
42
43
44
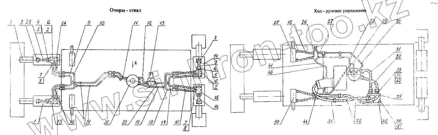
| Позиция на иллюстрации | Заводской номер детали | Название детали | |
|---|---|---|---|
| 1 | 13.20.69.000 | Гидроцилиндр | |
| 2 | 9833.038-044-36-2-3 | Кольцо | |
| 3 | 318-02-72.60.310 | Трубопровод | |
| 4 | 13.71.80.642 | Кольцо защитное | |
| 5 | 9833.020-025-30-2-3 | Кольцо | |
| 6 | 13.71.80.680 | Гидрозамок двухсторонний | |
| 7 | ЭО-3323.20.83.012 | Штуцер | |
| 8 | 9833.018-022-25-2-3 | Кольцо | |
| 9 | 314-02-71.00.610 | Трубопровод | |
| 10 | 314-02-71.00.600 | Трубопровод | |
| 11 | 312-50.72.460 | Трубопровод | |
| 12 | 312-50.72.480 | Трубопровод | |
| 13 | ЭО-3322Б.60.05.000 | Клапан пневмогидравлический | |
| 14 | ЭО-3323А.71.82.000-01 | Гидроцилиндр выносных опор | |
| 15 | 13.71.80.670 | Гидрозамок двухсторонний | |
| 16 | РВД 12.100.650 | Рукав | |
| 17 | 08.20.70.060 | Трубопровод | |
| 18 | ЭО-3323.20.83.230 | Трубопровод | |
| 19 | 312-50.72.470 | Трубопровод | |
| 20 | 314-02-71.00.680 | Трубопровод | |
| 21 | 314-02-71.00.620 | Трубопровод | |
| 22 | 314-02-71.00.550 | Коллектор центральный | |
| 23 | 312-04-71.00.310 | Трубопровод | |
| 24 | 7798.М12-8gх60.88.019 | Болт | |
| 25 | ЭО-3323А.71.80.400-20 | Цилиндр поворота колес левый | |
| 26 | 314-02-71.00.450 | Кран буксировочный | |
| 27 | ЭО-3323А.71.80.030 | Трубопровод | |
| 28 | ЭО-3323А.71.80.060 | Трубопровод | |
| 29 | 314-02-71.00.790 | Трубопровод | |
| 30 | ЭО-3323А.71.80.050 | Трубопровод | |
| 31 | РВД 20.129.850 | Рукав | |
| 31 | РВД 20.129.1250 | Рукав | |
| 32 | РВД 20.129.1250 | Рукав | |
| 32 | РВД 20.129.650 | Рукав | |
| 33 | 312-04-80.01.310 | Переходник | |
| 34 | 9833.030-035-30-2-3 | Кольцо | |
| 35 | У4620.41.00.000 | Гидроклапан противообгонный | |
| 36 | 314-02-71.00.750 | Фланец | |
| 37 | 9833.038-044-36-2-3 | Кольцо | |
| 37 | 9833.038-044-36-2-3 | Кольцо | |
| 38 | 313-00-73.80.010 | Фланец | |
| 39 | ЭО-3323А.71.80.300-20 | Цилиндр поворота колес правый | |
| 40 | ЭО-3323А.71.80.020 | Трубопровод | |
| 41 | ЭО-3323А.71.80.010 | Трубопровод | |
| 42 | 7798.М10-8gх30.88.019 | Болт | |
| 43 | 7798.М12-8gх110.88.019 | Болт | |
| 44 | 7798.М12-8gх35.88.019 | Болт |
Содержащиеся в справочниках-каталогах запасные части и детали не предлагаются к продаже, а носят исключительно информационный характер