Вернуться на главную
Поиск
Каталоги запчастей к технике
Спецтехника
ТВЭКС
E185W (ЕК-18)
Установка подогревателя 318-40-87.60.000
Каталог запасных частей к технике: ТВЭКС E185W (ЕК-18). Установка подогревателя 318-40-87.60.000
zoom-in
zoom-out
enlarge
shrink
circle-right
circle-left
file-text2
info
cart
Тип техники
Не выбрано
Легковые автомобили
Грузовые автомобили и прицепы
Автобусы
Сельхозтехника
Спецтехника
Двигатели
Мототехника
Марка
Не выбрано
Ammann
BOMAG
CARMIX
CASE IH
Changlin
ChengGong
Dimex
Doosan
DYNAPAC
Foton
HAMM
Hidromek
Hitachi
Hyundai
JCB
JLG
John Deere
Komatsu
LIEBHERR
LiuGong
Lonking (LongGong)
Luneng
MANITOU
Mitsuber
New Holland
PENGPU
RM-Terex
SANY
SDLG
SEM
Shantui
Shehwa HBXG
Soosan
TIGARBO
VOGELE
Volvo
WAY
WIRTGEN
XCMG
XGMA
Xiamen
YTO
Yuchai
Zoomlion
Автокран
АЗСМ
Алтайлесмаш
Амкодор
АОМЗ
Атек
АТЗ
Балканкар Рекорд
БелАЗ
Беловеж
Борекс
Брянский Арсенал
Булат
ВЭКС
ГАЗ
Геомаш
Гидромаш
Донекс
Дормаш
Дормашина
Дорэлектромаш
ДЭЗ
ЕлАЗ
ЗЗГТ
Ижнефтемаш
Канаш-электрокар
КЗКТ
ККЗ
Клевер
Клинцовский автокрановый завод
КМЗ
КМЗ 1 Мая
Ковровец
Коммаш
Кранэкс
КЭЗ
КЭМЗ
ЛЗА
МАЗ
МЗИК
МЗКМ
МЗКТ
Михневский РМЗ
МоАЗ
Мозырский МЗ
МТЗ
ОЗП
Онежец
ПАО "ТЗА"
ППС Детва
Промтрактор
ПТЗ
Раскат
СпецАгрегат
ТВЭКС
ТТМ
УВЗ
Угличмаш
УЗТМ
ХТЗ
ЧЗКМ
ЧСДМ
ЧТЗ
ЭКСКО
ЭКСМАШ
ЮрМаш
Модель
Не выбрано
5846ТМ (ЕА17) (2010)
E145W (ЕК-14)
E145W (ЕК-14) (2005)
E185W (ЕК-18)
E185W (ЕК-18) (2005)
E185W (ЕК-18) (2008)
E225LC (2022)
E225NLC (2022)
TLB 825 (2016)
TLB 825 (2017)
TLB 825 (2019)
TLB 935 (2020)
TLB 935 (2021)
TVEX-140W (2015)
TVEX-180i (2015)
TVEX-180W (2015)
TX220LC (2019)
TX220NLC (2019)
WX200 (2019)
WХ-200 (2015)
WХ-200 (2017) (2017)
ВП-03 (2005)
ВП-05
ВП-05 (2015)
ВП-05 (2005) (2005)
ВП-05 (вариант) (2005)
Е200СН (2018)
Е245СН (2018)
ЕК-12 (2005)
ЕК-12 (2007) (2007)
ЕК-12 (2013) (2013)
ЕК-14-20 (2013)
ЕК-14-90 (2011)
ЕК-14-90 (2015)
ЕК-18-20 (2010)
ЕК-18-40 (2005)
ЕК-18-45-60 (2008)
ЕК-18-90 (2012)
ЕК-18-90 (2015)
ЕК-20-20 (2010)
ЕТ-16 (2005)
ЕТ-16-20 (2007)
ЕТ-18-20 (2005)
ЕТ-20-20 (2012)
ЕТ-25
ЕТ-25-20 (2007)
ЕТ-26i (2010)
ЕТ-26i (2015)
ТХ-210 (2015)
ТХ-210 (2017)
ТХ-220 (2017)
ТХ-270 / 300 (2017)
ТЭП-18 (2012)
ЭО-3122
ЭО-3323
ЭО-3323А (2002)
ЭО-3326 (2000)
ЭОВ-3521 (2007)
ЭОВ-3521М-1 (2007)
ЭОВ-3521М-1 (2017)
ЭОВ-3521М-1 (2017)
Схема
>
Не выбрано
Кабина 312-20-02.00.000-10
Кабина 312-20-02.00.000-10
Рамка верхняя 312-20-02.80.000
Сиденье 005-04-90.00.000
Дверь 312-20-02.40.000
Установка замков 312-20-02.42.000
Установка отопителя 318-40-87.17.000
Установка отопителя 318-40-87.17.000
Установка зеркала заднего вида 312-20-02.80.000/-10/-20
Платформа поворотная с механизмами 318-40-20.00.000-20
Платформа поворотная с механизмами 318-40-20.00.000-20
Установка силовая 314-02-03.00.000-40
Установка глушителя 314-02-03.08.100
Установка радиаторов 314-02-03.07.000
Коробка перемены передач 318-14-72.51.000-01
Коробка перемены передач 318-14-72.51.000-01
Коробка перемены передач 318-14-72.51.000-01
Мост приводной неуправляемый ЕК-18.20.90.000
Мост приводной неуправляемый ЕК-18.20.90.000
Передача главная ЭО-3323.20.31.000
Мост приводной управляемый ЕК-18.20.30.000
Мост приводной управляемый ЕК-18.20.30.000
Мост приводной управляемый ЕК-18.20.30.000
Ход пневмоколесный 318-16-60.00.000
Ход пневмоколесный 318-16-60.00.000
Ход пневмоколесный 318-16-60.00.000
Управление экскаватором 312-20-86.90.000-30
Управление экскаватором 312-20-86.90.000-30
Управление экскаватором 312-20-86.90.000-30
Колонка рулевая 312-20-86.90.100-10
Колонка рулевая 312-20-86.90.100-10
Установка руля 312-20-86.90.150
Пульт правый 312-20-86.90.400-50
Пульт левый 312-20-86.90.200-70
Блок управления 13.80.04.800
Блок управления 13.80.04.820
Блок управления 13.80.04.940
Блок управления 13.80.04.960-10
Пневмоуправление на поворотной платформе 318-40-81.10.000
Пневмоуправление на ходовой раме 318-16-82.10.000
Управление поворотом колес 318-16-60.40.000
Установка педали тормоза хода 13.01.03.010
Электрооборудование (с подогревателем HYDRONIC) 318-40-88.05.000
Электрооборудование (с подогревателем HYDRONIC) 318-40-88.05.000
Электрооборудование (с подогревателем HYDRONIC) 318-40-88.05.000
Электрооборудование (с подогревателем HYDRONIC) 318-40-88.05.000
Гидрооборудование на поворотной платформе 318-40-80.00.000
Трубопроводы на поворотной платформе 318-40-80.01.000
Трубопроводы на поворотной платформе 318-40-80.01.000
Кран 314-02-80.01.500
Клапан подпорный ЭО-3323А.08.07.110-20, ЭО-3323А.08.07.110-10
Гидрораспределитель 318-40-520.00 ГР
Гидрораспределитель 318-40-520.00 ГР
Гидрораспределитель 318-40-520.00 ГР
Гидрораспределитель 318-40-520.00 ГР
Блок клапанов 520.32.00.000-20
Гидрораспределитель 318-40-521.00
Секция рабочая 520.20.53.100
Секция рабочая 520.20.50.300
Гидроуправление на поворотной платформе 318-40-80.04.000
Гидроуправление на поворотной платформе 318-40-80.04.000
Гидрораспределитель ЭО-3323А.07.21.010
Клапан ЭО-3323А.07.15.020
Пневмогидроаккумулятор с гидроклапанами 64002.10.000
Блок управления 13.80.04.500
Бак гидравлический 314-02-80.12.000-10
Бак гидравлический 314-02-80.12.000-10
Установка маслоохладительная 314-02-80.03.650, 314-02-80.03.650-20
Гидроцилиндр стрелы (с уплотнениями «Элконт», «ГидраПак») 34.64.00.800, 34.64.00.800-11
Трубопроводы рабочего оборудования 318-16-24.15.000
Гидроцилиндр рукояти (с уплотнениями «Элконт», «ГидраПак») 110-80-11.02.000, 110-80-11.02.000-11
Гидроцилиндр 060-40-03.00.000
Гидрооборудование на ходовой раме 318-40-71.00.000
Гидрооборудование на ходовой раме 318-40-71.00.000
Клапан пневмогидравлический ЭО-3322Б.60.05.000
Гидроцилиндр выносных опор (с уплотнениями «Элконт», «ГидраПак») ЭО-3323А.71.82.000-01, ЭО-3323А.71.82.000-11
Гидрозамок двухсторонний 13.71.80.670-10/680-10
Коллектор центральный 313-00-73.85.000
Цилиндр поворота колес правый, левый ЭО-3323А.71.80.300-10, ЭО-3323А.71.80.400-10
Гидроклапан противообгонный У4620.41.00.000
Установка насоса 314-02-03.09.000
Подъемный механизм 318-40-31.00.000
Подъемный механизм 318-40-31.00.000
Подкабинник 318-40-31.01.000
Цилиндр подъема 063-63-10.00.000, 063-63-10.00.000-11
Рама выдвижная 318-40-31.02.000
Барабан в сборе 318-40-31.80.000
Механизм поворота 225-01-07.00.000-18
Рабочее оборудование 318-16-24.10.000-10
Рабочее оборудование 318-16-24.10.000-10
Грейфер ГП-554 с ротатором 318-00-40.30.000-22
Грейфер ГП-554 с ротатором РУ-80 (г. Ковров) 318-00-40.30.000-25
Металлоконструкция грейфера ГП-554 313-00-40.30.000
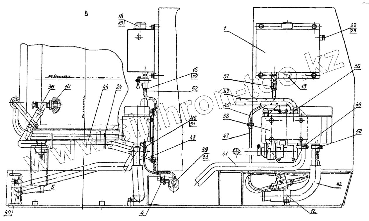
Установка подогревателя 318-40-87.60.000
Установка подогревателя 318-40-87.60.000
Экскаватор пневмоколесный гидравлический ЕК-18 с подъемной кабиной 318-40-00.00.000
Экскаватор пневмоколесный гидравлический ЕК-18 с подъемной кабиной 318-40-00.00.000
1
4
10
12
13
16
18
18
19
19
22
24
24
29
29
36
37
38
39
40
41
42
43
44
45
46
47
48
49
50
50
51
52
53
Позиция на иллюстрации
Заводской номер детали
Название детали
1
710-00-87.50.100
Бачок топливный
4
314-02-87.60.001
Кронштейн
10
314-02-87.50.001
Переходник
12
225-10-87.25.010
Скоба
13
ЭО-3322А.09.40.004
Пробка коническая
16
318-16-87.00.002
Ниппель
18
16.03.14.001
Крышка
18
16.03.14.003
Крышка
19
16.03.14.002
Прокладка
19
16.03.14.002-10
Прокладка
22
ЭО-3322А.24.01.014
Заглушка
24
Э302-1-1600-14
Хомутик
24
25.1801.02.00
Хомут 5х200
29
23358.14М3
Прокладка
36
ОСТ37-001-240.ВС-11
Кран
37
ОСТ37.001-240.ПП6-1
Кран ОСТ37.001-240.ПП6-1
38
25.2081.01.00.00
Жидкостный подогреватель с блоком управления, водяным насосом, кронштейном HYDRONIC 10 (12 В)
39
25.1894.45.00.00
Дозировочный насос со встроенным топливным фильтром
40
25.1806.80.01.00
Глушитель
41
25.1816.80.08.00
Гибкий газоотводящий шланг диаметром 30 мм
42
25.1786.80.02.00
Глушитель на входе
43
20.1673.80.00.01
Шланг водяной
44
20.1673.80.00.03
Шланг водяной
45
360.75.350
Шланг топливный L=500 мм
46
360.75.300
Шланг топливный L=100 мм
47
090.31.101
Шланг топливный L=700 мм
48
090.31.117
Трубка 4х1
49
152.10.061
Хомуты для глушителя
50
10.2065.02.00.32
Хомуты для водяных шлангов и глушителя на входе
51
10.2063.00.90.98
Хомуты для топливных шлангов
52
10.2063.01.10.98
Хомуты для топливных шлангов
53
22.1000.50.06.00
Скоба крепления дозировочного насоса
Содержащиеся в справочниках-каталогах запасные части и детали не предлагаются к продаже, а носят исключительно информационный характер
Дополнительная информация
×
Название:
Номер:
Примечание: