Вернуться на главную
Поиск
Каталоги запчастей к технике
Спецтехника
ТВЭКС
E185W (ЕК-18)
314-02-71.00.450 Кран буксировочный
Каталог запасных частей к технике: ТВЭКС E185W (ЕК-18). 314-02-71.00.450 Кран буксировочный
zoom-in
zoom-out
enlarge
shrink
circle-right
circle-left
file-text2
info
cart
Тип техники
Не выбрано
Легковые автомобили
Грузовые автомобили и прицепы
Автобусы
Сельхозтехника
Спецтехника
Двигатели
Мототехника
Марка
Не выбрано
Ammann
BOMAG
CARMIX
CASE IH
Changlin
ChengGong
Dimex
Doosan
DYNAPAC
Foton
HAMM
Hidromek
Hitachi
Hyundai
JCB
JLG
John Deere
Komatsu
LIEBHERR
LiuGong
Lonking (LongGong)
Luneng
MANITOU
Mitsuber
New Holland
PENGPU
RM-Terex
SANY
SDLG
SEM
Shantui
Shehwa HBXG
Soosan
TIGARBO
VOGELE
Volvo
WAY
WIRTGEN
XCMG
XGMA
Xiamen
YTO
Yuchai
Zoomlion
Автокран
АЗСМ
Алтайлесмаш
Амкодор
АОМЗ
Атек
АТЗ
Балканкар Рекорд
БелАЗ
Беловеж
Борекс
Брянский Арсенал
Булат
ВЭКС
ГАЗ
Геомаш
Гидромаш
Донекс
Дормаш
Дормашина
Дорэлектромаш
ДЭЗ
ЕлАЗ
ЗЗГТ
Ижнефтемаш
Канаш-электрокар
КЗКТ
ККЗ
Клевер
Клинцовский автокрановый завод
КМЗ
КМЗ 1 Мая
Ковровец
Коммаш
Кранэкс
КЭЗ
КЭМЗ
ЛЗА
МАЗ
МЗИК
МЗКМ
МЗКТ
Михневский РМЗ
МоАЗ
Мозырский МЗ
МТЗ
ОЗП
Онежец
ПАО "ТЗА"
ППС Детва
Промтрактор
ПТЗ
Раскат
СпецАгрегат
ТВЭКС
ТТМ
УВЗ
Угличмаш
УЗТМ
ХТЗ
ЧЗКМ
ЧСДМ
ЧТЗ
ЭКСКО
ЭКСМАШ
ЮрМаш
Модель
Не выбрано
5846ТМ (ЕА17) (2010)
E145W (ЕК-14)
E145W (ЕК-14) (2005)
E185W (ЕК-18)
E185W (ЕК-18) (2005)
E185W (ЕК-18) (2008)
E225LC (2022)
E225NLC (2022)
TLB 825 (2016)
TLB 825 (2017)
TLB 825 (2019)
TLB 935 (2020)
TLB 935 (2021)
TVEX-140W (2015)
TVEX-180i (2015)
TVEX-180W (2015)
TX220LC (2019)
TX220NLC (2019)
WX200 (2019)
WХ-200 (2015)
WХ-200 (2017) (2017)
ВП-03 (2005)
ВП-05
ВП-05 (2015)
ВП-05 (2005) (2005)
ВП-05 (вариант) (2005)
Е200СН (2018)
Е245СН (2018)
ЕК-12 (2005)
ЕК-12 (2007) (2007)
ЕК-12 (2013) (2013)
ЕК-14-20 (2013)
ЕК-14-90 (2011)
ЕК-14-90 (2015)
ЕК-18-20 (2010)
ЕК-18-40 (2005)
ЕК-18-45-60 (2008)
ЕК-18-90 (2012)
ЕК-18-90 (2015)
ЕК-20-20 (2010)
ЕТ-16 (2005)
ЕТ-16-20 (2007)
ЕТ-18-20 (2005)
ЕТ-20-20 (2012)
ЕТ-25
ЕТ-25-20 (2007)
ЕТ-26i (2010)
ЕТ-26i (2015)
ТХ-210 (2015)
ТХ-210 (2017)
ТХ-220 (2017)
ТХ-270 / 300 (2017)
ТЭП-18 (2012)
ЭО-3122
ЭО-3323
ЭО-3323А (2002)
ЭО-3326 (2000)
ЭОВ-3521 (2007)
ЭОВ-3521М-1 (2007)
ЭОВ-3521М-1 (2017)
ЭОВ-3521М-1 (2017)
Схема
>
Не выбрано
314-02-85.03.000 Пост управления
314-02-85.03.000 Пост управления
314-02-85.03.300 Консоль правая
13.01.03.500 Пульт правый
13.01.03.400 Пульт левый
13.01.03.200 Консоль левая
312-00-86.00.000-10 Сиденье машиниста
312-00-86.00.000-10 Сиденье машиниста
314-02-87.12.000 Установка отопителя
318-14-20.00.000 Платформа поворотная с механизмами
318-14-20.00.000 Платформа поворотная с механизмами
ЭО-332Б.03.30.000 Механизм поворота
314-02-03.00.000 Установка силовая
314-02-87.50.000 Установка подогревателя
13.03.01.000 Установка насоса
333.3.56 Агрегат насосный
314-02-03.03.000 Установка радиаторов и шторки
318-14-72.51.000 Коробка перемены передач
318-14-72.51.000 Коробка перемены передач
ЕК-18.20.30.000 Мост передний (приводной управляемый)
ЕК-18.20.30.000 Мост передний (приводной управляемый)
ЕК-18.20.30.000 Мост передний (приводной управляемый)
ЕК-18.20.90.000 Мост задний (приводной неуправляемый)
ЕК-18.20.90.000 Мост задний (приводной неуправляемый)
ЭО-3323.20.31.000 Передача главная
318-14-70.00.000 Ход пневмоколесный
318-14-70.00.000 Ход пневмоколесный
314-02-70.40.000 Управление поворотом колес
ЭО-3323А.07.22.000 Установка руля гидравлического
13.01.03.010 Установка педали тормоза
318-14-20.00.000 Пневмоуправление на ходовой раме
318-14-81.00.000 Пневмоуправление на поворотной платформе
314-02-80.04.000 Гидроуправление экскаватора на поворотной платформе (монтажная схема)
Электрооборудование
Электрооборудование
Электрооборудование
Электрооборудование
314-02-85.03.600 Щиток приборов
314-02-80.01.020\030 Блок "плавающего" положения стрелы
ЭО-3323А.08.07.110-10 Клапан предохранительный
ЭО-3323А.08.07.220 Клапан подпорный
ЭО-3323А.08.07.400 Блок переливных клапанов
314-02-520.00 Гидрораспределитель
314-02-520.00 Гидрораспределитель
520.20.01.000 Клапан подпиточный
ЭО-3323А.07.21.010 Гидрораспределитель
64002.10.000 Пневмогидроаккумулятор с гидроклапанами
13.80.04.500 Блок управления
13.80.04.400 Блок управления
13.80.04.450 Блок управления
13.80.04.920 Блок управления педальный
314-02-80.11.000 Бак гидравлический
ЭО-3323.71.80.300 Цилиндр поворота колес
13.71.80.630/640 Гидрозамок двухсторонний
ЭО-3322Б.60.65.000 Клапан пневмогидравлический
314-02-71.00.850 Коллектор центральный
У4620.41.00.000 Гидроклапан противообгонный
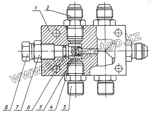
314-02-71.00.450 Кран буксировочный
318-02-72.00.000 Гидрооборудование на ходовой раме
318-02-72.00.000 Гидрооборудование на ходовой раме
13.20.67.000 (100x63x280) Гидроцилиндр опоры-отвала
318-00-21.92.000 Гидроцилиндр рукояти
318-00-21.91.000 Гидроцилиндр ковша (гидроцилиндр стрелы)
318-14-21.00.000 Рабочее оборудование обратной лопаты
318-14-21.00.000 Рабочее оборудование обратной лопаты
318-14-21.0.000 Ковш обратной лопаты
314-02-70.60.000 Установка отвала
318-14-00.00.000 Экскаватор пневмоколесный гидравлический ЕК-18
1
2
3
4
5
6
7
8
Позиция на иллюстрации
Заводской номер детали
Название детали
1
314-02-71.00.451
Корпус
2
ЭО-3323.07.13.005
Штуцер
3
ЭО-3323.20.83.013
Штуцер
4
9833.018-022-25-2-2
Кольцо
5
3722.Б10-100
Шарик
6
9833.012-016-25-2-2
Кольцо
7
ЭО-3322Д.23.02.003
Гайка
8
ЭО-3322А.04.31.611-10
Винт запорный
Содержащиеся в справочниках-каталогах запасные части и детали не предлагаются к продаже, а носят исключительно информационный характер
Дополнительная информация
×
Название:
Номер:
Примечание: