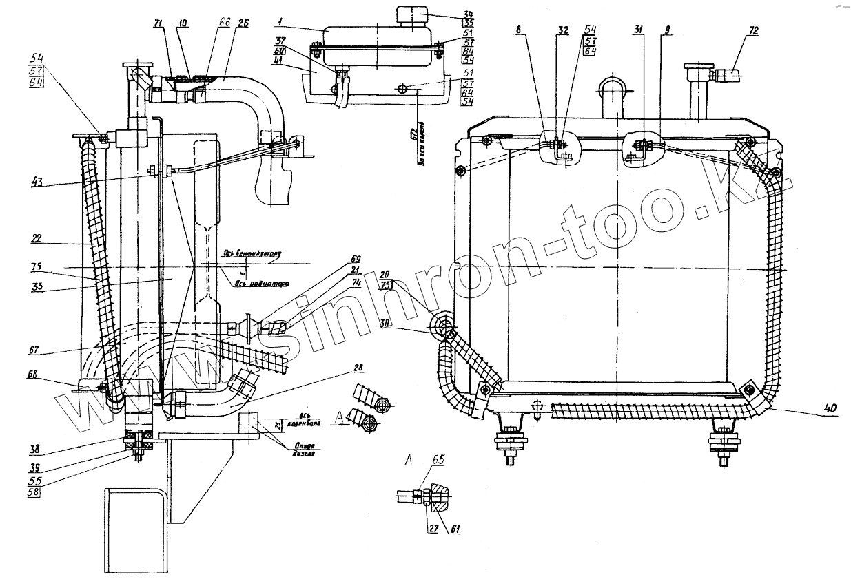
Каталог запасных частей к технике: ТВЭКС E185W (ЕК-18). Установка радиаторов
1
8
9
10
20
21
22
26
27
28
30
31
32
33
34
34
35
37
38
39
40
41
43
51
51
54
54
54
54
55
57
57
57
57
58
60
61
64
64
64
64
65
66
67
68
69
71
72
73
74
75
| Позиция на иллюстрации | Заводской номер детали | Название детали | |
|---|---|---|---|
| 1 | 16.03.14.100 | Бачок | |
| 8 | 314-02-03.07.001 | Тяга | |
| 9 | 314-02-03.07.002 | Тяга | |
| 10 | 314-02-03.07.003 | Патрубок (Труба 38х3 ГОСТ 8734-75 L=70 мм) | |
| 20 | 005-04-03.02.004 | Оплетка | |
| 21 | 005-04-03.02.005 | Оплетка | |
| 22 | 005-04-03.02.006 | Оплетка | |
| 26 | ЭО-3323.04.04.002 | Шланг | |
| 27 | ЭО-3323.04.04.003 | Штуцер | |
| 28 | ЭО-3323.04.04.012 | Шланг | |
| 30 | Э302-1-1600-14 | Хомутик | |
| 31 | ЭО-3323.04.04.019 | Кронштейн | |
| 32 | ЭО-3323.04.04.020 | Кронштейн | |
| 33 | 13.04.20.001 | Диффузор | |
| 34 | 16.03.14.001 | Крышка | |
| 34 | 16.03.14.003 | Крышка | |
| 35 | 16.03.14.002 | Прокладка | |
| 37 | 16.03.16.002 | Штуцер | |
| 38 | 16.03.16.005 | Прокладка | |
| 39 | ЭО-3322А.24.00.004 | Шайба | |
| 40 | ЭО-3322А.02.05.016 | Прижим | |
| 41 | 005-04-03.11.019 | Кронштейн | |
| 42 | 314-02-03.00.002-10 | Шайба | |
| 43 | 225-01-03.02.103 | Втулка упругая | |
| 51 | М8-6gx20.58.016 | Болт | |
| 54 | М8-6Н.5.016 | Гайка | |
| 55 | М12-6Н.5.016 | Гайка | |
| 57 | 8.65Г.016 | Шайба | |
| 58 | 12.65Г.016 | Шайба | |
| 60 | 14М3 | Прокладка | |
| 61 | 20М3 | Прокладка | |
| 64 | С8.01.08кп.019 | Шайба | |
| 65 | 22/13-20 | Хомут | |
| 66 | 51/38-50 | Хомут червячный | |
| 67 | 314-02-1301010 | Радиатор водяной | |
| 68 | РМ100-1013030 | Радиатор масляный | |
| 69 | 70-1405230 | Фильтр сетчатый | |
| 71 | ГОСТ10362-76 | Рукав 8х15-1,6 (L=2450мм) | |
| 72 | ГОСТ10362-76 | Рукав 8х15-1,6 (L=2450мм) | |
| 73 | ГОСТ10362-76 | Рукав 8х15-1,6 (L=2450мм) | |
| 74 | ГОСТ10362-76 | Рукав 8х15-1,6 (L=2450мм) | |
| 75 | ГОСТ10362-76 | Рукав 8х15-1,6 (L=2450мм) |
Содержащиеся в справочниках-каталогах запасные части и детали не предлагаются к продаже, а носят исключительно информационный характер