Вернуться на главную
Поиск
Каталоги запчастей к технике
Спецтехника
ТВЭКС
E145W (ЕК-14)
Кран буксировочный 314-02-71.00.450
Каталог запасных частей к технике: ТВЭКС E145W (ЕК-14). Кран буксировочный 314-02-71.00.450
zoom-in
zoom-out
enlarge
shrink
circle-right
circle-left
file-text2
info
cart
Тип техники
Не выбрано
Легковые автомобили
Грузовые автомобили и прицепы
Автобусы
Сельхозтехника
Спецтехника
Двигатели
Мототехника
Марка
Не выбрано
Ammann
BOMAG
CARMIX
CASE IH
Changlin
ChengGong
Dimex
Doosan
DYNAPAC
Foton
HAMM
Hidromek
Hitachi
Hyundai
JCB
JLG
John Deere
Komatsu
LIEBHERR
LiuGong
Lonking (LongGong)
Luneng
MANITOU
Mitsuber
New Holland
PENGPU
RM-Terex
SANY
SDLG
SEM
Shantui
Shehwa HBXG
Soosan
TIGARBO
VOGELE
Volvo
WAY
WIRTGEN
XCMG
XGMA
Xiamen
YTO
Yuchai
Zoomlion
Автокран
АЗСМ
Алтайлесмаш
Амкодор
АОМЗ
Атек
АТЗ
Балканкар Рекорд
БелАЗ
Беловеж
Борекс
Брянский Арсенал
Булат
ВЭКС
ГАЗ
Геомаш
Гидромаш
Донекс
Дормаш
Дормашина
Дорэлектромаш
ДЭЗ
ЕлАЗ
ЗЗГТ
Ижнефтемаш
Канаш-электрокар
КЗКТ
ККЗ
Клевер
Клинцовский автокрановый завод
КМЗ
КМЗ 1 Мая
Ковровец
Коммаш
Кранэкс
КЭЗ
КЭМЗ
ЛЗА
МАЗ
МЗИК
МЗКМ
МЗКТ
Михневский РМЗ
МоАЗ
Мозырский МЗ
МТЗ
ОЗП
Онежец
ПАО "ТЗА"
ППС Детва
Промтрактор
ПТЗ
Раскат
СпецАгрегат
ТВЭКС
ТТМ
УВЗ
Угличмаш
УЗТМ
ХТЗ
ЧЗКМ
ЧСДМ
ЧТЗ
ЭКСКО
ЭКСМАШ
ЮрМаш
Модель
Не выбрано
5846ТМ (ЕА17) (2010)
E145W (ЕК-14)
E145W (ЕК-14) (2005)
E185W (ЕК-18)
E185W (ЕК-18) (2005)
E185W (ЕК-18) (2008)
E225LC (2022)
E225NLC (2022)
TLB 825 (2016)
TLB 825 (2017)
TLB 825 (2019)
TLB 935 (2020)
TLB 935 (2021)
TVEX-140W (2015)
TVEX-180i (2015)
TVEX-180W (2015)
TX220LC (2019)
TX220NLC (2019)
WX200 (2019)
WХ-200 (2015)
WХ-200 (2017) (2017)
ВП-03 (2005)
ВП-05
ВП-05 (2015)
ВП-05 (2005) (2005)
ВП-05 (вариант) (2005)
Е200СН (2018)
Е245СН (2018)
ЕК-12 (2005)
ЕК-12 (2007) (2007)
ЕК-12 (2013) (2013)
ЕК-14-20 (2013)
ЕК-14-90 (2011)
ЕК-14-90 (2015)
ЕК-18-20 (2010)
ЕК-18-40 (2005)
ЕК-18-45-60 (2008)
ЕК-18-90 (2012)
ЕК-18-90 (2015)
ЕК-20-20 (2010)
ЕТ-16 (2005)
ЕТ-16-20 (2007)
ЕТ-18-20 (2005)
ЕТ-20-20 (2012)
ЕТ-25
ЕТ-25-20 (2007)
ЕТ-26i (2010)
ЕТ-26i (2015)
ТХ-210 (2015)
ТХ-210 (2017)
ТХ-220 (2017)
ТХ-270 / 300 (2017)
ТЭП-18 (2012)
ЭО-3122
ЭО-3323
ЭО-3323А (2002)
ЭО-3326 (2000)
ЭОВ-3521 (2007)
ЭОВ-3521М-1 (2007)
ЭОВ-3521М-1 (2017)
ЭОВ-3521М-1 (2017)
Схема
>
Не выбрано
Кабина 312-20-02.00.000
Кабина 312-20-02.00.000
Рамка верхняя 312-20-02.80.000
Установка люка 312-20-02.50.000
Дверь 312-20-02.40.000
Установка замков 312-20-02.42.000
Сиденье 005-04-90.00.000 (до 01.06.2005г.)
Установка отопителя 314-02-87.13.000
Установка зеркала заднего вида 312-20-02.80.000/-10/-20
Платформа поворотная с механизмами 314-20-20.00.000-20, 314-20-20.00.000-30
Установка силовая 314-02-03.00.000, 314-02-03.00.000-30
Установка силовая 314-60-04.00.000
Установка воздухоочистителя 314-60-04.05.000
Установка глушителя 314-02-03.08.100
Установка глушителя 314-60-04.03.000
Установка радиаторов 314-02-03.07.000
Установка радиаторов 314-60-04.04.000
Коробка перемены передач 314-02-72.51.000
Коробка перемены передач 314-02-72.51.000
Коробка перемены передач 314-02-72.51.000
Мост приводной неуправляемый ЭО-3323.20.90.000
Мост приводной неуправляемый ЭО-3323.20.90.000
Передача главная ЭО-3323.20.31.000
Мост приводной управляемый ЭО-3323.20.30.000
Мост приводной управляемый ЭО-3323.20.30.000
Мост приводной управляемый ЭО-3323.20.30.000
Ход пневмоколесный 312-04-50.00.000-14
Ход пневмоколесный 312-04-50.00.000-14
Ход пневмоколесный 312-04-50.00.000-14
Управление экскаватором 312-20-86.90.000-50
Управление экскаватором 312-20-86.90.000-50
Управление экскаватором 312-20-86.90.000-50
Колонка рулевая 312-20-86.90.100
Колонка рулевая 312-20-86.90.100
Установка руля 312-20-86.90.150
Пульт правый 312-20-86.90.400-50
Пульт левый 312-20-86.90.200-50
Пневмоуправление на поворотной платформе 314-02-81.10.000
Пневмоуправление на ходовой раме 314-02-82.00.000
Управление поворотом колес 314-02-70.40.000
Управление двигателем 314-02-03.02.000
Установка компрессора 312-40-04.02.000
Управление двигателем 314-60-04.06.000
Установка педали тормоза хода 13.01.03.010
Электрооборудование 314-20-88.27.000, 314-20-88.27.000-30
Электрооборудование 314-20-88.27.000, 314-20-88.27.000-30
Электрооборудование 314-20-88.27.000, 314-20-88.27.000-30
Электрооборудование 314-20-88.27.000, 314-20-88.27.000-30
Трубопроводы на поворотной платформе 314-20-80.01.000-01
Трубопроводы на поворотной платформе 314-20-80.01.000-01
Трубопроводы на поворотной платформе (с гидравликой "Bosch-Rexroth") 318-30-80.01.000
Трубопроводы на поворотной платформе (с гидравликой "Bosch-Rexroth") 318-30-80.01.000
Клапан подпорный ЭО-3323А.08.07.110-20, ЭО-3323А.08.07.110-10
Блок "плавающего" положения стрелы 520.35.00.000
Кран 314-02-80.01.500
Блок клапанов 312-04-80.01.500
Гидрораспределитель 314-02-520.00-10 ГР
Гидрораспределитель 314-02-520.00-10 ГР
Блок клапанов "ИЛИ" 520.32.00.000-20
Клапан подпиточный 520.20.01.000
Установка маслоохладительная 314-02-80.03.650-20, 314-02-80.03.650
Гидроуправление на поворотной платформе 314-20-80.04.000, 314-20-80.04.000-10
Гидроуправление на поворотной платформе 314-20-80.04.000, 314-20-80.04.000-10
Гидроуправление на поворотной платформе 314-20-80.04.000, 314-20-80.04.000-10
Гидрораспределитель ЭО-3323А.07.21.010
Клапан "ИЛИ" ЭО-3323А.07.15.020
Блок управления 13.80.04.500
Блок управления 13.80.04.820
Блок управления 13.80.04.920-20
Блок управления 13.80.04.940
Пневмогидроаккумулятор с гидроклапанами 64002.10.000
Бак гидравлический 314-02-80.12.000-10, 314-02-80.12.000-20
Бак гидравлический 314-02-80.12.000-10, 314-02-80.12.000-20
Трубопроводы рабочего оборудования 314-02-23.80.000-10
Гидроцилиндр рукояти (125х90х1100) 125-90-11.01.000, 125-90-11.01.000-11
Гидроцилиндр ковша 313-00-23.94.000, 313-00-23.94.000-11, гидроцилиндр стрелы 313-00-23.95.000-10, 313-00-23.95.000-11
Гидрооборудование на ходовой раме 314-02-71.00.000, 314-30-72.00.000
Гидрооборудование на ходовой раме 314-02-71.00.000, 314-30-72.00.000
Гидрооборудование на ходовой раме 314-02-71.00.000, 314-30-72.00.000
Гидроцилиндр 13.20.69.000, 13.20.69.000-11
Гидрозамок двухсторонний 13.71.80.670-10/680-10
Клапан пневмогидравлический ЭО-3322Б.60.05.000
Гидроцилиндр выносных опор ЭО-3323А.71.82.000-01, ЭО-3323А.71.82.000-11
Коллектор центральный 314-02-71.00.850
Цилиндр поворота колес правый ЭО-3323А.71.80.300-10, левый ЭО-3323А.71.80.400-10
Гидроклапан противообгонный У4620.41.00.000
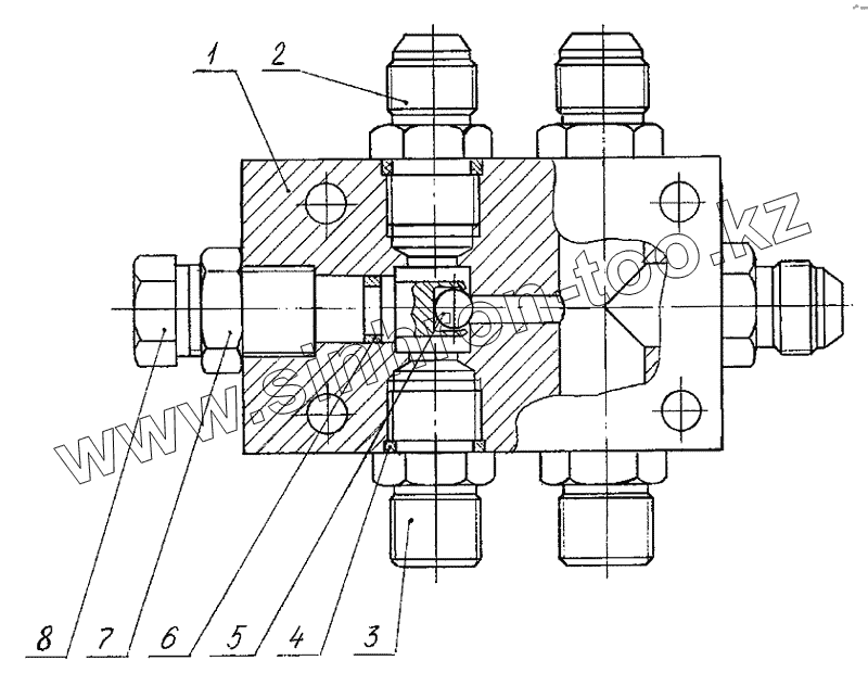
Кран буксировочный 314-02-71.00.450
Установка насоса 314-02-03.09.000, 314-02-03.09.000-30
Установка насоса НШ-10 308-20-03.97.000
Установка насоса НШ-10 308-20-03.97.000-10
Установка насоса 312-40-04.01.000-20
Механизм поворота ЕК-14.07.00.000-02
Рабочее оборудование обратной лопаты 314-03-23.00.000
Рабочее оборудование обратной лопаты 314-03-23.00.000
Ковш обратной лопаты 314-03-23.21.100
Установка отвала 312-04-50.70.000
Установка подогревателя 314-02-87.60.000
Установка подогревателя 314-02-87.60.000
Установка подогревателя и отопителя 314-60-87.60.000
Установка подогревателя и отопителя 314-60-87.60.000
Экскаватор пневмоколесный гидравлический ЕК-14
1
2
3
4
5
6
7
8
Позиция на иллюстрации
Заводской номер детали
Название детали
1
314-02-71.00.451
Корпус
2
ЭО-3323.07.13.005
Штуцер
3
ЭО-3323.20.83.012
Штуцер
4
9833.018-022-25-2-3
Кольцо
5
3722.Б10-100
Шарик
6
9833.012-016-25-2-3
Кольцо
7
ЭО-3322Д.23.02.003
Гайка
8
ЭО-3322А.04.31.611-10
Винт запорный
Содержащиеся в справочниках-каталогах запасные части и детали не предлагаются к продаже, а носят исключительно информационный характер
Дополнительная информация
×
Название:
Номер:
Примечание: