Вернуться на главную
Поиск
Каталоги запчастей к технике
Спецтехника
ТВЭКС
E145W (ЕК-14)
Установка педали тормоза хода
Каталог запасных частей к технике: ТВЭКС E145W (ЕК-14). Установка педали тормоза хода
zoom-in
zoom-out
enlarge
shrink
circle-right
circle-left
file-text2
info
cart
Тип техники
Не выбрано
Легковые автомобили
Грузовые автомобили и прицепы
Автобусы
Сельхозтехника
Спецтехника
Двигатели
Мототехника
Марка
Не выбрано
Ammann
BOMAG
CARMIX
CASE IH
Changlin
ChengGong
Dimex
Doosan
DYNAPAC
Foton
HAMM
Hidromek
Hitachi
Hyundai
JCB
JLG
John Deere
Komatsu
LIEBHERR
LiuGong
Lonking (LongGong)
Luneng
MANITOU
Mitsuber
New Holland
PENGPU
RM-Terex
SANY
SDLG
SEM
Shantui
Shehwa HBXG
Soosan
TIGARBO
VOGELE
Volvo
WAY
WIRTGEN
XCMG
XGMA
Xiamen
YTO
Yuchai
Zoomlion
Автокран
АЗСМ
Алтайлесмаш
Амкодор
АОМЗ
Атек
АТЗ
Балканкар Рекорд
БелАЗ
Беловеж
Борекс
Брянский Арсенал
Булат
ВЭКС
ГАЗ
Геомаш
Гидромаш
Донекс
Дормаш
Дормашина
Дорэлектромаш
ДЭЗ
ЕлАЗ
ЗЗГТ
Ижнефтемаш
Канаш-электрокар
КЗКТ
ККЗ
Клевер
Клинцовский автокрановый завод
КМЗ
КМЗ 1 Мая
Ковровец
Коммаш
Кранэкс
КЭЗ
КЭМЗ
ЛЗА
МАЗ
МЗИК
МЗКМ
МЗКТ
Михневский РМЗ
МоАЗ
Мозырский МЗ
МТЗ
ОЗП
Онежец
ПАО "ТЗА"
ППС Детва
Промтрактор
ПТЗ
Раскат
СпецАгрегат
ТВЭКС
ТТМ
УВЗ
Угличмаш
УЗТМ
ХТЗ
ЧЗКМ
ЧСДМ
ЧТЗ
ЭКСКО
ЭКСМАШ
ЮрМаш
Модель
Не выбрано
5846ТМ (ЕА17) (2010)
E145W (ЕК-14)
E145W (ЕК-14) (2005)
E185W (ЕК-18)
E185W (ЕК-18) (2005)
E185W (ЕК-18) (2008)
E225LC (2022)
E225NLC (2022)
TLB 825 (2016)
TLB 825 (2017)
TLB 825 (2019)
TLB 935 (2020)
TLB 935 (2021)
TVEX-140W (2015)
TVEX-180i (2015)
TVEX-180W (2015)
TX220LC (2019)
TX220NLC (2019)
WX200 (2019)
WХ-200 (2015)
WХ-200 (2017) (2017)
ВП-03 (2005)
ВП-05
ВП-05 (2015)
ВП-05 (2005) (2005)
ВП-05 (вариант) (2005)
Е200СН (2018)
Е245СН (2018)
ЕК-12 (2005)
ЕК-12 (2007) (2007)
ЕК-12 (2013) (2013)
ЕК-14-20 (2013)
ЕК-14-90 (2011)
ЕК-14-90 (2015)
ЕК-18-20 (2010)
ЕК-18-40 (2005)
ЕК-18-45-60 (2008)
ЕК-18-90 (2012)
ЕК-18-90 (2015)
ЕК-20-20 (2010)
ЕТ-16 (2005)
ЕТ-16-20 (2007)
ЕТ-18-20 (2005)
ЕТ-20-20 (2012)
ЕТ-25
ЕТ-25-20 (2007)
ЕТ-26i (2010)
ЕТ-26i (2015)
ТХ-210 (2015)
ТХ-210 (2017)
ТХ-220 (2017)
ТХ-270 / 300 (2017)
ТЭП-18 (2012)
ЭО-3122
ЭО-3323
ЭО-3323А (2002)
ЭО-3326 (2000)
ЭОВ-3521 (2007)
ЭОВ-3521М-1 (2007)
ЭОВ-3521М-1 (2017)
ЭОВ-3521М-1 (2017)
Схема
>
Не выбрано
Пост управления
Пост управления
Консоль правая
Пульт правый
Пульт левый
Консоль левая
Сиденье машиниста
Сиденье машиниста
Установка отопителя
Платформа поворотная с механизмами
Опора поворотная роликовая унифицированная
Установка силовая
Установка подогревателя
Установка насоса
Агрегат насосный
Установка радиаторов и шторки
Коробка перемены передач
Коробка перемены передач
Мост передний (приводной управляемый)
Мост передний (приводной управляемый)
Мост передний (приводной управляемый)
Мост задний (приводной неуправляемый)
Мост задний (приводной неуправляемый)
Передача главная
Ход пневмоколесный
Ход пневмоколесный
Управление поворотом колес
Механизм поворота
Установка руля гидравлического
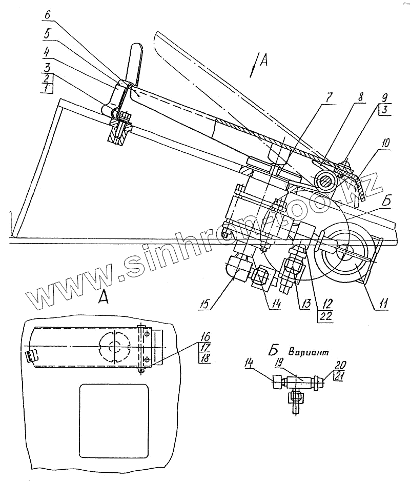
Установка педали тормоза хода
Пневмоуправление на ходовой раме
Пневмоуправление на поворотной платформе
Пневмоуправление на поворотной платформе
Гидроуправление экскаватора на поворотной платформе (монтажная схема)
Электрооборудование
Электрооборудование
Электрооборудование
Электрооборудование
Щиток приборов
Блок «плавающего» положения стрелы
Клапан предохранительный
Клапан подпорный
Блок переливных клапанов
Гидрораспределитель
Гидрораспределитель
Клапан подпиточный
Гидрораспределитель
Пневмогидроаккумулятор с гидроклапанами
Блок управления
Блок управления
Блок управления
Блок управления
Бак гидравлический
Коллектор центральный
Цилиндр поворота колес
Гидроклапан противообгонный
Гидрозамок двухсторонний
Клапан пневмогидравлический
Гидрооборудование на ходовой раме
Гидрооборудование на ходовой раме
Гидроцилиндр рукояти
Гидроцилиндр
Гидроцилиндр опоры-отвала
Гидроцилиндр выносных опор
Кран буксировочный
Рабочее оборудование обратной лопаты
Рабочее оборудование обратной лопаты
Ковш обратной лопаты
Установка отвала
Экскаватор пневмоколесный гидравлический ЕК-14
1
2
3
3
4
5
6
7
8
9
10
11
12
13
14
14
15
16
17
18
19
20
21
22
Позиция на иллюстрации
Заводской номер детали
Название детали
1
7798.М6-8gх20.58.019
Болт
2
6402.6.65Г.019
Шайба
3
11371.6.01.019
Шайба
4
13.01.03.016
Прижим
5
13.01.03.017
Фиксатор
6
13.01.03.011
Педаль
7
Э302-1-1201-17
Шайба стопорная
8
ЭО-3322А.09.02.001
Пружина
9
17473.В1М6-80х12.58.019
Винт
10
13.01.03.013
Упор
11
ВК13
Включатель стоп-сигнала
12
ЭО-3323.07.00.009
Тройник соединительный
13
ЭО-3323А.23.03.004
Штуцер
14
ЭО-3323.07.06.400
Золотник дифференциальный
15
ЭО-3322А.09.20.009
Угольник
16
13.01.03.015
Ось
17
11371.8.01.019
Шайба
18
397.2х14.019
Шплинт
19
005-01-81.00.001
Тройник
20
23358.12М3
Прокладка
21
ММ125
Датчик
22
ЭО-3322А.09.30.008
Штуцер
Содержащиеся в справочниках-каталогах запасные части и детали не предлагаются к продаже, а носят исключительно информационный характер
Дополнительная информация
×
Название:
Номер:
Примечание: