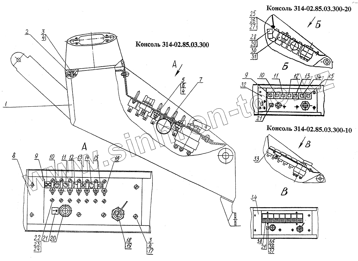
Каталог запасных частей к технике: ТВЭКС E145W (ЕК-14). Консоль правая
1
2
3
3
4
4
4
5
6
7
8
9
9
10
10
11
11
12
12
13
13
14
14
15
15
16
17
18
19
20
21
21
21
22
23
24
25
26
27
28
29
30
31
32
33
34
35
36
37
38
| Позиция на иллюстрации | Заводской номер детали | Название детали | |
|---|---|---|---|
| 1 | 314-02-85.03.320 | Корпус | |
| 2 | 13.01.03.301 | Проставка | |
| 3 | 17473.В1М6-8gх14.58.019 | Винт | |
| 4 | 6402.6.65Г.019 | Шайба | |
| 5 | 17473.В1М6-8gх22.58.019 | Винт | |
| 6 | 5915.М6-6Н.5.019 | Гайка | |
| 7 | РС410 | Реле-прерыватель указателей поворота | |
| 8 | 314-02-85.03.330 | Щиток | |
| 9 | 314-02-85.03.302 | Табличка | |
| 10 | 314-02-85.03.302-01 | Табличка | |
| 11 | 314-02-85.03.302-02 | Табличка | |
| 12 | 314-02-85.03.302-03 | Табличка | |
| 13 | 314-02-85.03.302-04 | Табличка | |
| 14 | 314-02-85.03.302-05 | Табличка | |
| 15 | 314-02-85.03.302-06 | Табличка | |
| 16 | 46.3710 | Включатель | |
| 17 | 11371.6.01.019 | Шайба | |
| 18 | 12.02.3704-02 | Включатель | |
| 19 | 314-02-85.03.304 | Гайка | |
| 20 | 11.3704 | Выключатель | |
| 21 | 314-02-85.03.302-07 | Табличка | |
| 22 | 17473.В1М4-8gх8.58.019 | Винт | |
| 23 | 5916.М4-6Н.5.019 | Гайка | |
| 24 | 6402.4.65Г.019 | Шайба | |
| 25 | 17473.В1М6-8gх12.58.019 | Винт | |
| 26 | 5915.М6-6Н.5.019 | Гайка | |
| 27 | 6402.6.65Г.019 | Шайба | |
| 28 | 111.3747 | Реле | |
| 29 | 4573739016 | Колодка гнездовая | |
| 30 | 375.3710 | Выключатель | |
| 31 | 4573739026 | Колодка гнездовая | |
| 32 | 314-02-85.03.350 | Щиток | |
| 33 | 314-02-85.03.303 | Кронштейн | |
| 34 | 314-02-85.03.340 | Щиток | |
| 35 | 17473.В1М4-8gх8.58.019 | Винт | |
| 36 | 5916.М4-6Н.5.019 | Гайка | |
| 37 | 6402.4.65Г.019 | Шайба | |
| 38 | П146 | Переключатель |
Содержащиеся в справочниках-каталогах запасные части и детали не предлагаются к продаже, а носят исключительно информационный характер