Вернуться на главную
Поиск
Каталоги запчастей к технике
Спецтехника
ТВЭКС
5846ТМ (ЕА17)
Клапан «ИЛИ»
Каталог запасных частей к технике: ТВЭКС 5846ТМ (ЕА17). Клапан «ИЛИ»
zoom-in
zoom-out
enlarge
shrink
circle-right
circle-left
file-text2
info
cart
Тип техники
Не выбрано
Легковые автомобили
Грузовые автомобили и прицепы
Автобусы
Сельхозтехника
Спецтехника
Двигатели
Мототехника
Марка
Не выбрано
Ammann
BOMAG
CARMIX
CASE IH
Changlin
ChengGong
Dimex
Doosan
DYNAPAC
Foton
HAMM
Hidromek
Hitachi
Hyundai
JCB
JLG
John Deere
Komatsu
LIEBHERR
LiuGong
Lonking (LongGong)
Luneng
MANITOU
Mitsuber
New Holland
PENGPU
RM-Terex
SANY
SDLG
SEM
Shantui
Shehwa HBXG
Soosan
TIGARBO
VOGELE
Volvo
WAY
WIRTGEN
XCMG
XGMA
Xiamen
YTO
Yuchai
Zoomlion
Автокран
АЗСМ
Алтайлесмаш
Амкодор
АОМЗ
Атек
АТЗ
Балканкар Рекорд
БелАЗ
Беловеж
Борекс
Брянский Арсенал
Булат
ВЭКС
ГАЗ
Геомаш
Гидромаш
Донекс
Дормаш
Дормашина
Дорэлектромаш
ДЭЗ
ЕлАЗ
ЗЗГТ
Ижнефтемаш
Канаш-электрокар
КЗКТ
ККЗ
Клевер
Клинцовский автокрановый завод
КМЗ
КМЗ 1 Мая
Ковровец
Коммаш
Кранэкс
КЭЗ
КЭМЗ
ЛЗА
МАЗ
МЗИК
МЗКМ
МЗКТ
Михневский РМЗ
МоАЗ
Мозырский МЗ
МТЗ
ОЗП
Онежец
ПАО "ТЗА"
ППС Детва
Промтрактор
ПТЗ
Раскат
СпецАгрегат
ТВЭКС
ТТМ
УВЗ
Угличмаш
УЗТМ
ХТЗ
ЧЗКМ
ЧСДМ
ЧТЗ
ЭКСКО
ЭКСМАШ
ЮрМаш
Модель
Не выбрано
5846ТМ (ЕА17) (2010)
E145W (ЕК-14)
E145W (ЕК-14) (2005)
E185W (ЕК-18)
E185W (ЕК-18) (2005)
E185W (ЕК-18) (2008)
E225LC (2022)
E225NLC (2022)
TLB 825 (2016)
TLB 825 (2017)
TLB 825 (2019)
TLB 935 (2020)
TLB 935 (2021)
TVEX-140W (2015)
TVEX-180i (2015)
TVEX-180W (2015)
TX220LC (2019)
TX220NLC (2019)
WX200 (2019)
WХ-200 (2015)
WХ-200 (2017) (2017)
ВП-03 (2005)
ВП-05
ВП-05 (2015)
ВП-05 (2005) (2005)
ВП-05 (вариант) (2005)
Е200СН (2018)
Е245СН (2018)
ЕК-12 (2005)
ЕК-12 (2007) (2007)
ЕК-12 (2013) (2013)
ЕК-14-20 (2013)
ЕК-14-90 (2011)
ЕК-14-90 (2015)
ЕК-18-20 (2010)
ЕК-18-40 (2005)
ЕК-18-45-60 (2008)
ЕК-18-90 (2012)
ЕК-18-90 (2015)
ЕК-20-20 (2010)
ЕТ-16 (2005)
ЕТ-16-20 (2007)
ЕТ-18-20 (2005)
ЕТ-20-20 (2012)
ЕТ-25
ЕТ-25-20 (2007)
ЕТ-26i (2010)
ЕТ-26i (2015)
ТХ-210 (2015)
ТХ-210 (2017)
ТХ-220 (2017)
ТХ-270 / 300 (2017)
ТЭП-18 (2012)
ЭО-3122
ЭО-3323
ЭО-3323А (2002)
ЭО-3326 (2000)
ЭОВ-3521 (2007)
ЭОВ-3521М-1 (2007)
ЭОВ-3521М-1 (2017)
ЭОВ-3521М-1 (2017)
Схема
>
Не выбрано
Экскаватор одноковшовый на автомобильном ходу 5846ТМ
Платформа поворотная с механизмами
Гидрооборудование на поворотной платформе
Трубопроводы на поворотной платформе
Клапан подпорный
Клапан предохранительный
Гидрораспределитель
Секция рабочая (опора-отвал)
Секция рабочая (добавка хода, гидромолот)
Секция рабочая (рукоять)
Секция рабочая (поворот)
Секция рабочая (ковш)
Секция рабочая (стрела)
Секция напорно-сливная
Напорно-сливная секция
Блок клапанов «ИЛИ»
Клапан подпиточный
Гидроуправление на поворотной платформе (монтажная схема)
Клапан «ИЛИ»
Гидрораспределитель
Блок управления педальный (правый)
Блок управления
Пневмогидроаккумулятор
Блок гидроклапанов
Бак гидравлический
Фильтр
Клапан предохранительный
Фильтр
Установка силовая
Установка насоса, Насос 333.3.55.100.220 (гидравлика ПСМ)
Механизм поворота
Кабина
Установка люка
Дверь
Установка замков
Установка зеркала заднего вида
Рамка верхняя
Управление экскаватором
Пульт правый
Пульт левый
Установка отопителя
Установка подогревателя
Рабочее оборудование обратной лопаты
Трубопроводы рабочего оборудования
Гидроцилиндр стрелы
Гидроцилиндр ковша
Гидроцилиндр рукояти
Ковш обратной лопаты
Ход пневмоколесный
Шасси доработанное
Гидрооборудование на ходовой раме
Гидроцилиндр выносных опор (правый и левый)
Гидроцилиндр
Коллектор центральный
Гидрозамок двухсторонний
Электрооборудование
Схема электрическая соединений
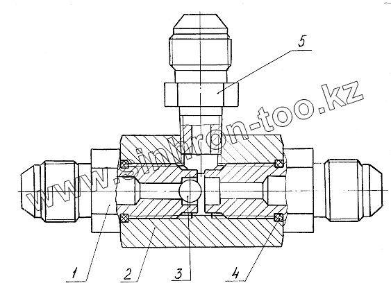
1
2
3
4
5
Позиция на иллюстрации
Заводской номер детали
Название детали
1
ЭО-3323А.07.15.022
Штуцер
2
ЭО-3323А.07.15.021
Корпус
3
Б 8-100
Шарик
4
012-016-25-2-3
Кольцо
5
ЭО-3322А.24.00.005
Штуцер
Содержащиеся в справочниках-каталогах запасные части и детали не предлагаются к продаже, а носят исключительно информационный характер
Дополнительная информация
×
Название:
Номер:
Примечание: