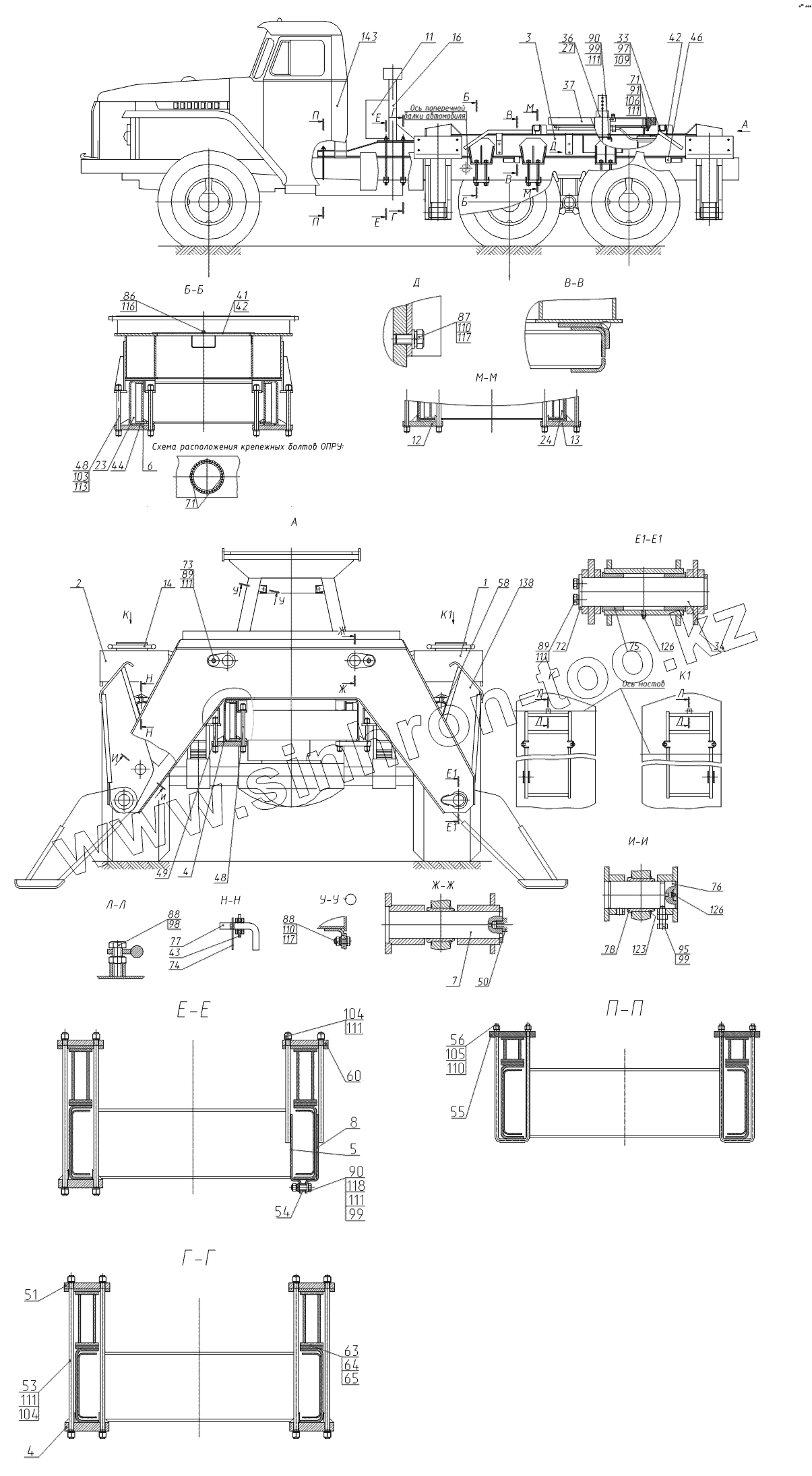
Каталог запасных частей к технике: ТВЭКС 5846ТМ (ЕА17). Ход пневмоколесный
1
2
3
4
4
5
6
7
8
11
12
13
14
16
23
24
27
33
34
36
37
41
42
42
43
44
46
48
48
49
50
51
53
54
55
56
58
60
63
64
65
71
71
72
73
74
75
76
77
78
86
87
88
88
89
89
90
90
91
95
97
98
99
99
99
103
104
104
105
106
109
110
110
110
111
111
111
111
111
111
111
113
116
117
117
118
123
126
126
138
143
| Позиция на иллюстрации | Заводской номер детали | Название детали | |
|---|---|---|---|
| 1 | 40.50.00.100 | Брызговик | |
| 2 | 40.50.00.100-01 | Брызговик | |
| 3 | 40.51.34.000 | Рама накладная | |
| 4 | 40.71.00.020 | Накладка | |
| 5 | 40.71.00.030 | Накладка в сборе | |
| 6 | 40.71.00.040 | Накладка | |
| 7 | 40.71.00.050 | Палец | |
| 8 | 40.71.00.060 | Накладка в сборе | |
| 11 | 40.71.00.090 | Ящик инструментальный | |
| 12 | 40.71.00.100 | Накладка | |
| 13 | 40.71.00.100-01 | Накладка | |
| 14 | 40.71.00.200 | Лестница | |
| 16 | 40.71.00.400 | Установка опоры | |
| 23 | 40.71.10.050 | Проставка | |
| 24 | 40.71.10.050-01 | Проставка | |
| 27 | 40.71.50.000 | Доработка пневмопривода автомобиля | |
| 33 | 314-02-70.00.040 | Упор стопора поворота | |
| 34 | 314-02-70.00.070 | Палец | |
| 36 | 417-40.71.40.000-10 | Гидрооборудование на ходовой раме | |
| 37 | ОПРУ-1250.01.10.24.00 | Опора поворотная роликовая унифицированная | |
| 41 | 40.50.00.001 | Лист накрывающий | |
| 42 | 40.50.00.001-01 | Лист накрывающий | |
| 43 | 40.50.00.002 | Ушко | |
| 44 | 40.50.00.003 | Прокладка регулировочная | |
| 46 | 40.71.00.001 | Упор | |
| 48 | 40.71.00.003 | Шпилька | |
| 49 | 40.71.00.003-01 | Шпилька | |
| 50 | 40.71.00.004 | Пробка | |
| 51 | 40.71.00.005 | Планка | |
| 53 | 40.71.00.007 | Шпилька | |
| 54 | 40.71.00.008 | Втулка | |
| 55 | 40.71.00.009 | Планка | |
| 56 | 40.71.00.010 | Стремянка | |
| 58 | 40.71.00.012 | Уголок | |
| 60 | 40.71.00.014 | Планка | |
| 63 | 40.71.00.017 | Прокладка регулировочная | |
| 64 | 40.71.00.017-10 | Прокладка регулировочная | |
| 65 | 40.71.00.017-20 | Прокладка регулировочная | |
| 71 | 312-04-50.00.002 | Болт | |
| 72 | Э302-4-0900-02 | Шайба торцовая | |
| 73 | ЭО-3322А.02.00.010 | Шайба упорная | |
| 74 | ЭО-3322А.60.00.001 | Защелка | |
| 75 | ЭО-3322А.60.00.003 | Втулка | |
| 76 | ЭО-3322А.60.00.009 | Палец | |
| 77 | ЭО-3323.20.00.011 | Стопор | |
| 78 | ЭО-3323А.71.00.004 | Втулка | |
| 86 | М10-6gx25.58.016 | Болт | |
| 87 | М16-6gx25.58.016 | Болт | |
| 88 | М12-6gx30.58.016 | Болт | |
| 89 | М16-6gx30.58.016 | Болт | |
| 90 | М16-6gx55.58.016 | Болт | |
| 91 | М16-6gx125.109.016 | Болт | |
| 95 | М16-6gx40.14H.016 | Винт | |
| 97 | М10-6H.5.016 | Гайка | |
| 98 | М12-6H.5.016 | Гайка | |
| 99 | М16-6H.5.016 | Гайка | |
| 103 | М22х1,5-6H.8.016 | Гайка | |
| 104 | М16х1,5-6H.8.016 | Гайка | |
| 105 | М12х1,25-6H.8.016 | Гайка | |
| 106 | М16-6Н.10.016 | Гайка | |
| 109 | 10.65Г.016 | Шайба | |
| 110 | 12.65Г.016 | Шайба | |
| 111 | 16.65Г.016 | Шайба | |
| 113 | 22.65Г.016 | Шайба | |
| 116 | C10.01.08кn.019 | Шайба | |
| 117 | C12.01.08кn.019 | Шайба | |
| 118 | C16.01.08кn.019 | Шайба | |
| 123 | В105 | Кольцо | |
| 126 | 1.3.01 | Масленка | |
| 138 | 40.71.20.000 | Опора откидная | |
| 143 | 40.71.10.000-10 | Шасси доработанное |
Содержащиеся в справочниках-каталогах запасные части и детали не предлагаются к продаже, а носят исключительно информационный характер