Каталог запасных частей к технике: ТТМ-3902 "Тайга". Топливопроводы и установка топливной аппаратуры
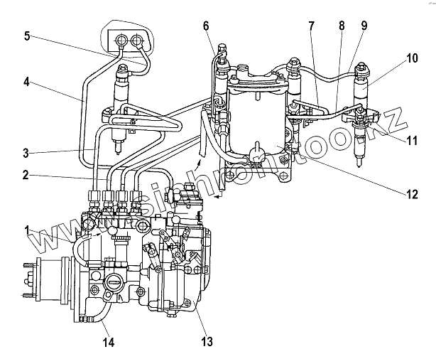
1
2
3
4
5
6
7
8
9
10
11
12
12
12
13
13
13
14
| Позиция на иллюстрации | Заводской номер детали | Название детали | |
|---|---|---|---|
| 5301-1109010-01 | 5301-1109010-01 | Фильтр воздушный в сборе | |
| С14-194-01 | С14-194-01 | Турбокомпрессор | |
| РР4М10U1f-3483 | РР4М10U1f-3483 | Насос топливный | |
| 1 | 240-1104170-02 | Трубка топливная низкого давления | |
| 2 | 245-1104300-В-01 | Трубка высокого давления | |
| 3 | 245-1104300-В | Трубка высокого давления | |
| 4 | 245-1104330-В | Трубка пневмокомпрессора | |
| 5 | 245-1104350-В | Трубка перепускная | |
| 6 | 245-1104360-Д | Трубка перепускная | |
| 7 | 245-1104300-В-02 | Трубка высокого давления | |
| 8 | 245-1104300-В-03 | Трубка высокого давления | |
| 9 | 245-1104320-А2 | Топливопровод дренажный | |
| 10 | 171.1112010-01 | Форсунка | |
| 11 | 240-1111036-Б | Кольцо защитное | |
| 12 | Т6101 | Фильтр топливный | |
| 12 | 240-1117010-А | Фильтр топливный | |
| 13 | 733-1111005-05-Э2 | Насос топливный с электромагнитом останова двигателя ЭМ 19-03 | |
| 13 | 773/1111005-05-Э2 | Насос топливный с электромагнитом останова двигателя ЭМ 19-03 | |
| 14 | 240-3509150 | Маслопровод |
Содержащиеся в справочниках-каталогах запасные части и детали не предлагаются к продаже, а носят исключительно информационный характер