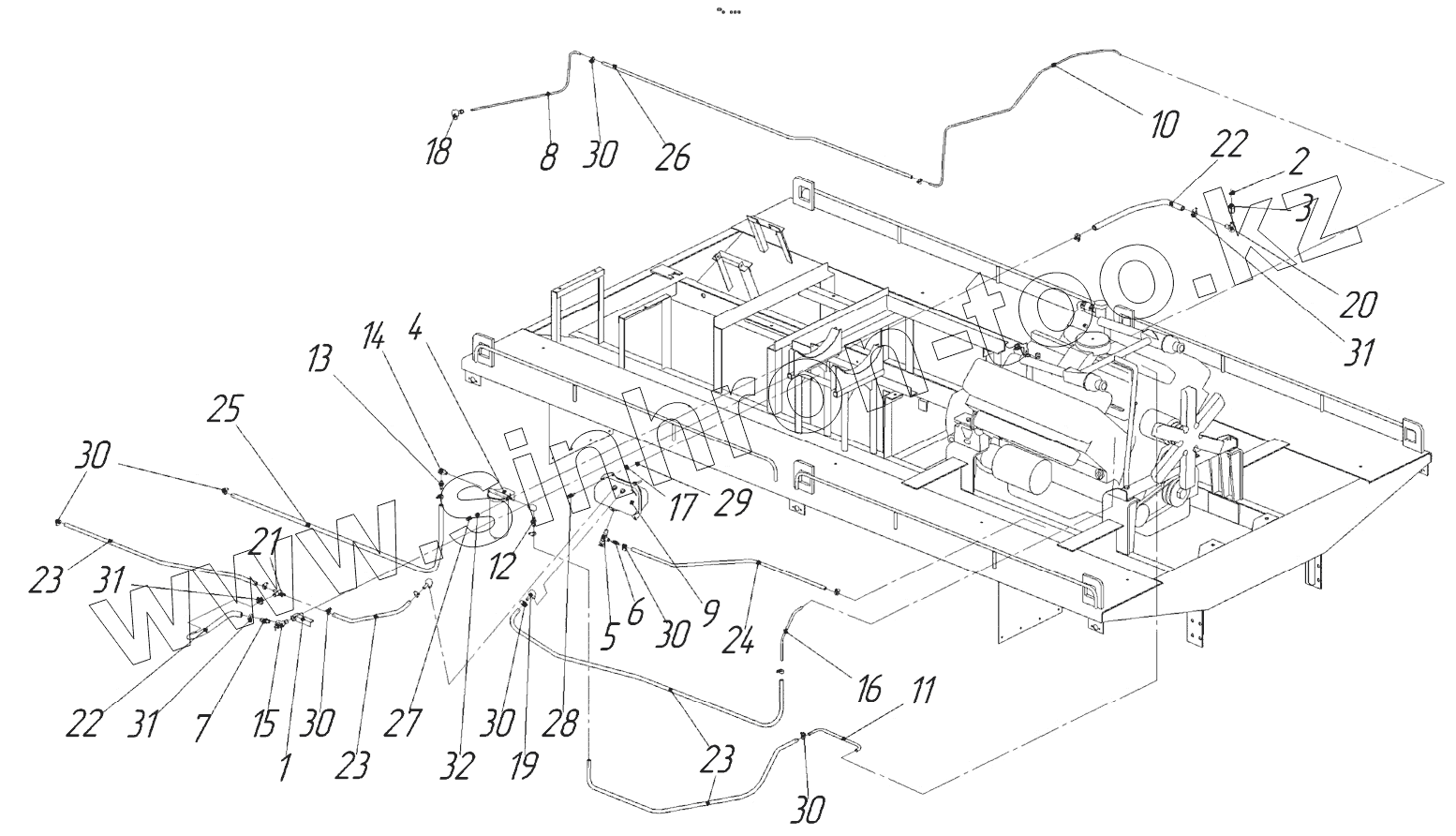
Каталог запасных частей к технике: СпецАгрегат ДЭ-210БМ. Установка топливопроводов
1
2
3
4
5
6
7
8
9
10
11
12
13
14
15
16
17
18
19
20
21
22
22
23
23
23
24
25
26
27
28
29
30
30
30
30
30
30
31
31
31
32
| Позиция на иллюстрации | Заводской номер детали | Название детали | |
|---|---|---|---|
| 1 | 24СШР-1100100 | Кронштейн | |
| 2 | 24СШР-1109018 | Прокладка | |
| 3 | 24СШР-1119027 | Переходник | |
| 4 | 204А-1105510-Б | Фильтр грубой очистки | |
| 5 | 375-1015174 | Кран проходной в сборе | |
| 6 | 375-3706013 | Штуцер | |
| 7 | 4320-1013122 | Штуцер | |
| 8 | 4320-1104202-10 | Трубка от форсунок вторая | |
| 9 | 4320Я2-1015300 | Бачок топливный предпускового подогревателя | |
| 10 | 4320Я-1104115-20 | Трубка от форсунок первая | |
| 11 | 4320Я-1104150-01 | Трубка к топливоподкачивающему насосу | |
| 12 | 5323-1104235 | Штуцер | |
| 13 | 5323-1104236 | Штуцер | |
| 14 | 5323-1104237 | Угольник | |
| 15 | 5557-8101180 | Кран отопителя | |
| 16 | 63621-1104320 | Трубка от фильтра тонкой очистки к бачку подогревателя | |
| 17 | 335549 | Шайба | |
| 18 | 339520-П29 | Угольник ввертный | |
| 19 | 339832 | Угольник выпуска воздуха | |
| 20 | 339868 | Угольник | |
| 21 | СОШ-1100200 | Тройник | |
| 22 | Рукав 16х25-1,6 | Рукав | |
| 23 | Рукав 10х17,5-1,47 | Рукав | |
| 24 | Рукав 8х15-0,98 | Рукав | |
| 25 | Рукав 12х20-1,6 | Рукав | |
| 26 | Рукав 6х14-1,6 | Рукав | |
| 27 | Болт М8-6gx18 | Болт | |
| 28 | Болт М8-6gx45 | Болт | |
| 29 | Гайка М8-6H | Гайка | |
| 30 | Хомут 1Л 12-20-7 Н | Хомут | |
| 31 | Хомут 1Л 20-32-7 Н | Хомут | |
| 32 | Шайба 8 | Шайба |
Содержащиеся в справочниках-каталогах запасные части и детали не предлагаются к продаже, а носят исключительно информационный характер