Вернуться на главную
Поиск
Каталоги запчастей к технике
Спецтехника
СпецАгрегат
ДЭ-210БМ
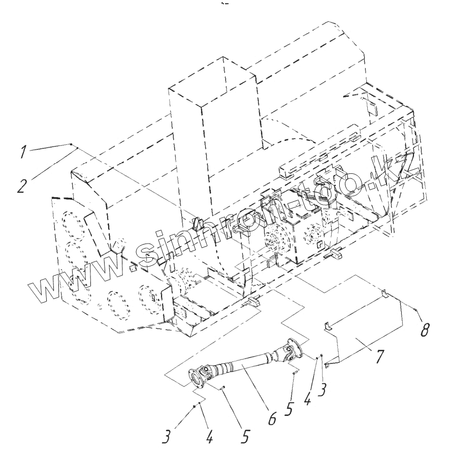
Привод шнеков. Установка карданного вала.
Каталог запасных частей к технике: СпецАгрегат ДЭ-210БМ. Привод шнеков. Установка карданного вала.
zoom-in
zoom-out
enlarge
shrink
circle-right
circle-left
file-text2
info
cart
Тип техники
Не выбрано
Легковые автомобили
Грузовые автомобили и прицепы
Автобусы
Сельхозтехника
Спецтехника
Двигатели
Мототехника
Марка
Не выбрано
Ammann
BOMAG
CARMIX
CASE IH
Changlin
ChengGong
Dimex
Doosan
DYNAPAC
Foton
HAMM
Hidromek
Hitachi
Hyundai
JCB
JLG
John Deere
Komatsu
LIEBHERR
LiuGong
Lonking (LongGong)
Luneng
MANITOU
Mitsuber
New Holland
PENGPU
RM-Terex
SANY
SDLG
SEM
Shantui
Shehwa HBXG
Soosan
TIGARBO
VOGELE
Volvo
WAY
WIRTGEN
XCMG
XGMA
Xiamen
YTO
Yuchai
Zoomlion
Автокран
АЗСМ
Алтайлесмаш
Амкодор
АОМЗ
Атек
АТЗ
Балканкар Рекорд
БелАЗ
Беловеж
Борекс
Брянский Арсенал
Булат
ВЭКС
ГАЗ
Геомаш
Гидромаш
Донекс
Дормаш
Дормашина
Дорэлектромаш
ДЭЗ
ЕлАЗ
ЗЗГТ
Ижнефтемаш
Канаш-электрокар
КЗКТ
ККЗ
Клевер
Клинцовский автокрановый завод
КМЗ
КМЗ 1 Мая
Ковровец
Коммаш
Кранэкс
КЭЗ
КЭМЗ
ЛЗА
МАЗ
МЗИК
МЗКМ
МЗКТ
Михневский РМЗ
МоАЗ
Мозырский МЗ
МТЗ
ОЗП
Онежец
ПАО "ТЗА"
ППС Детва
Промтрактор
ПТЗ
Раскат
СпецАгрегат
ТВЭКС
ТТМ
УВЗ
Угличмаш
УЗТМ
ХТЗ
ЧЗКМ
ЧСДМ
ЧТЗ
ЭКСКО
ЭКСМАШ
ЮрМаш
Модель
Не выбрано
ДЭ-210БМ (2020)
ФРС-1 (ФРСУ-1) (2020)
Схема
>
Не выбрано
Установка двигателя
Установка пневмоцилиндра останова двигателя
Система охлаждения
Доработка раздаточной коробки
Установка световых приборов
Установка фонарей и световозвращателей
Установка задних фонарей
Установка 2-х скоростной КОМ
Установка сцепления
Коробка отбора мощности 2-х скоростная. Установка люков и пробок
Коробка отбора мощности 2-х скоростная. Установка валов
Коробка отбора мощности 2-х скоростная. Установка валов 2
Коробка отбора мощности 2-х скоростная. Механизм переключения
Коробка отбора мощности 2-х скоростная. Система смазки
Установка промежуточного редуктора
Редуктор промежуточный. Установка люков
Редуктор промежуточный. Установка валов
Редуктор промежуточный. Установка маслонасоса
Установка карданных валов
Установка заглушки отверстия воздуховода
Установка топливопроводов
Установка топливного бака
Установка привода сцепления и подачи топлива
Установка счетчика моточасов
Установка катушки ПЖД
Гидропривод
Установка рукавов высокого давления
Установка кузова
Установка платформы
Установка комплекта ПЖД
Установка системы очистки воздуха
Установка системы выпуска газов
Установка трубопроводов отопителя кабины
Доработка пневмооборудования
Установка клапана останова двигателя
Установка сиденья пассажира
Установка рабочего органа
Установка редуктора
Установка ротора
Ротор
Редуктор рабочего органа. Крышки.
Редуктор рабочего органа. Вал ведущий.
Редуктор рабочего органа. Вал привода ротора.
Редуктор рабочего органа. Вал привода шнеков.
Привод шнеков. Установка карданного вала.
Привод шнеков. Звездочка ведущая.
Привод шнеков. Звездочка натяжная.
Привод шнеков. Звездочка промежуточная
Привод шнеков. Крышки. Успокоитель.
Установка шнеков
Шнек
Установка ножей
Лыжи опорные
Подвеска рабочего органа
Установка привода включения КОМ
1
2
3
3
4
4
5
5
6
7
8
Позиция на иллюстрации
Заводской номер детали
Название детали
1
Гайка М8-6H
Гайка
2
Шайба 8
Шайба
3
250513
Гайка
4
252136
Шайба
5
331463-П29
Болт
6
ДЗ-122.109.02.000
Вал карданный
7
СО-4607801
Кожух
8
Болт М8x25
Болт
Содержащиеся в справочниках-каталогах запасные части и детали не предлагаются к продаже, а носят исключительно информационный характер
Дополнительная информация
×
Название:
Номер:
Примечание: