Вернуться на главную
Поиск
Каталоги запчастей к технике
Спецтехника
Shehwa HBXG
SD7
1Т16302 Двухфланцевый опорный каток
Каталог запасных частей к технике: Shehwa HBXG SD7. 1Т16302 Двухфланцевый опорный каток
zoom-in
zoom-out
enlarge
shrink
circle-right
circle-left
file-text2
info
cart
Тип техники
Не выбрано
Легковые автомобили
Грузовые автомобили и прицепы
Автобусы
Сельхозтехника
Спецтехника
Двигатели
Мототехника
Марка
Не выбрано
Ammann
BOMAG
CARMIX
CASE IH
Changlin
ChengGong
Dimex
Doosan
DYNAPAC
Foton
HAMM
Hidromek
Hitachi
Hyundai
JCB
JLG
John Deere
Komatsu
LIEBHERR
LiuGong
Lonking (LongGong)
Luneng
MANITOU
Mitsuber
New Holland
PENGPU
RM-Terex
SANY
SDLG
SEM
Shantui
Shehwa HBXG
Soosan
TIGARBO
VOGELE
Volvo
WAY
WIRTGEN
XCMG
XGMA
Xiamen
YTO
Yuchai
Zoomlion
Автокран
АЗСМ
Алтайлесмаш
Амкодор
АОМЗ
Атек
АТЗ
Балканкар Рекорд
БелАЗ
Беловеж
Борекс
Брянский Арсенал
Булат
ВЭКС
ГАЗ
Геомаш
Гидромаш
Донекс
Дормаш
Дормашина
Дорэлектромаш
ДЭЗ
ЕлАЗ
ЗЗГТ
Ижнефтемаш
Канаш-электрокар
КЗКТ
ККЗ
Клевер
Клинцовский автокрановый завод
КМЗ
КМЗ 1 Мая
Ковровец
Коммаш
Кранэкс
КЭЗ
КЭМЗ
ЛЗА
МАЗ
МЗИК
МЗКМ
МЗКТ
Михневский РМЗ
МоАЗ
Мозырский МЗ
МТЗ
ОЗП
Онежец
ПАО "ТЗА"
ППС Детва
Промтрактор
ПТЗ
Раскат
СпецАгрегат
ТВЭКС
ТТМ
УВЗ
Угличмаш
УЗТМ
ХТЗ
ЧЗКМ
ЧСДМ
ЧТЗ
ЭКСКО
ЭКСМАШ
ЮрМаш
Модель
Не выбрано
SD7 (2007)
Схема
>
Не выбрано
SD7 LGP Бульдозер
0136000 Кабина-Ропс
0Т18000 Кабина-Ропс
0Т55000 Кабина - Ропс с кондиционером
0Т56000 Система кондиционирования
0Т56008 Кондиционер (BKD3)
0T36003 Правая дверь
0Т36027 Правая дверь
0Т36042 Детали для фиксации правой двери
0Т36053 Ропс в сборе
0Т36077 Левая дверь
0Т08015 Аккумуляторный ящик
0Т01000 Двигатель в cборе
0Т42000 Двигатель в сборе
0Т42100 Радиатор
0Т42001 Двигатель в сборе
0Т42200 Защитный колпак вентилятор
0Т42300 Раздаточная коробка
0Т43000 Управление газом
0Т46000 Топливная система
0Т19000 Топливная система
0Т20000 Тяговый механизм
0Т05000 Конечная передача
0Т50000 Конечная передача
0Т01300 Раздаточная коробка
0Т02000 Гидротрансформатор
0Т02044 Клапан давления на выходе
0T03000 0Т27000 Механизм передач в сборе
0Т03010 Коробка передач
0Т03200 Центральная передача
0Т03237 Суппорт правый
0Т03241 Суппорт левый
0Т03300 Задняя крышка в сборе
0Т03400 Главный приводной вал
0Т03500 0T27001 Защитный колпак главного приводного вала
0Т04000 Бортовой и тормозной фрикционы
0Т24000 Колпак - передная защитная плита
0129000 Колпак - передная защитная плита
0Т25000 0Т51000 Рама - задний мост
0Т07083 Балансир
0Т07135 Скользящее ограждение
0Т08000 Кривая плита в сборе, левый и правый
0Т08154 Смазочная система шкворня
0Т53000 Левая, Т54000 правая ходовая часть
0Т53001 Направляющая плита гусеницы в сборе
0Т53009 Левый, 0Т54009 правый натяжной механизм гусеницы
0Т53011 Гусеница в сборе
0Т16000 Левая ходовая часть
0Т16016 Направляющее колесо в сборе
0Т16019 Вилка в сборе
0Т16067 Уплотнительная втулка
0Т16082 Натяжной механизм гусеницы
0Т16250 Гусеница в сборе А-216-560-40
1Т16302 Двухфланцевый опорный каток
1Т16313 Однофланцевый опорный каток
0Т17000 Правая ходовая часть
Поддерживающий каток 216х185
0Т39000 Гидросистема шасси
0Т23000 Гидросистема шасси
0Т28000 Гидросистема шасси
0Т41000 Гидроцилиндр подъема в сборе
0Т41014 Гидроцилиндр подъема в сборе
0Т41015 0Т64002 Гидроцилиндр подъема
0Т56010 Трубопроводы
0Т64000 Гидроцилиндр подъема в сборе
0Т64001 Гидроцилиндр рабочего оборудования
0Т66000 Контур управления перекосом
0Т66012 Кривой рычаг в сборе
0Т68000 Гидросистема рабочего оборудования
0Т09000 Управление клапаном переключения передач
0Т10000 Система управления поворотом и торможением
0Т11000 Управление газом
0Т12000 Гидросистема шасси
0Т12044 Переливной клапан
0Т12056 Фильтр тонкой очистки
0Т12142 Фильтр грубой очистки
0Т12150 Клапан управления коробкой передач
0Т12192 Клапан последовательного включения
0Т12200 Клапан управления поворотом и торможением
0Т13345 0Т41018 Гидроцилиндр рабочего оборудования
0Т13325 Гидроцилиндр подъема
0Т13362 Клапан быстрого опускания
0Т13033 Клапан управления
0Т13034 Вводный клапан в сборе
0Т13036 Клапан противодавления
0Т13043 Сердечник клапана в сборе
0Т13054 Всасывающий клапан
0Т13058 Главный предохранительный клапан
0Т13071 Бульдозерный реверсивный клапан в сборе
0Т13122 Управление рабочим оборудованием
0Т13144 Гидробак
0Т13150 Предохранительный клапан в сборе
0Т13165 Вводный и выходной клапан
0Т14000 Рабочее оборудование
0Т14065 Правый раскос
0Т14089 Левый раскос
0Т15000 Панель - кресло оператора
0Т52000 Бульдозерное оборудование
0Т52038 Подкос
0Т31000 Рыхлительное оборудование
0Т31043 Зуб рыхлителя
0Т31070 Гидросистема рыхлителя
0131087 Рыхлительный реверсивный клапан в сборе
0Т31093 Левый, 0Т31108 правый гидроцилиндр
0Т32000 Отвал перекоса
0Т32135 Левый брус
0132143 Подкос
0132154 Раскос
0Т32162 Правый брус
0Т32251 Гидроцилиндр перекоса
0132227 Реверсивный клапан перекоса
0Т33000 Трехзубый рыхлитель
0Т33013 Зуб рыхлителя
0T22000 Электрическая система
0Т22044 Панель приборов в сборе
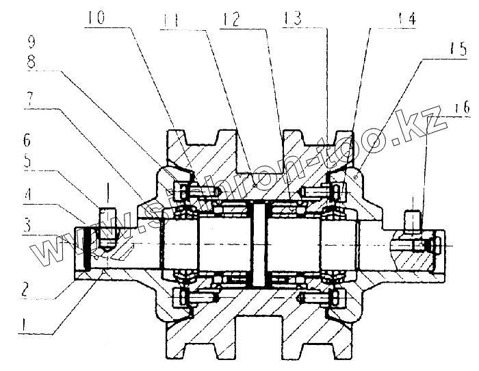
1
2
3
4
5
6
7
8
9
10
11
12
13
14
15
16
Позиция на иллюстрации
Заводской номер детали
Название детали
1
0Т16303
Внутренняя крышка
2
0Т16304
Упорный палец
3
0Т16305
Вал опорного катка
4
0Т16306
Шпонка
5
GB5782-86
Болт
6
GB93-87
Шайба
7
GB/T3452.1-92
О-образное уплотнительное кольцо
8
GB5783-86
Болт
9
GB93-87
Шайба
10
GB/T3452.1-92
О-образное уплотнительное кольцо
11
0Т16307
Двухфланцевый опорный каток
12
0Т16308
Втулка в сборе
13
0Т16309
О-образное кольцо
14
0Т16310
Плавающее уплотнительное кольцо
15
0Т16311
Внешняя крышка
16
0Т16312
Болт-пробка
Содержащиеся в справочниках-каталогах запасные части и детали не предлагаются к продаже, а носят исключительно информационный характер
Дополнительная информация
×
Название:
Номер:
Примечание: