Каталог запасных частей к технике: Shantui SL-30W. Instrument Desk (XZ)
1
2
3
4
5
6
7
8
9
10
11
12
13
14
15
16
17
18
19
20
21
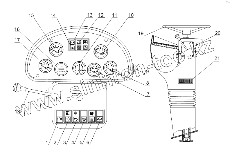
| Позиция на иллюстрации | Заводской номер детали | Название детали | |
|---|---|---|---|
| 1 | JK932-002 | Switch | |
| 2 | JK932-148 | Switch | |
| 3 | JK932-148 | Switch | |
| 4 | JK932-002 | Switch | |
| 5 | JK932-148 | Switch | |
| 6 | JK932-047 | Wiper switch | |
| 7 | Barometer | Barometer | |
| 8 | DW2ZA | Engine water thermometer | |
| 9 | LD62Z-050 | Critical button switch | |
| 10 | YT-202Z | Oil pressure gauge | |
| 11 | DV-2 | Voltmeter | |
| 12 | 8SQS.359 | Indicator | |
| 13 | 8SQS.359 | Indicator | |
| 14 | 8SQS.359 | Indicator | |
| 15 | YT-202Z | Oil pressure gauge | |
| 16 | DJ-2 | Man-hour table | |
| 17 | DW-2ZB | Torque-converter oil temperature | |
| 18 | DG936-BSCZ -DG930B-1300 | Control flexible shaft | |
| 19 | ZL30-15-FXP | Steering wheel | |
| 20 | JD23B | Flameout relay | |
| 21 | ZL30-15-20 | Fuse box |
Содержащиеся в справочниках-каталогах запасные части и детали не предлагаются к продаже, а носят исключительно информационный характер