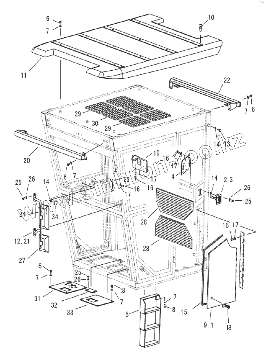
Каталог запасных частей к технике: Shantui SG16-3. CAB ASSY
1
2
3
4
5
6
6
6
7
7
7
7
7
7
8
8
8
9
10
11
12
13
14
14
14
15
16
16
16
16
17
17
17
17
18
19
20
21
22
23
24
25
25
25
26
26
26
27
28
28
29
29
30
31
32
33
34
| Позиция на иллюстрации | Заводской номер детали | Название детали | |
|---|---|---|---|
| 1 | 222-56-05000 | Guard | |
| 2 | 222-56-08000 | Lock | |
| 3 | 222-56-09000 | Lock | |
| 4 | 222-56-00010 | Plate | |
| 5 | 222-56-14000 | Pedal | |
| 6 | 01010-51220 | Болт | |
| 7 | 01643-31232 | Шайба | |
| 8 | 01010-51230 | Болт | |
| 9 | 222-56-04000 | Guard | |
| 10 | 222-56-00023 | Bolt, hoisting eye | |
| 11 | 222-56-00005 | Ceiling plate | |
| 12 | 222-56-15000 | Mirror frame | |
| 13 | 222-56-11000 | Block | |
| 14 | 01580-01008 | Гайка | |
| 15 | 222-56-00016 | Strip | |
| 16 | 01235-40610 | Bolt | |
| 17 | 01640-20610 | Washer | |
| 18 | 222-56-22000 | Lock | |
| 19 | 279-56-02000 | Mirror | |
| 20 | 222-56-12000 | Seat, front | |
| 21 | 222-56-16000 | Mirror frame | |
| 22 | 222-56-13000 | Seat, rear | |
| 23 | 222-56-10000 | Handle | |
| 24 | 222-56-19000 | Mirror | |
| 25 | 01010-51025 | Болт | |
| 26 | 01643-31032 | Шайба | |
| 27 | 222-56-20000 | Mirror | |
| 28 | 222-56-00018 | Sponge | |
| 29 | 222-56-00019 | Sponge | |
| 30 | 222-56-00020 | Sponge | |
| 31 | 222-56-00025 | Plate | |
| 32 | 222-56-00012 | Plate | |
| 33 | 222-56-00013 | Plate | |
| 34 | 263-56-00018 | Cover |
Содержащиеся в справочниках-каталогах запасные части и детали не предлагаются к продаже, а носят исключительно информационный характер