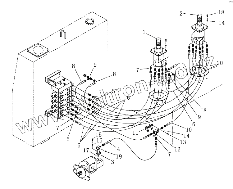
Каталог запасных частей к технике: Shantui SD42-3. PILOT CONTROL PIPING ASSY
1
2
3
4
5
5
6
6
6
7
7
7
8
8
8
9
9
10
11
12
13
14
14
15
16
17
18
19
20
| Позиция на иллюстрации | Заводской номер детали | Название детали | |
|---|---|---|---|
| 1 | 31Y-72-01000 | Blade pilot valve | |
| 2 | 31Y-72-02000 | Ripper pilot valve | |
| 3 | 552-61-09000 | Tube | |
| 4 | 31Y-72-03000 | Hose | |
| 5 | 31Y-72-04000 | Hose | |
| 6 | 31Y-72-04000 | Hose | |
| 7 | 31Y-72-06000 | Joint | |
| 8 | 31Y-72-07000 | Hose | |
| 9 | 31Y-72-08000 | T-joint | |
| 10 | 31Y-72-10000 | Hose | |
| 11 | 31Y-72-11000 | Plate | |
| 12 | 31Y-72-11000 | Plate | |
| 13 | 01010-50616 | Болт | |
| 14 | 01643-30623 | Прокладка | |
| 15 | 01010-50825 | Болт | |
| 16 | 01643-30823 | Шайба | |
| 17 | 07000-12021 | O-ring | |
| 18 | 01220-40625 | Screw | |
| 19 | 07042-20108 | Заглушка | |
| 20 | 31Y-72-09000 | Plate |
Содержащиеся в справочниках-каталогах запасные части и детали не предлагаются к продаже, а носят исключительно информационный характер