Каталог запасных частей к технике: Shantui SD42-3. BOTTOM GUARD
1
2
3
4
5
6
6
7
8
9
10
12
13
14
15
15
16
17
18
19
20
21
22
23
24
25
26
27
28
29
30
31
32
33
34
35
36
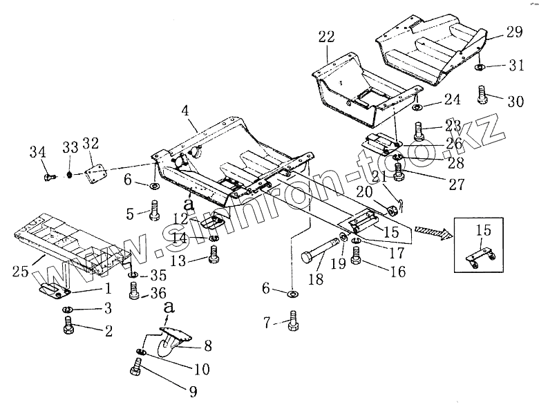
| Позиция на иллюстрации | Заводской номер детали | Название детали | |
|---|---|---|---|
| 1 | 31Y-52-06000 | Cover | |
| 2 | 01010-51230 | Болт | |
| 3 | 01643-31232 | Шайба | |
| 4 | 31Y-52-01000 | Bottom guard, front | |
| 5 | 01011-52400 | Болт | |
| 6 | 01643-32460 | Уплотнительная шайба | |
| 7 | 01010-52465 | Bolt | |
| 8 | 180-54-13160 | hook | |
| 9 | 01010-52075 | bolt | |
| 10 | 01643-32060 | Шайба | |
| 12 | 31Y-52-06000 | Cover | |
| 13 | 01010-51230 | Болт | |
| 14 | 01643-31232 | Шайба | |
| 15 | 175-54-23461 | bracket | |
| 16 | 01010-52465 | Bolt | |
| 17 | 01643-32460 | Уплотнительная шайба | |
| 18 | 175-54-23471 | bolt | |
| 19 | 01640-23045 | Шайба | |
| 20 | 01590-03033 | Гайка | |
| 21 | 04050-16355 | pin, cotter | |
| 22 | 31Y-52-02000 | Bottom guard, middle | |
| 23 | 01010-52465 | Bolt | |
| 24 | 01643-32460 | Уплотнительная шайба | |
| 25 | 31Y-52-07000 | Cover | |
| 26 | 31Y-52-04000 | Cover | |
| 27 | 01010-51230 | Болт | |
| 28 | 01643-31232 | Шайба | |
| 29 | 31Y-52-03000 | Bottom guard, rear | |
| 30 | 01010-52465 | Bolt | |
| 31 | 01643-32460 | Уплотнительная шайба | |
| 32 | 31Y-52-00001 | Cover | |
| 33 | 01643-31232 | Шайба | |
| 34 | 01010-51230 | Болт | |
| 35 | 01643-32460 | Уплотнительная шайба | |
| 36 | 01010-52465 | Bolt |
Содержащиеся в справочниках-каталогах запасные части и детали не предлагаются к продаже, а носят исключительно информационный характер