Каталог запасных частей к технике: Shantui SD32. ELECTRICAL SYSTEM
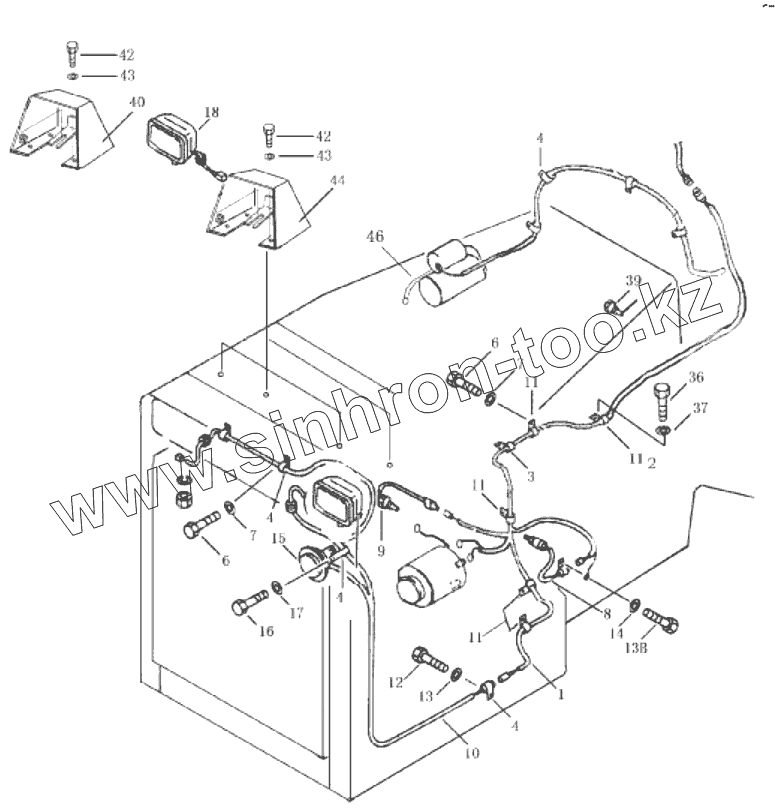
1
1
2
3
4
4
4
6
6
7
7
8
9
10
11
11
11
11
11
12
13
15
16
17
18
36
37
39
40
42
42
43
43
44
46
| Позиция на иллюстрации | Заводской номер детали | Название детали | |
|---|---|---|---|
| 1 | 171-07-03000 | wiring harness | |
| 2 | 23Y-07E-03000 | tie in | |
| 3 | 08035-02514 | Провододержатель | |
| 4 | 08035-01512 | Провододержатель | |
| 6 | 01010-51220 | Болт | |
| 7 | 01643-31232 | Шайба | |
| 8 | D2300-00000 | Индикатор давления | |
| 9 | D2320-00000 | Индикатор температуры масла | |
| 10 | 171-07-04000 | wiring harness | |
| 11 | 08035-02510 | Провододержатель | |
| 12 | 01010-51220 | Болт | |
| 13 | 01643-31232 | Шайба | |
| 14 | 01643-31032 | Шайба | |
| 15 | D2711-10500 | Клаксон | |
| 16 | 01010-50820 | Болт | |
| 17 | 01643-30823 | Шайба | |
| 18 | D2401-07000 | Большая лампа | |
| 36 | 01010-51050 | Болт | |
| 37 | 01643-31032 | Шайба | |
| 39 | D2160-00800 | Индикатор воздушного фильтра | |
| 40 | 23Y-07B-13000 | Cover | |
| 42 | 01010-51220 | Болт | |
| 43 | 01643-31232 | Шайба | |
| 44 | 23Y-07B-12000 | Cover | |
| 45 | 16Y-07C-10000 | Пластина защитная | |
| 46 | 23Y-07B-08000 | Wire, earth |
Содержащиеся в справочниках-каталогах запасные части и детали не предлагаются к продаже, а носят исключительно информационный характер