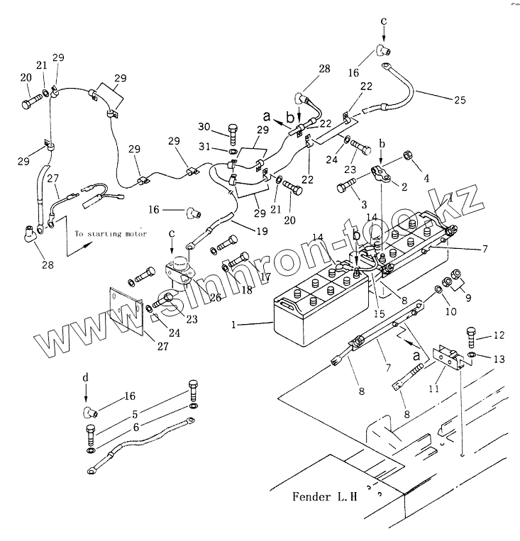
Каталог запасных частей к технике: Shantui SD23 (вариант). BATTERY AND RELAY SWITCH
1
1
2
2
3
4
5
6
7
7
8
8
8
9
10
11
12
13
14
14
15
16
16
16
17
18
19
20
20
21
21
22
22
22
23
23
24
24
25
26
27
27
28
28
29
29
29
29
29
29
29
| Позиция на иллюстрации | Заводской номер детали | Название детали | |
|---|---|---|---|
| 1 | D1010-20000 | battery | |
| 2 | 08000-00000 | Клемма “+” | |
| 2 | 08000-00001 | Клемма минусовая | |
| 3 | 01010-30830 | Болт | |
| 4 | 01580-00806 | Гайка | |
| 5 | 01050-31018 | Болт | |
| 6 | 01640-01016 | Прокладка | |
| 7 | 195-06-19461 | Крепежная планка | |
| 8 | 175-06-39621 | Тяговая штанга | |
| 9 | 01580-11008 | Гайка | |
| 10 | 01643-31032 | Шайба | |
| 11 | 17Y-07-13000 | bracket | |
| 12 | 01010-51220 | Болт | |
| 13 | 01643-31232 | Шайба | |
| 14 | D2000-0000 | Cap | |
| 15 | 154-06-18581 | cable | |
| 16 | D2000-00001 | Insulating sleeve | |
| 17 | 01010-50820 | Болт | |
| 18 | 01643-30823 | Шайба | |
| 19 | 17Y-07C-08000 | cable | |
| 20 | 01010-51220 | Болт | |
| 21 | 01643-31232 | Шайба | |
| 22 | 08035-12510 | Clip | |
| 23 | 01010-51016 | Болт | |
| 24 | 01643-31032 | Шайба | |
| 25 | 17Y-07C-05000 | cable | |
| 26 | D2601-60000 | Релейный переключатель | |
| 27 | 17Y-07B-07000 | plate | |
| 28 | 08038-00518 | Колпак | |
| 29 | 08035-12512 | Clip |
Содержащиеся в справочниках-каталогах запасные части и детали не предлагаются к продаже, а носят исключительно информационный характер