Вернуться на главную
Поиск
Каталоги запчастей к технике
Спецтехника
Shantui
Shantui SD23
ELECTRICAL SYSTEM
Каталог запасных частей к технике: Shantui SD23. ELECTRICAL SYSTEM
zoom-in
zoom-out
enlarge
shrink
circle-right
circle-left
file-text2
info
cart
Тип техники
Не выбрано
Легковые автомобили
Грузовые автомобили и прицепы
Автобусы
Сельхозтехника
Спецтехника
Двигатели
Мототехника
Марка
Не выбрано
Ammann
BOMAG
CARMIX
CASE IH
Changlin
ChengGong
Dimex
Doosan
DYNAPAC
Foton
HAMM
Hidromek
Hitachi
Hyundai
JCB
JLG
John Deere
Komatsu
LIEBHERR
LiuGong
Lonking (LongGong)
Luneng
MANITOU
Mitsuber
New Holland
PENGPU
RM-Terex
SANY
SDLG
SEM
Shantui
Shehwa HBXG
Soosan
TIGARBO
VOGELE
Volvo
WAY
WIRTGEN
XCMG
XGMA
Xiamen
YTO
Yuchai
Zoomlion
Автокран
АЗСМ
Алтайлесмаш
Амкодор
АОМЗ
Атек
АТЗ
Балканкар Рекорд
БелАЗ
Беловеж
Борекс
Брянский Арсенал
Булат
ВЭКС
ГАЗ
Геомаш
Гидромаш
Донекс
Дормаш
Дормашина
Дорэлектромаш
ДЭЗ
ЕлАЗ
ЗЗГТ
Ижнефтемаш
Канаш-электрокар
КЗКТ
ККЗ
Клевер
Клинцовский автокрановый завод
КМЗ
КМЗ 1 Мая
Ковровец
Коммаш
Кранэкс
КЭЗ
КЭМЗ
ЛЗА
МАЗ
МЗИК
МЗКМ
МЗКТ
Михневский РМЗ
МоАЗ
Мозырский МЗ
МТЗ
ОЗП
Онежец
ПАО "ТЗА"
ППС Детва
Промтрактор
ПТЗ
Раскат
СпецАгрегат
ТВЭКС
ТТМ
УВЗ
Угличмаш
УЗТМ
ХТЗ
ЧЗКМ
ЧСДМ
ЧТЗ
ЭКСКО
ЭКСМАШ
ЮрМаш
Модель
Не выбрано
SD16 (2010)
SD16 (вариант) (2014)
SD16E (2010)
SD16L (2010)
SD22 (вариант) (2013)
SD32 (вариант) (2011)
Shantui SD10YE (2015)
Shantui SD16 (2008)
Shantui SD22 (2008)
Shantui SD23 (2003)
Shantui SD23 (вариант) (2013)
Shantui SD32 (2005)
Shantui SD42-3 (2008)
Shantui SG16-3 (2014)
Shantui SG18-3 (2014)
SL-30W (2010)
SL-50W (2013)
Каток SR12-5 (2013)
Каток SR14M-2 (2012)
Каток SR16 (2014)
Каток SR18 (2011)
Каток SR18M (2010)
Каток SR20M (2014)
Погрузчик SF15, SF18 (2010)
Погрузчик SF30 (2013)
Погрузчик SF45T (2013)
Погрузчик SF50/SF60/SF70 (2013)
Погрузчик вил. 2-2.5t (2010)
Схема
>
Не выбрано
ENGINE MOUNT
FRONT SUPPORT
AIR CLEANER AND CAP
EXHAUST MANIFOLD AND MUFFLER
FLYWHEEL HOUSING ASS’Y
POWER TAKE OFF
P.T.O.LUBRICATING OIL PIPING
TRANSFER CASE
RADIATOR
RADIATOR PIPING AND WIND BREAK
FAN
FAN BELT
FUEL TANK
FUEL PIPING
FUEL CONIROL LEVER
DECELERATOR PEDAL
FUEL CONTROL LINKAGE
UNIVERSAL JOINT
TORQUE CONVERTER
TORQUE CONVERTER
TRANSMISSION CASE
TRANSMISSION GEAR AND SHAFT
TRANSMISSION GEAR AND SHAFT
TRANSMISSION GEAR AND SHAFT
TRANSMISSION TRANSFER
TRANSMISSION VALVE
TRANSMISSION VALVE
TRANSMISSION VALVE COVER AND LEVER
STEERING CASE AND MAIN FRAME
BEVEL GEAR AND SHAFT
STEERING CLUTCH
BRAKE BAND AND LINKAGE
STEERING CASE COVER
BRAKE BOOSTER
FINAL DRIVE CASE AND GEAR
FINAL DRIVE CASE AND GEAR
SPROCKET AND SHAFT
TRACK FRAME
RECOIL SPRING
TRACK FRAME COVER
IDLER
TRACK ROLLER
TRACK ROLLER GUARD
CARRIER ROLLER
TRACK SHOE (LUBRICATE TYPE)
SD23S TRACK SHOE (LUBRICATE TYPE)
TRACK SHOE (MASTER PIN TYPE)
TRANSMISSION CONTROL LEVER
TRANSMISSION CONTROL LINKAGE
TRANSMISSION CONTROL LINKAGE
TRANSMISSION CONTROL LINKAGE
STEERING CONTROL LEVER
STEERING AND BRAKE LINKAGE
STEERING AND BRAKE LINKAGE
BRAKE PEDAL
PARKING BRAKE LEVER
STEERING CONTROL VALVE
MAIN RELIEF VALVE
TRANSMISSION OIL FILTER
OIL STRAINER
STEERING PIPING
STEERING PIPING
STEERING PIPING
TRANSMISSION PUMP
STEERING PUMP
TOROUE CONVERTER AND OIL COOLER PIPING
TORQFLOW TRANSMISSION PIPING
BRAKE PIPING
CONCENTRATED PIPING
TEST PRESSURE PIPING
FRONT HOOD
ENGINE HOOD
FENDER
SUPPORT
REAR COVER
FLOOR PLATE
BATTERY COVER
BOTTOM GUARD
ROLL OVER PROTECTIVE STRUCTURE
ROLLOVER PROTECTIVE STRUCTURE BRACKET
EQUALIZER BAR
WORK VALVE MOUNT
WORK VALVE MOUNT (WITH THREE SHANK RIPPER)
WORK EQUIPMENT VALVE MOUNT (WITH SINGLE SHANK RIPPER)
HYDRAULIC TANK
CYLINDER STAY
WORK EQUIPMENT PUMP
WORK EQUIPMENT PUMP
BLADE CONTROL VALVE
BLADE CONTROL VALVE
BLADE CONTROL VALVE
BLADE CONTROL VALVE
BLADE CONTROL VALVE
THREE SHANK RIPPER CONTROL VALVE
THREE SHANK RIPPER CONTROL VALVE
SINGLE SHANK RIPPER CONTROL VALVE
SINGLE SHANK RIPPER CONTROL VALVE
BLADE LIFT CYLINDER
BLADE LIFT CYLINDER
HYDRAULIC PIPING (TANK TO PUMP)
HYDRAULIC PIPING (TANK TO LIFT CYLINDER)
HYDRAULIC PIPING (TANK TO LIFT CYLINDER)
HYDRAULIC PIPING (TANK TO TILT CYLINDER)
HYDRAULIC PIPING (TANK TO CYLINDER) FOR SD23S)
HYDRAULIC PIPING(TANK TO THREE SHANK RIPPER CYLINDER)
HYDRAULIC PIPING(TANK TO THREE SHANK RIPPER CYLINDER)
BLADE CONTROL LEVER
BLADE CONTROL LINKAGE
ANGLE BLADE CONTROL LEVER
ANGLE BLADE CONTROL LINKAGE
THREE SHANK RIPPER CONTROL LEVER
THREE SHANK RIPPER CONTROL LINKAGE
SINGLE SHANK RIPPER CONTROL LEVER
SINGLE SHANK RIPPER CONTROL LEVER
SINGLE SHANK RIPPER CONTROL LEVR
STRAIGHT TILT BLADE
STRAIGHT TILT FRAME
BLADE TILT CYLIDER
BLADE TILT CYLINDER PIPING
STRAIGHT TILT FRAME
ANGLE BLADE
C-FRAME
U-BLADE
THREE SHANK RIPPER
THREE SHANK RIPPERRIPPER CYLINDER
THREE SHANK RIPPER PIPING
SINGLE SHANK RIPPER
SINGLE SHANK RIPPER LIFT CYLINDER
SINGLE SHANK RIPPER TILT CYLINDER
SINGLE SHANK RIPPER PIPING
DRAW BAR
CANOPY
STEEL CAB
DRAW BAR (For SD23S)
ELECTRICAL SYSTEM
ELECTRICAL SYSTEM
INSTRUMENT BOX
RELAY AND FUSE PANEL
BATTERY AND RELAY SWITCH
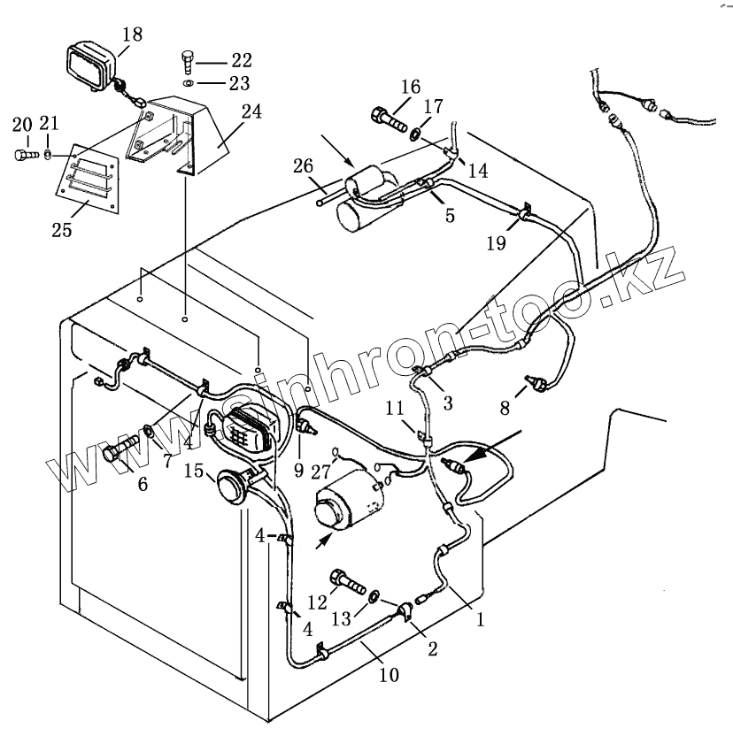
1
2
3
4
4
4
5
6
7
8
9
10
11
12
13
14
15
16
17
18
19
20
21
22
23
24
25
26
27
Позиция на иллюстрации
Заводской номер детали
Название детали
1
17Y-07C-02000
wiring harness
2
08035-11010
Clip
3
08035-12014
Clip
4
08035-11014
Clip
5
08034-20519
Hoop
6
01010-51220
Болт
7
01643-31232
Шайба
8
D2300-00000
Индикатор давления
9
D2310-00000
Датчик температуры воды
10
17Y-07C-01000
wiring harness
11
08035-02010
Clip
12
01010-51016
Болт
13
01643-31032
Шайба
14
08035-12514
сlip
15
D2711-10500
Клаксон
16
01010-51220
Болт
17
01643-31232
Шайба
18
D2401-07001
Фара
19
D2160-00800
Индикатор воздушного фильтра
20
01010-50814
Болт
21
01643-30823
Шайба
22
01010-51220
Болт
23
01643-31232
Шайба
24
17Y-07B-13000
cover
25
17Y-07B-14000
plate
26
23Y-07E-12000
wire, earth
27
23Y-07E-02000
wire, earth
Содержащиеся в справочниках-каталогах запасные части и детали не предлагаются к продаже, а носят исключительно информационный характер
Дополнительная информация
×
Название:
Номер:
Примечание: