Каталог запасных частей к технике: Shantui SD22. Направляющее колесо
1
2
3
4
4
5
5
6
6
7
7
8
8
9
9
10
10
10
10
11
11
12
12
13
13
14
14
15
16
17
17
18
18
20
20
21
21
21
21
22
22
22
22
23
23
24
24
25
25
26
26
27
27
28
28
29
29
30
30
35
35
36
36
37
37
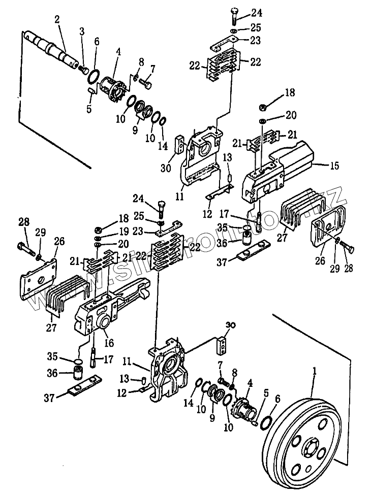
| Позиция на иллюстрации | Заводской номер детали | Название детали | |
|---|---|---|---|
| 1 | 150-30-22118 | Направляющее колесо | |
| 2 | 154-30-23122 | Вал направляющего колеса | |
| 3 | 07052-21624 | Заглушка | |
| 4 | 155-30-16201 | Распорное кольцо | |
| 5 | 170-30-91130 | Фиксирующий штифт | |
| 6 | 07000-02110 | Кольцо | |
| 7 | 01010-51235 | Болт | |
| 8 | 01602-21236 | Рессорная шайба | |
| 9 | 154-30-12271 | Герметичное кольцо | |
| 10 | 150-30-12220 | Кольцо | |
| 11 | 154-30-12641 | Направляющая пластина | |
| 12 | 154-30-11963 | Амортизационная пластина | |
| 13 | 04022-12025 | Штифт | |
| 14 | 07000-02060 | Кольцо | |
| 15 | 154-30-12611 | Опора (левая) | |
| 16 | 154-30-12621 | Опора (правая) | |
| 17 | 154-30-12650 | Штифт | |
| 18 | 175-30-23180 | Гайка | |
| 20 | 01643-31645 | Шайба | |
| 21 | 154-30-05040 | Уплотнительная прокладка | |
| 22 | 154-30-05050 | Уплотнительная прокладка | |
| 23 | 154-30-12670 | Прижимная пластина | |
| 24 | 154-30-12660 | Винт | |
| 25 | 01602-21648 | Шайба | |
| 26 | 154-30-11683 | Боковая пластина | |
| 27 | 154-30-05060 | Уплотнительная прокладка | |
| 28 | 01011-52055 | Болт | |
| 29 | 01602-22060 | Рессорная шайба | |
| 30 | 154-30-12730 | Гнездо | |
| 35 | 195-30-17960 | Прокладочная пластина | |
| 36 | 155-30-13230 | Резиновая шайба | |
| 37 | 175-30-24131 | Направляющая пластина | |
| 154-30-00291 | 154-30-00291 | Направляющее колесо |
Содержащиеся в справочниках-каталогах запасные части и детали не предлагаются к продаже, а носят исключительно информационный характер