Вернуться на главную
Поиск
Каталоги запчастей к технике
Спецтехника
Shantui
Shantui SD22
Маркировка
Каталог запасных частей к технике: Shantui SD22. Маркировка
zoom-in
zoom-out
enlarge
shrink
circle-right
circle-left
file-text2
info
cart
Тип техники
Не выбрано
Легковые автомобили
Грузовые автомобили и прицепы
Автобусы
Сельхозтехника
Спецтехника
Двигатели
Мототехника
Марка
Не выбрано
Ammann
BOMAG
CARMIX
CASE IH
Changlin
ChengGong
Dimex
Doosan
DYNAPAC
Foton
HAMM
Hidromek
Hitachi
Hyundai
JCB
JLG
John Deere
Komatsu
LIEBHERR
LiuGong
Lonking (LongGong)
Luneng
MANITOU
Mitsuber
New Holland
PENGPU
RM-Terex
SANY
SDLG
SEM
Shantui
Shehwa HBXG
Soosan
TIGARBO
VOGELE
Volvo
WAY
WIRTGEN
XCMG
XGMA
Xiamen
YTO
Yuchai
Zoomlion
Автокран
АЗСМ
Алтайлесмаш
Амкодор
АОМЗ
Атек
АТЗ
Балканкар Рекорд
БелАЗ
Беловеж
Борекс
Брянский Арсенал
Булат
ВЭКС
ГАЗ
Геомаш
Гидромаш
Донекс
Дормаш
Дормашина
Дорэлектромаш
ДЭЗ
ЕлАЗ
ЗЗГТ
Ижнефтемаш
Канаш-электрокар
КЗКТ
ККЗ
Клевер
Клинцовский автокрановый завод
КМЗ
КМЗ 1 Мая
Ковровец
Коммаш
Кранэкс
КЭЗ
КЭМЗ
ЛЗА
МАЗ
МЗИК
МЗКМ
МЗКТ
Михневский РМЗ
МоАЗ
Мозырский МЗ
МТЗ
ОЗП
Онежец
ПАО "ТЗА"
ППС Детва
Промтрактор
ПТЗ
Раскат
СпецАгрегат
ТВЭКС
ТТМ
УВЗ
Угличмаш
УЗТМ
ХТЗ
ЧЗКМ
ЧСДМ
ЧТЗ
ЭКСКО
ЭКСМАШ
ЮрМаш
Модель
Не выбрано
SD16 (2010)
SD16 (вариант) (2014)
SD16E (2010)
SD16L (2010)
SD22 (вариант) (2013)
SD32 (вариант) (2011)
Shantui SD10YE (2015)
Shantui SD16 (2008)
Shantui SD22 (2008)
Shantui SD23 (2003)
Shantui SD23 (вариант) (2013)
Shantui SD32 (2005)
Shantui SD42-3 (2008)
Shantui SG16-3 (2014)
Shantui SG18-3 (2014)
SL-30W (2010)
SL-50W (2013)
Каток SR12-5 (2013)
Каток SR14M-2 (2012)
Каток SR16 (2014)
Каток SR18 (2011)
Каток SR18M (2010)
Каток SR20M (2014)
Погрузчик SF15, SF18 (2010)
Погрузчик SF30 (2013)
Погрузчик SF45T (2013)
Погрузчик SF50/SF60/SF70 (2013)
Погрузчик вил. 2-2.5t (2010)
Схема
>
Не выбрано
Защита оператора
Защита оператора
Кабина
Сиденье водителя
Защитные кожухи радиатора
Оградитель двигателя
Крылья
Суппорт
Каркас пола
Коробка аккумуляторной батареи
Нижний защитный настил
Маркировка
Двигательная установка
Передний суппорт
Маховик
Приводные шестерни
Ручной газ
Механизм подачи топлива
Топливный бак
Топливные трубопроводы
Воздухоочистительный фильтр
Выпускная труба и глушитель
Масляный трубопровод
Радиатор
Трубопроводы системы охлаждения
Вентилятор
Гидротрансформатор
Турбинный вал и ходовое колесо
Коробка передач
Шестерня и вал коробки передач (1/3)
Шестерня и вал коробки передач (2/3)
Шестерня и вал коробки передач (3/3)
Раздаточная коробка и шестерня
Клапан управления коробкой передач (1/3)
Клапан управления коробкой передач (2/3)
Клапан управления коробкой передач (3/3)
Рычаг управления коробкой передач
Тяга управления коробкой передач (1/3)
Тяга управления коробкой передач (2/3)
Тяга управления коробкой передач (3/3)
Насос коробки передач
Трубопроводы гидротрансформатора (1/2)
Трубопроводы гидротрансформатора (2/2)
Трубопроводы коробки передач
Раздаточная коробка
Карданный вал
Конечная передача и шестерня (1/2)
Конечная передача и шестерня (2/2)
Цепная шестерня и вал
Рама
Балансир
Тяговый стержень
Крышка рамы
Опора гидроцилиндра
Откатный механизм
Защитная камера опорного катка
Направляющее колесо
Опорный каток
Поддерживающий каток
Гусеничный трак (стандартный тип)
Гусеничный трак (смазочный тип)
Рычаг рулевого управления и основная стойка
Коническая шестерня и вал
Рулевое сцепление
Рычаг рулевого управления
Тяга рулевого и тормозного управления (1/2)
Тяга рулевого и тормозного управления (2/2)
Педаль тормоза
Тормозная лента и групповой привод
Тормоз
Тормозной усилитель
Педаль тормоза
Тормозной рычаг
Электрооборудование (1/2)
Электрооборудование (2/2)
Панель приборов
Реле и предохранители
Аккумулятор и релейный переключатель
Рулевой насос
Клапан рулевого управления
Главный клапан регулировки давления
Масляный фильтр тонкой очистки
Масляный фильтр грубой очистки
Трубопроводы рулевого управления (1/3)
Трубопроводы рулевого управления (2/3)
Трубопроводы рулевого управления (3/3)
Трубопроводы тормозной системы
Гидросистема
Гидросистема
Гидравлический насос
Гидробак (1/2)
Гидробак (2/2)
Гидравлический фильтр
Подъемник ножа куна и клапан управления развалом (1/2)
Подъемник ножа куна и клапан управления развалом (2/2)
Клапан управления рыхлителем (1/2)
Клапан управления рыхлителем (2/2)
Подъемный гидроцилиндр ножа (1/2)
Подъемный гидроцилиндр ножа (2/2)
Гидроцилиндр развала
Гидравлические трубопроводы (от бака к насосу)
Гидравлические трубопроводы (от бака к подъемному цилиндру)
Гидравлические трубопроводы (от бака к подъемному цилиндру)
Гидравлические трубопроводы (SD22S) (1/2)
Гидравлические трубопроводы (SD22S) (2/2)
Гидравлические трубопроводы (от бака к цилиндру развала) (1/2)
Гидравлические трубопроводы (от бака к цилиндру развала) (2/2)
Гидравлические трубопроводы (SD22S) (1/2)
Гидравлические трубопроводы (SD22S) (2/2)
Сервоклапан управления развалом и рыхлителем
Система трубопровода сервоклапана
Держатель рычага управления и гнездо клапана
Рычаг управления ножом куна
Рычаг управления рыхлителем
Механизм управления подъемником и рыхлителем
Механизм управления развалом
Механизм управления ножом
Сервоклапан управления подъемником
Подъемный гидроцилиндр рыхлителя с одиночной стойкой
Гидроцилиндр, регулирующий угол рыхлителя с одиночной стойкой
Гидроцилиндр, регулирующий угол рыхлителя с одиночной стойкой (левый)
Гидроцилиндр, регулирующий угол, рыхлителя с одиночной стойкой (правый)
Гидросистема рыхлителя с одиночной стойкой
Гидросистема рыхлителя с одиночной стойкой
Гидросистема рыхлителя с одиночной стойкой
Гидросистема рыхлителя с одиночной стойкой
Гидросистема рыхлителя с одиночной стойкой
U-образный отвал
Прямой отвал
Штанговый толкатель
Прямой отвал (SD22S)
Штанговый толкатель (SD22S)
Рыхлитель
Система трубопровода рыхлителя
Гидроцилиндр рыхлителя
Угловой отвал
Дугообразная рама
У-отвал
Рыхлитель с одиночной стойкой
Рычаг управления рыхлителем с одиночной стойкой
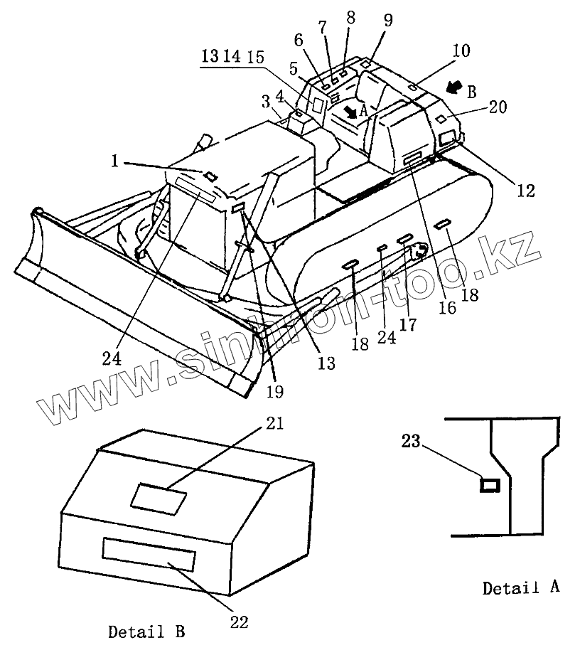
1
3
4
5
6
7
8
9
10
12
13
13
14
15
16
17
18
18
19
20
21
22
23
24
24
Позиция на иллюстрации
Заводской номер детали
Название детали
1
09966-00100
Маркировка радиатора
3
17Y-74В-00004
Заводская табличка измерения давления
4
09967-00100
Заводская табличка
5
09685-00004
Маркировка рулевой и тормозной системы
6
09670-00001
Маркировка управления куном
7
09685-00002
Маркировка рычага переключения скорости
8
09671-31683
Маркировка управления рыхлителем
9
09965-00100
Инструкция по эксплуатации рабочего гидробака
10
09656-90080
Инструкция по эксплуатации рабочего топливного бака
12
09964-13000
Логотип Шаньтуй
13
04418-00306
Заклепка
14
D85-18-01
Смазочная таблица
15
23Y-90-00005
Смазочная таблица (на английском языке)
16
158-90-00001
Заводская табличка
17
09960-01012
Центральная заводская табличка
18
09663-00100
Заводская табличка
19
09962-00100
Фирменная этикетка
20
09961-00100
Маркировка обслуживания
21
17Y-90В-00006
Заводская табличка
22
09685-00002
Маркировка рычага переключения скорости
23
09657-00100
Предохранительная табличка регулировки гусеничной ленты
24
23Y-90В-00002
Заводская табличка
Содержащиеся в справочниках-каталогах запасные части и детали не предлагаются к продаже, а носят исключительно информационный характер
Дополнительная информация
×
Название:
Номер:
Примечание: