Каталог запасных частей к технике: Shantui SD22. Гидротрансформатор
1
2
3
4
5
6
7
8
9
10
11
12
13
14
15
16
17
18
19
20
21
22
23
24
25
26
27
28
29
30
31
32
33
34
35
36
37
38
39
40
41
42
43
44
45
46
47
48
49
50
51
52
53
54
55
56
57
58
59
60
61
62
63
64
65
66
67
68
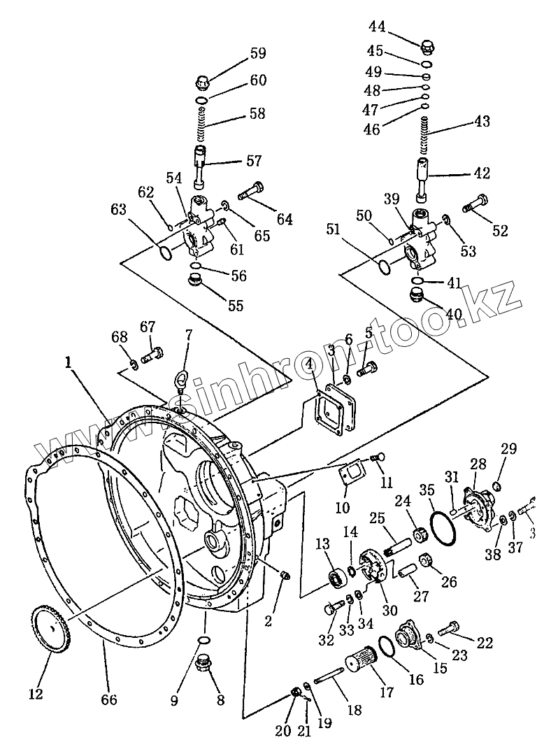
| Позиция на иллюстрации | Заводской номер детали | Название детали | |
|---|---|---|---|
| 1 | 154-13-53110 | Корпус | |
| 2 | 07042-20415 | Конусная заглушка | |
| 3 | 175-13-23220 | Крышка | |
| 4 | 175-13-23231 | Уплотнительная прокладка | |
| 5 | 01010-81225 | Болт | |
| 6 | 01602-21236 | Рессорная шайба | |
| 7 | 04530-11628 | Болт с ушком | |
| 8 | 07044-13620 | Магнитная пробка | |
| 9 | 07002-43634 | Кольцо | |
| 10 | 14Y-11-00038 | Заводская табличка | |
| 11 | 04418-03060 | Заклепка | |
| 12 | 195-13-14111 | Шестерня | |
| 13 | 06030-05206 | Подшипник | |
| 14 | 04064-03015 | Открытое кольцо | |
| 15 | 134-13-13410 | Крышка | |
| 16 | 07000-62070 | Кольцо | |
| 17 | 195-13-13420 | Фильтр | |
| 18 | 134-13-13430 | Двойной болт | |
| 19 | 01641-20608 | Шайба | |
| 20 | 01590-10607 | Гайка | |
| 21 | 04050-11212 | Разводной шплинт | |
| 22 | 01010-81230 | Заглушка | |
| 23 | 01602-21236 | Рессорная шайба | |
| 24 | 175-13-23510 | Шестерня привода | |
| 25 | 175-13-23510 | Шестерня привода | |
| 26 | 175-13-23520 | Ведомая шестерня | |
| 27 | 175-13-23520 | Ведомая шестерня | |
| 28 | 175-13-23530 | Бак | |
| 29 | 01190-01011 | Винтовая втулка | |
| 30 | 175-13-23540 | Крышка | |
| 31 | 04020-00820 | Фиксирующий штифт | |
| 32 | 01010-80835 | Болт | |
| 33 | 01602-20825 | Шайба | |
| 34 | 01641-20812 | Шайба | |
| 35 | 07000-62115 | Кольцо | |
| 36 | 01010-81235 | Болт | |
| 37 | 01602-21236 | Рессорная шайба | |
| 38 | 01641-21223 | Шайба | |
| 39 | 195-13-16100 | Предохранительный клапан | |
| 40 | 195-13-16450 | Заглушка | |
| 41 | 07002-43634 | Кольцо | |
| 42 | 195-13-16120 | Золотник предохранительного клапана | |
| 43 | 195-13-16131 | Рессора предохранительного клапана | |
| 44 | 195-13-16141 | Заглушка | |
| 45 | 07002-43634 | Кольцо | |
| 46 | 195-13-16190 | Уплотнительная прокладка | |
| 47 | 195-13-16210 | Уплотнительная прокладка | |
| 48 | 195-13-16220 | Уплотнительная прокладка | |
| 49 | 195-13-16230 | Прокладка | |
| 50 | 07000-72018 | Кольцо | |
| 51 | 07000-73045 | Кольцо | |
| 52 | 01010-81290 | Болт | |
| 53 | 01602-21236 | Рессорная шайба | |
| 54 | 175-13-26410 | Корпус регулировочного клапана | |
| 55 | 195-13-16450 | Заглушка | |
| 56 | 07002-43634 | Кольцо | |
| 57 | 195-13-16420 | Золотник регулировочного клапана | |
| 58 | 195-13-16430 | Рессора регулировочного клапана | |
| 59 | 195-13-16141 | Заглушка | |
| 60 | 07002-43634 | Кольцо | |
| 61 | 07042-20108 | Заглушка | |
| 62 | 07000-72018 | Кольцо | |
| 63 | 07000-73045 | Кольцо | |
| 64 | 01010-81295 | Болт | |
| 65 | 01602-21236 | Рессорная шайба | |
| 66 | 175-11-11111 | Уплотнительная прокладка | |
| 67 | 01010-81240 | Болт | |
| 68 | 01602-21236 | Рессорная шайба | |
| 134-13-13400 | 134-13-13400 | Фильтр |
Содержащиеся в справочниках-каталогах запасные части и детали не предлагаются к продаже, а носят исключительно информационный характер