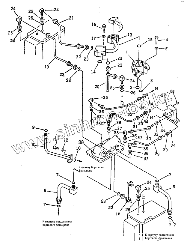
Каталог запасных частей к технике: Shantui SD16. Трубопровод гидрораспределителя и редукционного клапана
1
2
3
4
5
6
6
7
7
7
7
8
9
10
11
12
13
14
15
16
17
18
19
20
21
22
22
22
22
23
23
23
23
24
24
24
24
25
25
25
25
26
26
26
26
27
28
29
30
31
32
33
33
33
33
34
34
34
34
35
35
35
35
36
36
36
36
37
37
37
37
38
| Позиция на иллюстрации | Заводской номер детали | Название детали | |
|---|---|---|---|
| 1 | 16Y-76-23000 | Клапан редукционный | |
| 2 | 07000-03022 | Кольцо | |
| 3 | 07000-02012 | Кольцо круглого сечения | |
| 4 | 01010-51060 | Болт | |
| 5 | 01602-21030 | Шайба | |
| 6 | 16Y-76-19000 | Трубка | |
| 7 | 07000-02018 | Кольцо | |
| 8 | 16Y-16-04000 | Трубка | |
| 9 | 07000-02018 | Кольцо | |
| 10 | 07000-02015 | Кольцо | |
| 11 | 01010-51025 | Болт | |
| 12 | 01602-21030 | Шайба | |
| 13 | 16Y-76-13000 | Трубка | |
| 14 | 07000-03028 | Кольцо | |
| 15 | 07000-03025 | Кольцо | |
| 16 | 01010-51050 | Болт | |
| 17 | 01602-21030 | Шайба | |
| 18 | 16Y-76-27000 | Трубка | |
| 19 | 16Y-76-20000 | Трубка | |
| 20 | 16Y-76-26000 | Трубка | |
| 21 | 16Y-76-21000 | Трубка | |
| 22 | 07211-51016 | Штуцер | |
| 23 | 07002-01623 | Кольцо | |
| 24 | 16Y-76-00006 | Штуцер | |
| 25 | 01583-11610 | Гайка | |
| 26 | 07002-01623 | Кольцо | |
| 27 | 16Y-76-25000 | Основание | |
| 28 | 07042-20108 | Заглушка | |
| 29 | 16Y-76-17000 | Трубка | |
| 30 | 16Y-76-16000 | Трубка | |
| 31 | 16Y-76-24000 | Трубка | |
| 32 | 16Y-76-18000 | Трубка | |
| 33 | 07211-50508 | Штуцер | |
| 34 | 07002-00823 | Кольцо | |
| 35 | 16Y-76-00007 | Штуцер | |
| 36 | 01580-10806 | Гайка | |
| 37 | 07002-00823 | Кольцо | |
| 38 | 16Y-76-22000 | Гидрораспределитель рулевого управления |
Содержащиеся в справочниках-каталогах запасные части и детали не предлагаются к продаже, а носят исключительно информационный характер