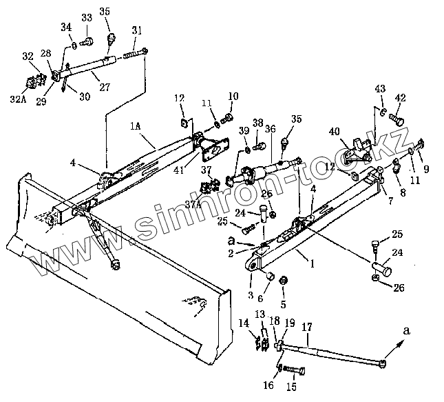
Каталог запасных частей к технике: Shantui SD16. Рама прямого наклоняемого отвала (SD16, SD16E)
1
1A
2
3
4
4
5
6
7
8
8
9
10
11
11
12
12
13
14
15
16
17
18
19
24
24
25
25
26
26
27
28
29
30
31
32
32A
33
34
35
35
36
37
37A
38
39
40
41A
42
43
| Позиция на иллюстрации | Заводской номер детали | Название детали | |
|---|---|---|---|
| 1 | 16Y-80-30000 | Тяга отвала левая | |
| 1A | 16Y-80-40000 | Тяга отвала правая | |
| 2 | 16Y-80-30012 | Кронштейн | |
| 3 | 16Y-80-30007 | Деталь соединительная | |
| 4 | 16Y-80-30004 | Кронштейн | |
| 5 | 16Y-80-30005 | Стойка | |
| 6 | 16Y-80-30006 | Стойка | |
| 7 | 16Y-80-31000 | Опора | |
| 8 | 16Y-80-00006 | Крышка левая | |
| 8 | 16Y-80-00007 | Крышка правая | |
| 9 | 01011-52465 | Болт | |
| 10 | 01011-52430 | Болт | |
| 11 | 01643-32460 | Уплотнительная шайба | |
| 12 | 16Y-80-00008 | Гайка | |
| 13 | 16Y-80-00016 | Шайба 1,00 мм | |
| 14 | 16Y-80-00015 | Шайба | |
| 15 | 01011-52055 | Болт | |
| 16 | 01643-32060 | Шайба | |
| 17 | 16Y-80-60000 | Стойка наклонная | |
| 18 | 16Y-80-60001 | Шарнир шаровой | |
| 19 | 16Y-80-60004 | Колпачок | |
| 24 | 16Y-80-00020 | Палец | |
| 25 | 01010-51265 | Болт | |
| 26 | 01598-01214 | Гайка | |
| 27 | 16Y-80-50000 | Стойка | |
| 28 | 16Y-80-50006 | Шарнир шаровой | |
| 29 | 16Y-80-50007 | Колпачок | |
| 30 | 16Y-80-51000 | Тяга | |
| 31 | 16Y-80-00005 | Стержень | |
| 32 | 16Y-80-00010 | Шайба 1,00 мм | |
| 32A | 16Y-80-00009 | Шайба 0,50 мм | |
| 33 | 01010-51865 | Болт | |
| 34 | 01643-31845 | Шайба | |
| 35 | 07020-01018 | Масленка М10х1 | |
| 36 | 16Y-63-13000 | Гидроцилиндр наклона | |
| 37 | 16Y-80-00010 | Шайба 1,00 мм | |
| 37A | 16Y-80-00009 | Шайба 0,50 мм | |
| 38 | 01010-51865 | Болт | |
| 39 | 01643-21845 | Уплотнительная шайба | |
| 40 | 16Y-80-10000 | Цапфа левая | |
| 41A | 16Y-80-20000 | Цапфа правая | |
| 42 | 01010-52045 | Болт | |
| 43 | 01643-32060 | Шайба |
Содержащиеся в справочниках-каталогах запасные части и детали не предлагаются к продаже, а носят исключительно информационный характер