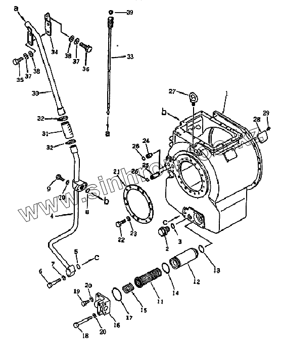
Каталог запасных частей к технике: Shantui SD16. Картер коробки передач
1
2
3
4
5
6
7
8
9
10
11
12
13
14
15
16
17
18
19
20
20
21
22
23
24
25
26
26
27
28
29
30
31
32
32
33
34
35
36
37
37
38
38
39
| Позиция на иллюстрации | Заводской номер детали | Название детали | |
|---|---|---|---|
| 16Y-15-00000 | 16Y-15-00000 | Коробка передач | |
| 1 | 16Y-15-00001 | Картер коробки передач | |
| 2 | 07044-13620 | Магнитная пробка | |
| 3 | 07002-03634 | Герметичное кольцо | |
| 4 | 16Y-15-02100 | Трубка | |
| 5 | 07000-03028 | Кольцо | |
| 6 | 01010-51060 | Болт | |
| 7 | 01602-21030 | Шайба | |
| 8 | 07000-03035 | Болт | |
| 9 | 01010-51030 | Болт | |
| 10 | 01602-21030 | Шайба | |
| 11 | 16Y-15-07000 | Сердечник фильтра магнитный | |
| 12 | 16Y-15-08000 | Корпус фильтра | |
| 13 | 07000-03045 | Кольцо | |
| 14 | 07000-02075 | Кольцо | |
| 15 | 16Y-15-00087 | Пружина | |
| 16 | 16Y-15-00086 | Крышка | |
| 17 | 07000-62090 | Кольцо круглого сечения | |
| 18 | 01010-51090 | Болт | |
| 19 | 01010-51025 | Болт | |
| 20 | 01602-21030 | Шайба | |
| 21 | 16Y-15-00005 | Пластина | |
| 22 | 01010-51035 | Болт | |
| 23 | 01602-21030 | Шайба | |
| 24 | 16Y-15-00021 | Гильза | |
| 25 | 16Y-15-00020 | Гильза | |
| 26 | 07000-62018 | Кольцо | |
| 27 | 04530-02030 | Винт | |
| 28 | 16Y-15-00074 | Шильдик | |
| 29 | 01418-03060 | Винт | |
| 30 | 16Y-15-02200 | Трубка | |
| 31 | 07260-24111 | Рукав | |
| 32 | 07281-00489 | Хомут | |
| 33 | 16Y-15-02300 | Шкала уровня масла | |
| 34 | 16Y-15-02001 | Пластина | |
| 35 | 01010-51025 | Болт | |
| 36 | 01010-51035 | Болт | |
| 37 | 01602-21030 | Шайба | |
| 38 | 01643-31032 | Шайба | |
| 39 | 07002-02434 | Кольцо |
Содержащиеся в справочниках-каталогах запасные части и детали не предлагаются к продаже, а носят исключительно информационный характер