Каталог запасных частей к технике: Shantui SD16. Гидроцилиндр подъема отвала (SD16L)
1
1
1
1
2
2
3
3
4
4
5
6
7
8
9
10
11
12
13
14
15
16
17
17
18
18
19
20
21
21
22
23
24
25
25
26
27
28
29
30
30
31
31
32
32
33
33
34
34
34
34
34
34
34
34
35
35
36
36
37
37
37
38
39
40
41
42
43
44
45
46
47
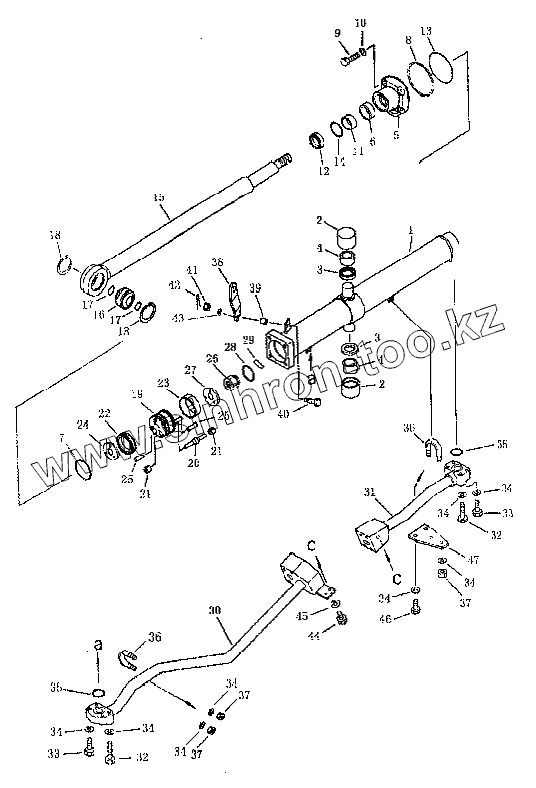
| Позиция на иллюстрации | Заводской номер детали | Название детали | |
|---|---|---|---|
| 1 | 16L-62C-10000 | Гидроцилиндр подъема отвала правый | |
| 1 | 16L-62C-20200 | Корпус левого гидроцилиндра | |
| 1 | 16L-62C-10200 | Корпус правого гидроцилиндра | |
| 1 | 16L-62C-20000 | Гидроцилиндр подъема отвала левый | |
| 2 | 16Y-62-50002 | Втулка | |
| 3 | 07145-00055 | Кольцо пылезащитное | |
| 4 | 16Y-62-50500 | Втулка | |
| 5 | 16Y-62-50005 | Втулка направляющая | |
| 6 | 16Y-62-50003 | Кольцо направляющее | |
| 7 | 07000-13038 | Кольцо | |
| 8 | 07146-02106 | Кольцо защитное | |
| 9 | 01010-52055 | Болт | |
| 10 | 01643-32060 | Шайба | |
| 11 | 16Y-62-50200 | Сальник | |
| 12 | 16Y-62-50001 | Кольцо пылезащитное | |
| 13 | 07000-12105 | Кольцо круглого сечения | |
| 14 | 16Y-62-50008 | Кольцо | |
| 15 | 16Y-62-50100 | Шток поршня | |
| 16 | 07137-04006 | Подшипник соединительный | |
| 17 | 07000-13040 | Кольцо | |
| 18 | 04065-09030 | Открытое кольцо | |
| 19 | 16Y-62-50800 | Поршень | |
| 20 | 16Y-62-50803 | Стержень клапана | |
| 21 | 16Y-62-50802 | Седло клапана | |
| 22 | 16Y-62-50700 | Кольцо | |
| 23 | 16Y-62-50009 | Кольцо опорное | |
| 24 | 16Y-62-50004 | Пластина стопорная | |
| 25 | 16Y-62-50804 | Палец | |
| 26 | 16Y-62-50011 | Гайка | |
| 27 | 16Y-62-50010 | Пластина стопорная | |
| 28 | 04059-01032 | Проволока | |
| 29 | 01322-40812 | Шайба | |
| 30 | 16L-62C-20100 | Трубка передняя левая | |
| 30 | 16L-62C-10100 | Трубка передняя правая | |
| 31 | 16L-62C-10300 | Трубка задняя правая | |
| 31 | 16L-62C-20300 | Трубка задняя левая | |
| 32 | 01010-51055 | Болт | |
| 33 | 01010-51045 | Болт | |
| 34 | 01643-31032 | Шайба | |
| 35 | 07000-13035 | Кольцо | |
| 36 | 07283-23442 | Зажим | |
| 37 | 01599-01011 | Гайка | |
| 38 | 16L-62C-10002 | Пластина опорная | |
| 39 | 16Y-62-50007 | Втулка | |
| 40 | 01010-31245 | Болт | |
| 41 | 01590-11215 | Гайка | |
| 42 | 04050-13036 | Чека разводная | |
| 43 | 0164-3-31232 | Шайба | |
| 44 | 01010-30820 | Болт | |
| 45 | 01643-30823 | Шайба | |
| 46 | 01010-31025 | Болт | |
| 47 | 16L-62C-10001 | Пластина |
Содержащиеся в справочниках-каталогах запасные части и детали не предлагаются к продаже, а носят исключительно информационный характер