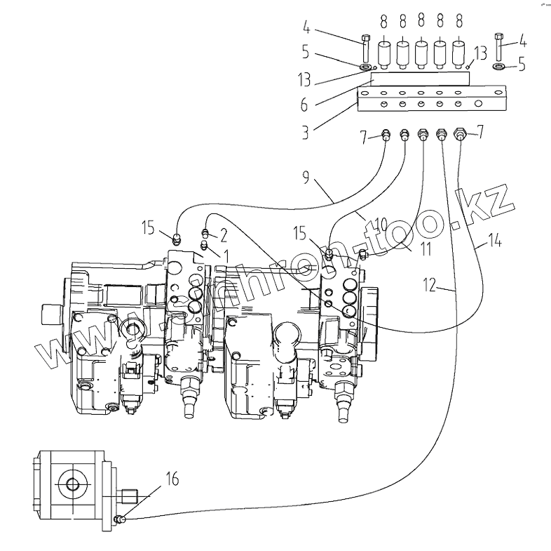
Каталог запасных частей к технике: Shantui SD10YE. PRESSURE MEASUREMENT PIPING
1
2
3
4
4
5
5
6
7
7
8
8
8
8
8
9
10
11
12
13
13
14
15
15
16
| Позиция на иллюстрации | Заводской номер детали | Название детали | |
|---|---|---|---|
| 1 | 03206-01330 | Nipple | |
| 2 | 121-76-10000 | Nipple | |
| 3 | 121-76-00007 | Pressure measure seat | |
| 4 | 01010-51050 | Болт | |
| 5 | 01643-51032 | Washer | |
| 6 | 121-76-00008 | Label plate | |
| 7 | 602-75-00003 | Nipple | |
| 8 | 14Y-74-36000 | Test pressure joint | |
| 9 | 121-76-01000 | Hose | |
| 10 | 121-76-03000 | Hose | |
| 11 | 121-76-05000 | Hose | |
| 12 | 121-76-09000 | Hose | |
| 13 | 04418-02550 | Rivet | |
| 14 | 121-76-06000 | Hose | |
| 15 | 03206-01220 | Nipple | |
| 16 | 121-76-00006 | Nipple |
Содержащиеся в справочниках-каталогах запасные части и детали не предлагаются к продаже, а носят исключительно информационный характер