Каталог запасных частей к технике: Shantui SD10YE. PIPING
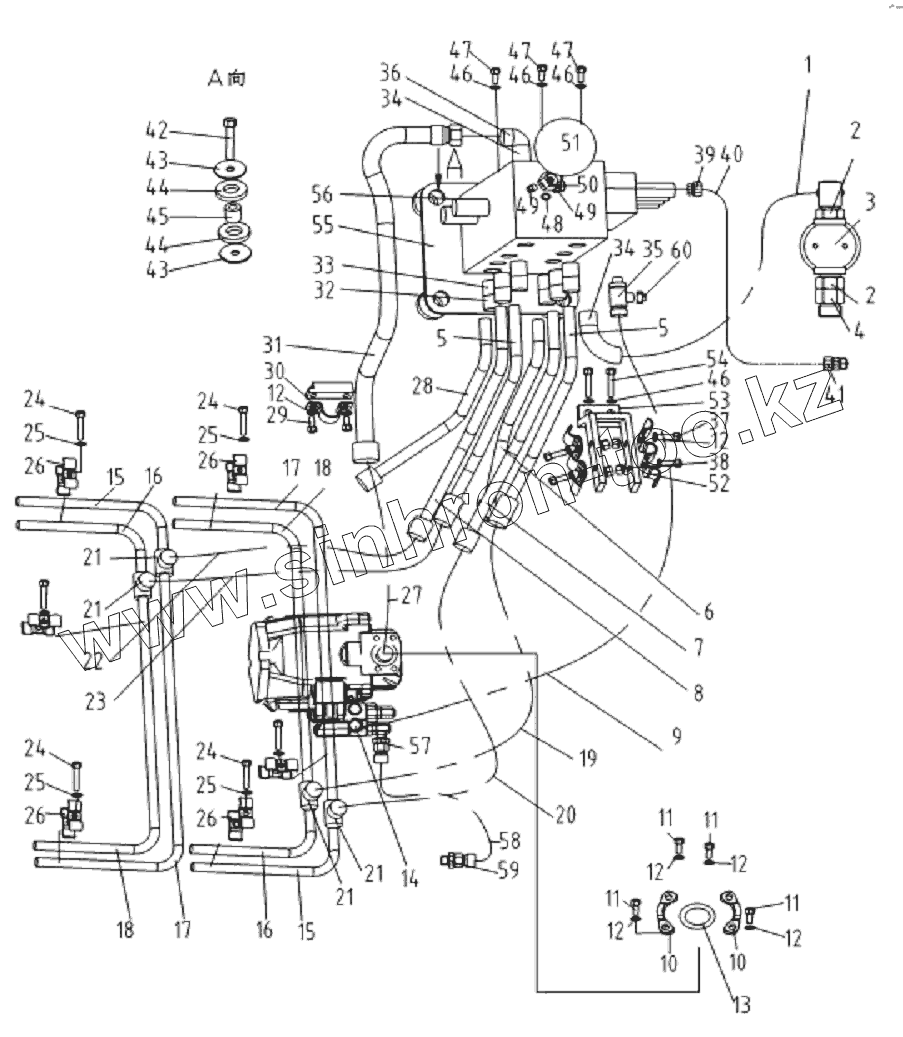
1
2
2
3
4
5
5
6
7
8
9
10
10
11
11
11
11
12
12
12
12
12
12
13
14
15
15
16
16
17
17
18
18
19
20
21
21
21
21
22
23
24
24
24
24
25
25
25
25
26
26
26
26
27
28
29
30
31
32
33
34
34
35
36
37
38
39
40
41
42
43
43
44
44
45
46
46
46
46
47
47
47
48
49
49
50
51
52
53
54
55
56
57
58
59
60
| Позиция на иллюстрации | Заводской номер детали | Название детали | |
|---|---|---|---|
| 1 | 03012-13880900 | Hose | |
| 2 | 03207-01870 | Nipple | |
| 3 | 121-61-05000 | Hose | |
| 4 | 121-61-00006 | Nipple | |
| 5 | 121-61-16000 | Tube | |
| 6 | 121-61-17000 | Nipple | |
| 7 | 121-61-18000 | Hose | |
| 8 | 121-61-19000 | Hose | |
| 9 | 03004-13330300 | Hose | |
| 10 | 07371-31049 | Разъемный фланец | |
| 11 | 01252-31045 | bolt | |
| 12 | 01602-01030 | Шайба | |
| 13 | 07000-13032 | Кольцо | |
| 14 | 121-61-12000 | Oil tube | |
| 15 | 121-61-21000 | Nipple | |
| 16 | 121-61-22000 | Tube | |
| 17 | 121-61-23000 | Tube | |
| 18 | 121-61-24000 | Tube | |
| 19 | 03009-11550600 | Hose | |
| 20 | 03009-11550610 | Hose | |
| 21 | 121-61-00007 | Nipple | |
| 22 | 03009-13550400 | Hose | |
| 23 | 03009-12550400 | Hose | |
| 24 | 01016-50820 | Bolt | |
| 25 | 01602-20825 | Шайба | |
| 26 | 121-61-00008 | Clip | |
| 27 | 03013-1B840200 | Hose | |
| 28 | 121-61-26000 | Tube | |
| 29 | 121-61-00009 | Clip | |
| 30 | 01252-31016 | bolt | |
| 31 | 121-61-27000 | Tube | |
| 32 | 121-62-05000 | Bracket | |
| 33 | 121-61-28000 | Nipple | |
| 34 | 121-61-08000 | Hose | |
| 35 | 121-61-29000 | Nipple | |
| 36 | 03201-01280 | Nipple | |
| 37 | 01016-51030 | Bolt | |
| 38 | 01580-01008 | Гайка | |
| 39 | 115-61-25000 | Nipple | |
| 40 | 03004-13440300 | Hose | |
| 41 | 03206-01460 | Nipple | |
| 42 | 01010-51250 | Болт | |
| 43 | 121-61-00003 | Sleeve | |
| 44 | 121-61-00002 | Rubber pad | |
| 45 | 121-61-00001 | Pad | |
| 46 | 01643-51032 | Washer | |
| 47 | 01010-51025 | Болт | |
| 48 | GB/T3452.1-11.8x1.8 | O-ring | |
| 49 | 07042-00108 | Заглушка | |
| 50 | 121-61-00010 | Nipple | |
| 51 | 22Y-72-19000 | Accumulator | |
| 52 | 121-61-00011 | Clip | |
| 53 | 121-61-30000 | Bracket | |
| 54 | 01016-51045 | Bolt | |
| 55 | 121-61-31000 | Bracket | |
| 56 | 121-61-32000 | Work valve | |
| 57 | 121-75-41000 | Nipple | |
| 58 | 03010-13660500 | Hose | |
| 59 | 03206-01660 | Nipple | |
| 60 | 121-61-33000 | Plug |
Содержащиеся в справочниках-каталогах запасные части и детали не предлагаются к продаже, а носят исключительно информационный характер