Каталог запасных частей к технике: Shantui Погрузчик SF50/SF60/SF70. DRIVE AXLE
1
2
3
4
5
6
6
7
8
9
10
11
12
13
14
15
16
17
18
19
20
21
22
22
23
24
25
26
27
28
29
30
31
32
33
34
35
36
37
38
39
40
41
42
43
44
45
46
47
48
49
50
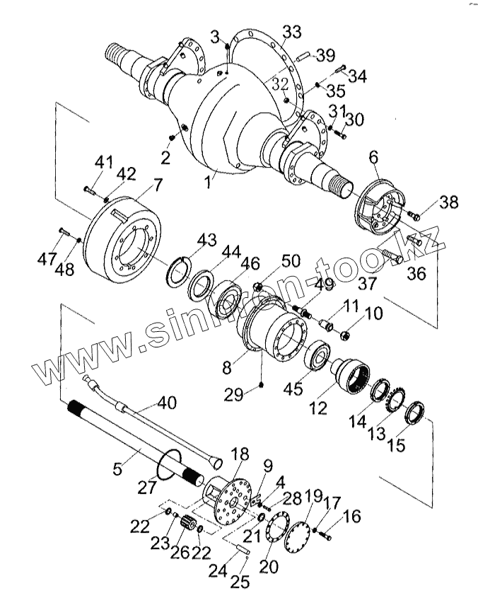
| Позиция на иллюстрации | Заводской номер детали | Название детали | |
|---|---|---|---|
| 1 | Q50KD001 | Housing axle | |
| 2 | Q50KD002 | Plug, drain | |
| 3 | Q50KD003 | Bolt | |
| 4 | GB/T93-1995 | Washer | |
| 5 | Q50KD004 | Shaft, axle | |
| 6 | Q50KD005 | Wheel brake ass' у | |
| 6 | Q50KD006 | Wheel brake ass' у | |
| 7 | Q50KD007 | Drum | |
| 8 | Q50KD008 | Hub | |
| 9 | Q50KD009 | Plate | |
| 10 | Q50KD010 | Nut, hub outer | |
| 11 | Q50KD011 | Nut, hub inner | |
| 12 | Q50KD012 | Gear, internal | |
| 13 | Q50KD013 | Locking gasket | |
| 14 | Q50KD014 | Lock nut | |
| 15 | Q50KD015 | Lock nut | |
| 16 | Q50KD016 | Bolt | |
| 17 | GB/T93-87 | Washer | |
| 18 | Q50KD017 | Carrier, planet | |
| 19 | Q50KD018 | Cap, axle shaft | |
| 20 | Q50KD019 | Washer | |
| 21 | Q50KD020 | Washer, thrust | |
| 22 | Q50KD021 | The planet wheel pad | |
| 23 | Q50KD022 | Bushing | |
| 24 | Q50KD023 | Shaft, planet gear | |
| 25 | GB/T308-1994 | Ball | |
| 26 | Q50KD024 | Gear, planet | |
| 27 | GB3452.1-1992 | O-ring | |
| 28 | GB5786-2000 | Bolt | |
| 29 | Q50KD025 | Plug | |
| 30 | GB5786-2000 | Bolt | |
| 31 | Washer24 | Washer | |
| 32 | GB6176-86 | Nut | |
| 33 | Q50KD026 | Packing | |
| 34 | BoltM12x40/60 | Bolt | |
| 35 | GB5783-2000 | Washer, lock | |
| 36 | Q50KD027 | Bolt | |
| 37 | Q50KD028 | Bolt | |
| 38 | Q50KD029 | Bolt | |
| 39 | GB/T119.1-2000 | Pin | |
| 40 | Q50KD030 | Pipe | |
| 41 | Q50KD031 | Bolt, reamer | |
| 42 | GB93-87 | Washer | |
| 43 | Q50KD032 | Nut | |
| 44 | Q50KD033 | Seal, oil | |
| 45 | GB/T297-94 | Bearing | |
| 46 | GB/T297-94 | Bearing | |
| 47 | GB785-2000 | Bolt | |
| 48 | GB93-87 | Washer | |
| 49 | Q50KD034 | Bolt, hub | |
| 50 | GB/T171-2000 | Nut |
Содержащиеся в справочниках-каталогах запасные части и детали не предлагаются к продаже, а носят исключительно информационный характер