Вернуться на главную
Поиск
Каталоги запчастей к технике
Спецтехника
Shantui
Погрузчик SF50/SF60/SF70
AIR CLEANER ASSY (DIESEL)
Каталог запасных частей к технике: Shantui Погрузчик SF50/SF60/SF70. AIR CLEANER ASSY (DIESEL)
zoom-in
zoom-out
enlarge
shrink
circle-right
circle-left
file-text2
info
cart
Тип техники
Не выбрано
Легковые автомобили
Грузовые автомобили и прицепы
Автобусы
Сельхозтехника
Спецтехника
Двигатели
Мототехника
Марка
Не выбрано
Ammann
BOMAG
CARMIX
CASE IH
Changlin
ChengGong
Dimex
Doosan
DYNAPAC
Foton
HAMM
Hidromek
Hitachi
Hyundai
JCB
JLG
John Deere
Komatsu
LIEBHERR
LiuGong
Lonking (LongGong)
Luneng
MANITOU
Mitsuber
New Holland
PENGPU
RM-Terex
SANY
SDLG
SEM
Shantui
Shehwa HBXG
Soosan
TIGARBO
VOGELE
Volvo
WAY
WIRTGEN
XCMG
XGMA
Xiamen
YTO
Yuchai
Zoomlion
Автокран
АЗСМ
Алтайлесмаш
Амкодор
АОМЗ
Атек
АТЗ
Балканкар Рекорд
БелАЗ
Беловеж
Борекс
Брянский Арсенал
Булат
ВЭКС
ГАЗ
Геомаш
Гидромаш
Донекс
Дормаш
Дормашина
Дорэлектромаш
ДЭЗ
ЕлАЗ
ЗЗГТ
Ижнефтемаш
Канаш-электрокар
КЗКТ
ККЗ
Клевер
Клинцовский автокрановый завод
КМЗ
КМЗ 1 Мая
Ковровец
Коммаш
Кранэкс
КЭЗ
КЭМЗ
ЛЗА
МАЗ
МЗИК
МЗКМ
МЗКТ
Михневский РМЗ
МоАЗ
Мозырский МЗ
МТЗ
ОЗП
Онежец
ПАО "ТЗА"
ППС Детва
Промтрактор
ПТЗ
Раскат
СпецАгрегат
ТВЭКС
ТТМ
УВЗ
Угличмаш
УЗТМ
ХТЗ
ЧЗКМ
ЧСДМ
ЧТЗ
ЭКСКО
ЭКСМАШ
ЮрМаш
Модель
Не выбрано
SD16 (2010)
SD16 (вариант) (2014)
SD16E (2010)
SD16L (2010)
SD22 (вариант) (2013)
SD32 (вариант) (2011)
Shantui SD10YE (2015)
Shantui SD16 (2008)
Shantui SD22 (2008)
Shantui SD23 (2003)
Shantui SD23 (вариант) (2013)
Shantui SD32 (2005)
Shantui SD42-3 (2008)
Shantui SG16-3 (2014)
Shantui SG18-3 (2014)
SL-30W (2010)
SL-50W (2013)
Каток SR12-5 (2013)
Каток SR14M-2 (2012)
Каток SR16 (2014)
Каток SR18 (2011)
Каток SR18M (2010)
Каток SR20M (2014)
Погрузчик SF15, SF18 (2010)
Погрузчик SF30 (2013)
Погрузчик SF45T (2013)
Погрузчик SF50/SF60/SF70 (2013)
Погрузчик вил. 2-2.5t (2010)
Схема
>
Не выбрано
ENGINE MOUNT
ENGINE MOUNT
AIR CLEANER ASSY (DIESEL)
AIR CLEANER ASSY (DIESEL)
EXHAUST SYSTEM
COOLING SYSTEM (DIESEL)
FUEL SYSTEM
FUEL SYSTEM
ACCELERATOR PEDAL
ACCELERATOR PEDAL
TORQUE CONVERTER TRANSMISSION ASSY
TORQUE CONVERTER TRANSMISSION ASSY
TORQUE CONVERTER TRANSMISSION ASSY
TORQUE CONVERTER TRANSMISSION ASSY
TORQUE CONVERTER TRANSMISSION ASSY
TORQUE CONVERTER TRANSMISSION ASSY
TORQUE CONVERTER TRANSMISSION ASSY
CONTROL VALVE ASSY
ELECTRO-HYDRAULIC CONTROL VALVE
OIL PUMP ASSY
CLUTCH (FRONT, BACK)
FRAME ASSY
DRIVE AXLE
REDUCTION AND DIFFERENTIAL
WHEEL BRAKE
DRIVE AXLE
Main reducer assembly
The wheel assembly
DRIVE WHEEL
STEERING WHEEL
STEERING AXLE
STEERING SYSTEM
TRANSMISSION CONTROL
STOPPING BAKING CONTROL ASSY
BRAKE AND INCHING CONTROL ASSY
WORK EQUIPMENT CONTROL ASSY (2-SPOOL)
WORK EQUIPMENT CONTROL ASSY (3-SPOOL)
WORK EQUIPMENT CONTROL ASSY (3-SPOOL)
ENGINE HOOD ASSY
OIL TANK
WORKING PIPELINE ASSY
HYDRAULIC SYSTEM MAST
UPGRADE CYLINDER (SF50/SF60)
UPGRADE CYLINDER (SF70)
WORKING PIPELINE ASSY
TILT CYLINDER
TRAVELING BRAKE PIPING SYSTEM
TRAVELING BRAKE PIPING SYSTEM
TOR/CON OIL COOLING SYSTEM
STEERING CONTROL SYSTEM
MAST ASS'Y
LIFT BRACKET
ELECTRICAL SYSTEM
ELECTRICAL SYSTEM
ELECTRICAL SYSTEM
ELECTRICAL SYSTEM
BATTERY AND MOUNTING
BATTERY AND MOUNTING
ELECTRICAL SYSTEM
ELECTRICAL SYSTEM
DRIVE CANOPY
DRIVE CANOPY
OPERATOR'S SEAT
COUNTER WEIGHT
MARKS AND PLATES (CHINESE)
MARKS AND PLATES (ENGLISH)
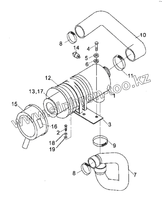
1
2
3
4
5
6
7
8
8
9
10
11
12
13
14
15
16
17
18
19
Позиция на иллюстрации
Заводской номер детали
Название детали
1
418-01-01000
Air, cleaner
2
01010-50820
Болт
3
418-01-00001
Bracket
4
01010-51220
Болт
5
01643-31232
Шайба
6
01602-31236
Шайба
7
418-01-00003
Hose
8
07280-09832
Clip
9
07281-01279
Clamp
10
418-01-00002
Hose
11
07281-01159
Clamp
12
Crust
Crust
13
Element
Element
14
Indictor
Indictor
15
Xover
Xover
16
Secal
Secal
17
Wlement
Wlement, inner
18
01643-50823
washer
19
01602-20825
Шайба
Содержащиеся в справочниках-каталогах запасные части и детали не предлагаются к продаже, а носят исключительно информационный характер
Дополнительная информация
×
Название:
Номер:
Примечание: