Вернуться на главную
Поиск
Каталоги запчастей к технике
Спецтехника
Shantui
Погрузчик SF30
FRAME ASSY 4TNE98 I-SF30, SF35
Каталог запасных частей к технике: Shantui Погрузчик SF30. FRAME ASSY 4TNE98 I-SF30, SF35
zoom-in
zoom-out
enlarge
shrink
circle-right
circle-left
file-text2
info
cart
Тип техники
Не выбрано
Легковые автомобили
Грузовые автомобили и прицепы
Автобусы
Сельхозтехника
Спецтехника
Двигатели
Мототехника
Марка
Не выбрано
Ammann
BOMAG
CARMIX
CASE IH
Changlin
ChengGong
Dimex
Doosan
DYNAPAC
Foton
HAMM
Hidromek
Hitachi
Hyundai
JCB
JLG
John Deere
Komatsu
LIEBHERR
LiuGong
Lonking (LongGong)
Luneng
MANITOU
Mitsuber
New Holland
PENGPU
RM-Terex
SANY
SDLG
SEM
Shantui
Shehwa HBXG
Soosan
TIGARBO
VOGELE
Volvo
WAY
WIRTGEN
XCMG
XGMA
Xiamen
YTO
Yuchai
Zoomlion
Автокран
АЗСМ
Алтайлесмаш
Амкодор
АОМЗ
Атек
АТЗ
Балканкар Рекорд
БелАЗ
Беловеж
Борекс
Брянский Арсенал
Булат
ВЭКС
ГАЗ
Геомаш
Гидромаш
Донекс
Дормаш
Дормашина
Дорэлектромаш
ДЭЗ
ЕлАЗ
ЗЗГТ
Ижнефтемаш
Канаш-электрокар
КЗКТ
ККЗ
Клевер
Клинцовский автокрановый завод
КМЗ
КМЗ 1 Мая
Ковровец
Коммаш
Кранэкс
КЭЗ
КЭМЗ
ЛЗА
МАЗ
МЗИК
МЗКМ
МЗКТ
Михневский РМЗ
МоАЗ
Мозырский МЗ
МТЗ
ОЗП
Онежец
ПАО "ТЗА"
ППС Детва
Промтрактор
ПТЗ
Раскат
СпецАгрегат
ТВЭКС
ТТМ
УВЗ
Угличмаш
УЗТМ
ХТЗ
ЧЗКМ
ЧСДМ
ЧТЗ
ЭКСКО
ЭКСМАШ
ЮрМаш
Модель
Не выбрано
SD16 (2010)
SD16 (вариант) (2014)
SD16E (2010)
SD16L (2010)
SD22 (вариант) (2013)
SD32 (вариант) (2011)
Shantui SD10YE (2015)
Shantui SD16 (2008)
Shantui SD22 (2008)
Shantui SD23 (2003)
Shantui SD23 (вариант) (2013)
Shantui SD32 (2005)
Shantui SD42-3 (2008)
Shantui SG16-3 (2014)
Shantui SG18-3 (2014)
SL-30W (2010)
SL-50W (2013)
Каток SR12-5 (2013)
Каток SR14M-2 (2012)
Каток SR16 (2014)
Каток SR18 (2011)
Каток SR18M (2010)
Каток SR20M (2014)
Погрузчик SF15, SF18 (2010)
Погрузчик SF30 (2013)
Погрузчик SF45T (2013)
Погрузчик SF50/SF60/SF70 (2013)
Погрузчик вил. 2-2.5t (2010)
Схема
>
Не выбрано
ENGINE MOUNT
ENGINE MOUNT
ENGINE MOUNT
AIR CLEANER ASSY S-SF30/30T (C490, WP2.7, QC490), SF35(490BPG)
AIR CLEANER ASSY S-SF30/30T (A495, A498), SF35/35T(495BPG-67), SF38( 495BPG-67)
AIR CLEANER ASSY I-SF30(HFC4DA1-G)
AIR CLEANER ASSY SF30/30T(4TNE98), SF35(4TNE98)
AIR CLEANER ASSY I-SF30/30T (4JG2)
AIR CLEANER ASSY S-SF30 (C240)
AIR CLEANER ASSY SF38/38T (CA498-97)
AIR CLEANER ASSY I-SF30 (25)
AIR CLEANER ASSY I-SF30Y, SF35Y (К25, GQ491GP)
AIR CLEANER ASSY SF30/30TC490
EXHAUST SYSTEM I-SF30/30T (490BPG-229, 495BPG-512, A498BPG, WP2.7, QC490)
EXHAUST SYSTEM I-SF30/30T(HFC4DA1, 4JG2)
EXHAUST SYSTEM SF30/30T 4TNE98, SF35
EXHAUST SYSTEM I-SF30/30T (К25), I-SF30Y (К25), SF35Y (К25)
EXHAUST SYSTEM I-SF30Y (GQ491GP)
EXHAUST SYSTEM I-SF30Y S-SF30/30T (С240)
COOLING SYSTEM (DIESEL) S-SF30 (C490BPG-229, A495BPG-512, A498BPG, WP2.7, QC490)
COOLING SYSTEM (DIESEL) S-SF30T (490BPG-229, A495BPG-512, A498BPG, WP2.7, QC490)
COOLING SYSTEM (DIESEL) S-SF30 (C240)
COOLING SYSTEM (DIESEL) S-SF30T (С240)
COOLING SYSTEM (DIESEL) I-SF30 (C490, А495, A498BPG, WP2.7, QC490)
COOLING SYSTEM (DIESEL) I-SF30T (С490, А495, A498BPG, WP2.7, QC490)
COOLING SYSTEM (DIESEL) S-SF30 (CA498-97), SF38
COOLING SYSTEM (DIESEL) СА498-97 S-SF30T, SF38T
COOLING SYSTEM (DIESEL) HFC4DA1-G I-SF30
COOLING SYSTEM (DIESEL) 4TNE98 I-SF30, S-SF30, SF35
COOLING SYSTEM (DIESEL) S-SF30T (4TNE98)
COOLING SYSTEM (DIESEL) I-SF30, I-SF30Y (К25), SF35Y (К25)
COOLING SYSTEM (DIESEL) I-SF30Y (GQ491GP)
FUEL SYSTEM I-SF30/30T (495BPG-512, A498BPG, WP2.7, QC490)
FUEL SYSTEM I-SF30/30T (HFC4DA1)
FUEL SYSTEM I-SF30/30T (4TNE98), I-SF30/30T (4JG2), S-SF30/30T (С420), S-SF30/30T (4TNE98), SF35
FUEL SYSTEM S-SF30/30T(CA498-97), S-SF35/35T(CA498), S-SF38/38T (CA498)
FUEL SYSTEM I-SF30/30T (K25)
FUEL SYSTEM (LIQUEFIED PETROLEUM GAS) I-SF30Y/30TY (K25, GQ491GP), SF35Y
ACCELERATOR PEDAL SF30/30T (C490BPG, A495BPG, A498BPG, WP2.7, QC490)
ACCELERATOR PEDAL SF30/30T (4TNE98), S-SF30/30T (C240), SF35, SF38/38T
ACCELERATOR PEDAL I-SF30 (HFC4DA1-G), I-SF30/30T/(4JG2)
ACCELERATOR PEDAL I-SF30 (К25), I-SF30Y (К25, GQ491GP), SF35Y (К25)
CLUTCH TYPE TRANSMISSION ASSY (C490BPG, A495BPG-512,A498BPG, WP2.7, QC490 I-SF30T, S-SF30T CA498 S-SF30T)
CLUTCH TYPE TRANSMISSION ASSY (4TNE98, C240 S-SF30T)
CLUTCH TYPE TRANSMISSION ASSY (1/5)
CLUTCH TYPE TRANSMISSION ASSY (2/5)
CLUTCH TYPE TRANSMISSION ASSY (4/5)
CLUTCH TYPE TRANSMISSION ASSY (5/5)
CLUTCH TYPE TRANSMISSION ASSY (1/4)
CLUTCH TYPE TRANSMISSION ASSY (2/4)
CLUTCH TYPE TRANSMISSION ASSY (3/4)
CLUTCH TYPE TRANSMISSION ASSY (4/4)
TORQUE CONVERTER TRANSMISSION ASSY SF30 (C490BPG, A495BPG-512, A498BPG, WP2.7, QC490 ), S-SF30 (CA498)
TORQUE CONVERTER TRANSMISSION ASSY I-SF30 (HFC4DA1-G, 4JG2, C240, K25), I-SF30Y (K25), S-SF30 (4TNE98)
TORQUE CONVERTER TRANSMISSION ASSY I-SF30 (4TNE98, C240) ,SF30 (CA498)
TORQUE CONVERTER TRANSMISSION ASSY I-SF30Y (GQ491GP)
TORQUE CONVERTER TRANSMISSION ASSY (1/8)
TORQUE CONVERTER TRANSMISSION ASSY (2/8)
TORQUE CONVERTER TRANSMISSION ASSY (3/8)
TORQUE CONVERTER TRANSMISSION ASSY (4/8)
TORQUE CONVERTER TRANSMISSION ASSY (5/8)
TORQUE CONVERTER TRANSMISSION ASSY (6/8)
TORQUE CONVERTER TRANSMISSION ASSY (7/8)
TORQUE CONVERTER TRANSMISSION ASSY (8/8)
TORQUE CONVERTER TRANSMISSION ASSY (1/9)
TORQUE CONVERTER TRANSMISSION ASSY (2/9)
TORQUE CONVERTER TRANSMISSION ASSY (3/9)
TORQUE CONVERTER TRANSMISSION ASSY (4/9)
TORQUE CONVERTER TRANSMISSION ASSY (5/9)
TORQUE CONVERTER TRANSMISSION ASSY (6/9)
TORQUE CONVERTER TRANSMISSION ASSY (7/9)
TORQUE CONVERTER TRANSMISSION ASSY (8/9)
TORQUE CONVERTER TRANSMISSION ASSY (9/9)
FRAME ASSY S-SF30/30T (C490BPG-229, A495BPG-512, A498BPG, WP2.7, QC490)
FRAME ASSY S-SF30/S-SF30T (C240), SF35/35T(C240), SF38(C240)
FRAME ASSY S-SF30/30T (CA498-97, 4TNE98)
FRAME ASSY I-SF30 (HFC4DA1-G), I-SF30/30T (4JG2)
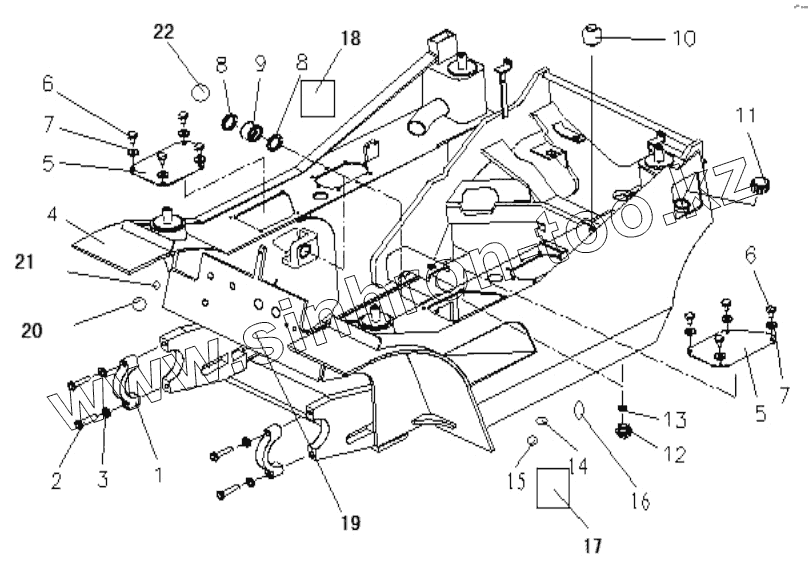
FRAME ASSY 4TNE98 I-SF30, SF35
FRAME ASSY I-SF30 (К25), I-SF30, I-SF30Y (К25, GQ491GPX SF35Y (K25), SF38T (СА498-97)
FRAME ASSY I-SF30, I-SF30T (C490BPG)
DRIVE AXLE
DRIVE AXLE
DRIVE AXLE
WHEEL BRAKE
DRIVE WHEEL
STEERING WHEEL
STEERING AXLE
STEERING AXLE
STEERING CYLINDER ASSY
STEERING SYSTEM
SPEED CONTROL
TRANSMISSION CONTROL ASSY
STOPPING BAKING CONTROL ASSY
BRAKE & CLUTCH CONTROL ASSY
BRAKE & INCHING CONTROL ASSY
WORK EQUIPMENT CONTROL ASSY
ENGINEHOOD ASSY
ENGINEHOOD ASSY
OIL TANK
OIL TANK I-SF30Y/30TY (GQ491GP)
WORKING PIPELINE ASSY I-SF30/30T(495, A498, WP2.7, QC490)
WORKING PIPELINE ASSY I-SF30/30T(4JG2, HFC4DA1-G, C240, K25)
WORKING PIPELINE ASSY SF38/38T (495)
WORKING PIPELINE ASSY I-SF30/30T (4TNE), SF35
WORKING PIPELINE ASSY (1/3)
WORKING PIPELINE ASSY (2/3)
WORKING PIPELINE ASSY (3/3)
TOR/CON OIL COOLING SYSTEM I-SF30 (495, A498, WP2.7, QC490,HFC4DA-G, 4TNE, 4JG2)
TOR/CON OIL COOLING SYSTEM I-SF30 (К25), I-SF30Y(K25, GQ491GP)
STEERING SYSTEM ASSY
HYDRAULIC SYSTEM MAST SF30
HYDRAULIC SYSTEM MAST SF30
HYDRAULIC SYSTEM MAST SF30
HYDRAULIC SYSTEM MAST SF35
HYDRAULIC SYSTEM MAST SF35
FORK ASSY SF30
LIFT BRACKET SF30
LIFT BRACKET SF30
LIFT BRACKET SF30
MAST SF30
MAST SF30
MAST
LIFT CYLINDER SF30
FRONT LIFT CLINDER SF30
REAR LIFT CYLINDER
FRONT LIFT CYLINDER
REAR LIFT CYLINDER
TILT CYLINDER SF30
FORK ASSY 3.5TSTD SF35
FORK ASSY 3.5TSTD SF35
LIFT BRACKET SF35
LIFT BRACKET SF35
MAST SF35
MAST SF35
LIFT CYLINDER SF35
FRONT LIFT CYLINDER SF35
REAR LIFT CYLINDER SF35
TILT CYLINDER SF35
ELECTRICAL SYSTEM (1/4) Применимо к SF30 (с Xinchai C490, A495, A498, WP2.7, Quanchai QC490)
ELECTRICAL SYSTEM (1/4) Применимо к S-SF30T (Dai Chai CA498-97, Yanmar 4TNE98), I-SF30 (HFC4DA1-G)
ELECTRICAL SYSTEM (1/4) Применимо к S-SF30/30T (Isuzu C240), I-SF30 / 30T (Isuzu 4JG2).
ELECTRICAL SYSTEM (1/4) Применимо к I-SF30/30Y (Nissan K25), I-SF30Y (Guangqing GQ491GP), SF35Y
ELECTRICAL SYSTEM (2/4) Применимо к SF30 (с Xinchai C490, A495, A498, Yangchai WP2.7, Quanchai QC490)
ELECTRICAL SYSTEM (3/4)
ELECTRICAL SYSTEM (4/4)
DRIVE CANOPY
DRIVE CANOPY
DRIVE CANOPY
DRIVE CANOPY
DRIVE CANOPY
DRIVE CANOPY
DRIVE CANOPY
DRIVE CANOPY
OPERATOR’S SEAT
COUNTER WEIGHT
MARKS AND PLATES
1
2
3
4
5
5
6
6
7
7
8
8
9
10
11
12
13
14
15
16
17
18
19
20
21
22
Позиция на иллюстрации
Заводской номер детали
Название детали
411-30-R0000
411-30-R0000
Frame assy
1
411-30-00001
Cap
2
01010-51670
Bolt
3
01643-31645
Шайба
4
411-30G-01000
Frame
5
411-30-00002
Plate
6
01010-P0616
bolt
7
01643-30623
Прокладка
8
07145-00030
Seal, dust
9
07143-10302
Bushing
10
07030-00252
Аэратор
11
401-30-02000
antiskid plate R.
12
07044-12412
Заглушка
13
07002-12434
O-ring
14
01220-40812
Screw
15
01641-20812
Шайба
16
411-30-00010
Magnet
17
411-30-00008
Antiskid plate
18
411-30-00009
Antiskid plate
19
411-30-00003
Plate
20
01010-51650
Болт
21
01643-31645
Шайба
22
411-30-00006
Rubber plug
Содержащиеся в справочниках-каталогах запасные части и детали не предлагаются к продаже, а носят исключительно информационный характер
Дополнительная информация
×
Название:
Номер:
Примечание: