Вернуться на главную
Поиск
Каталоги запчастей к технике
Спецтехника
Shantui
Каток SR20M
FUEL TANK AND PIPING
Каталог запасных частей к технике: Shantui Каток SR20M. FUEL TANK AND PIPING
zoom-in
zoom-out
enlarge
shrink
circle-right
circle-left
file-text2
info
cart
Тип техники
Не выбрано
Легковые автомобили
Грузовые автомобили и прицепы
Автобусы
Сельхозтехника
Спецтехника
Двигатели
Мототехника
Марка
Не выбрано
Ammann
BOMAG
CARMIX
CASE IH
Changlin
ChengGong
Dimex
Doosan
DYNAPAC
Foton
HAMM
Hidromek
Hitachi
Hyundai
JCB
JLG
John Deere
Komatsu
LIEBHERR
LiuGong
Lonking (LongGong)
Luneng
MANITOU
Mitsuber
New Holland
PENGPU
RM-Terex
SANY
SDLG
SEM
Shantui
Shehwa HBXG
Soosan
TIGARBO
VOGELE
Volvo
WAY
WIRTGEN
XCMG
XGMA
Xiamen
YTO
Yuchai
Zoomlion
Автокран
АЗСМ
Алтайлесмаш
Амкодор
АОМЗ
Атек
АТЗ
Балканкар Рекорд
БелАЗ
Беловеж
Борекс
Брянский Арсенал
Булат
ВЭКС
ГАЗ
Геомаш
Гидромаш
Донекс
Дормаш
Дормашина
Дорэлектромаш
ДЭЗ
ЕлАЗ
ЗЗГТ
Ижнефтемаш
Канаш-электрокар
КЗКТ
ККЗ
Клевер
Клинцовский автокрановый завод
КМЗ
КМЗ 1 Мая
Ковровец
Коммаш
Кранэкс
КЭЗ
КЭМЗ
ЛЗА
МАЗ
МЗИК
МЗКМ
МЗКТ
Михневский РМЗ
МоАЗ
Мозырский МЗ
МТЗ
ОЗП
Онежец
ПАО "ТЗА"
ППС Детва
Промтрактор
ПТЗ
Раскат
СпецАгрегат
ТВЭКС
ТТМ
УВЗ
Угличмаш
УЗТМ
ХТЗ
ЧЗКМ
ЧСДМ
ЧТЗ
ЭКСКО
ЭКСМАШ
ЮрМаш
Модель
Не выбрано
SD16 (2010)
SD16 (вариант) (2014)
SD16E (2010)
SD16L (2010)
SD22 (вариант) (2013)
SD32 (вариант) (2011)
Shantui SD10YE (2015)
Shantui SD16 (2008)
Shantui SD22 (2008)
Shantui SD23 (2003)
Shantui SD23 (вариант) (2013)
Shantui SD32 (2005)
Shantui SD42-3 (2008)
Shantui SG16-3 (2014)
Shantui SG18-3 (2014)
SL-30W (2010)
SL-50W (2013)
Каток SR12-5 (2013)
Каток SR14M-2 (2012)
Каток SR16 (2014)
Каток SR18 (2011)
Каток SR18M (2010)
Каток SR20M (2014)
Погрузчик SF15, SF18 (2010)
Погрузчик SF30 (2013)
Погрузчик SF45T (2013)
Погрузчик SF50/SF60/SF70 (2013)
Погрузчик вил. 2-2.5t (2010)
Схема
>
Не выбрано
ENGINE MOUNTING AND ATTACHMENT
ENGINE MOUNTING AND ATTACHMENT
ENGINE MOUNTING AND ATTACHMENT
COOLING SYSTEM
COOLING SYSTEM
COOLING SYSTEM
ACCELEROGRAPH CONTROLS
FUEL TANK AND PIPING
PREFILTRATION ASSEMBLY
FUEL TANK AND PIPING
PREFILTRATION ASSEMBLY
FUEL CONTROL
FUEL CONTROL
FUEL TANK
CLUTCH ASSEMBLY
LUBRICATE ASSEMBLY
LUBRICATION PIPE ASS'Y
LUBRICATE ASSEMBLY 2
CLUTCH ASSEMBLY
PRESSURE PLATE ASSEMBLY
MAIN CLUTCH CONTROL
CLUTCH BOOSTER
GEAR-BOX ASSEMBLY
TRANSMISSION CASE
HOUSING ASSEMBLY YD13
CLUTCH ASSEMBLY (3/3)
P.T.01 ASSEMBLY YD133P.T.01
CONTROL VALUE ASSEMBLY YD133
LIST OF OTHER PARTS
INPUT ASSEMBLY YD133
OUTPUT ASSEMBLY YD133
CONTROL ASSEMBLY YD133
PARKING BRAKE ASSEMBLY YD133
SUCTION PIPE ASSEMBLY YD133
OILING PIPE ASSEMBLY YD133
CLUTCH ASSEMBLY YD133 (1/3)
CLUTCH ASSEMBLY YD133 (2/3)
DRIVE SHAFT
GRIP BRAKE SYSTEM
FOOT BRAKE SYSTEM
AIR PUMP
OIL WATER SEPARATOR
BRAKE VALVE
Service brake system
AIR PUMP
OIL WATER SEPARATOR
WHEEL, AXLE MOUNT
DRIVING AXLE
WHEEL AXLE (1/2)
WHEEL AXLE (2/2)
DIFFERENTIAL (1/2)
DIFFERENTIAL (2/2)
BRAKE
SPEED CONTROL SYSTEM
DRIVING WHEEL
MAIN FRAME
BATTERY BOX RIGHT
BATTERY BOX LEFT
FRAME
CRISSCROSS STRAP JOINT ASSEMBLY
DRUM ASSEMBLY (1/2)
DRUM ASSEMBLY (2/2)
DRUM ASSEMBLY
HOOD ASSY
REAR HOOD ASSEMBLY - Weichai engine
FRAME, FLOOR PLATE ASSY
OPERATORS SEAT
OPERATORS SEAT
CAB ASSY
TOOL BOX
GASOLINE TANK ASSEMBLY
HYDRAULIC VIBRATORY SYSTEM (SHANCHAI,WEICHAI)
HYDRAULIC VIBRATORY SYSTEM (CUMMINS)
SPEED AND DIRECTION HY-SYSTEM (CHANGCHAI)
SPEED AND DIRECTION HY-SYSTEM (CUMMINS)
SPEED AND DIRECTION HY-SYSTEM (WEICHAI)
HYDRAULIC STEERING SYSTEM
STEERING CYLINDER
ELECTRICAL SYSTEM
ELECTRICAL SYSTEM
METER BOX ASSY
ELECTRICAL SYSTEM
ELECTRICAL SYSTEM (CUMMINS)
ELECTRICAL SYSTEM (CUMMINS)
METER BOX ASSY
ELECTRICAL SYSTEM (CUMMINS)
ELECTRICAL SYSTEM (WEICHAI)
ELECTRICAL SYSTEM (WEICHAI)
METER BOX ASSY
ELECTRICAL SYSTEM (WEICHAI)
CAB ELECTRICAL SYSTEM
CONTROL STATION ASSEMBLY
CONTROL STATION ASSEMBLY
AIR CONDITIONER ASSY
AIR CONDITIONER ASSY
AIR CONDITIONER ASSY
LABEL PLATE LAYOUT
MARKS AND PLATES (FOR EXPORT)
1
2
3
4
5
6
7
8
9
10
11
12
13
14
15
16
17
18
18
19
Позиция на иллюстрации
Заводской номер детали
Название детали
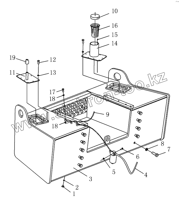
1
07044-12412
Заглушка
2
07002-02434
Кольцо
3
263-04-01000
Fuel tank
4
263-04-06000
Prefiltration assembly
5
01580-10806
Гайка
6
01010-50830
Болт
7
01010-52470
Bolt
8
01643-32460
Уплотнительная шайба
9
263-04-05100
Oil tube
10
16Y-04C-02000
Cap fuel tank
11
263-04-02100
Seat
12
01010-50825
Болт
13
01643-30823
Шайба
14
263-04-03000
Bracket
15
263-04-00001
Dipstick
16
07056-18416
Фильтровальная сетка
17
263-04-05001
Bolt
18
263-04-05002
Washer
19
07030-00252
Аэратор
Содержащиеся в справочниках-каталогах запасные части и детали не предлагаются к продаже, а носят исключительно информационный характер
Дополнительная информация
×
Название:
Номер:
Примечание: