Вернуться на главную
Поиск
Каталоги запчастей к технике
Спецтехника
Shantui
Каток SR18M
TRANSMISSION IDLER SHAFT
Каталог запасных частей к технике: Shantui Каток SR18M. TRANSMISSION IDLER SHAFT
zoom-in
zoom-out
enlarge
shrink
circle-right
circle-left
file-text2
info
cart
Тип техники
Не выбрано
Легковые автомобили
Грузовые автомобили и прицепы
Автобусы
Сельхозтехника
Спецтехника
Двигатели
Мототехника
Марка
Не выбрано
Ammann
BOMAG
CARMIX
CASE IH
Changlin
ChengGong
Dimex
Doosan
DYNAPAC
Foton
HAMM
Hidromek
Hitachi
Hyundai
JCB
JLG
John Deere
Komatsu
LIEBHERR
LiuGong
Lonking (LongGong)
Luneng
MANITOU
Mitsuber
New Holland
PENGPU
RM-Terex
SANY
SDLG
SEM
Shantui
Shehwa HBXG
Soosan
TIGARBO
VOGELE
Volvo
WAY
WIRTGEN
XCMG
XGMA
Xiamen
YTO
Yuchai
Zoomlion
Автокран
АЗСМ
Алтайлесмаш
Амкодор
АОМЗ
Атек
АТЗ
Балканкар Рекорд
БелАЗ
Беловеж
Борекс
Брянский Арсенал
Булат
ВЭКС
ГАЗ
Геомаш
Гидромаш
Донекс
Дормаш
Дормашина
Дорэлектромаш
ДЭЗ
ЕлАЗ
ЗЗГТ
Ижнефтемаш
Канаш-электрокар
КЗКТ
ККЗ
Клевер
Клинцовский автокрановый завод
КМЗ
КМЗ 1 Мая
Ковровец
Коммаш
Кранэкс
КЭЗ
КЭМЗ
ЛЗА
МАЗ
МЗИК
МЗКМ
МЗКТ
Михневский РМЗ
МоАЗ
Мозырский МЗ
МТЗ
ОЗП
Онежец
ПАО "ТЗА"
ППС Детва
Промтрактор
ПТЗ
Раскат
СпецАгрегат
ТВЭКС
ТТМ
УВЗ
Угличмаш
УЗТМ
ХТЗ
ЧЗКМ
ЧСДМ
ЧТЗ
ЭКСКО
ЭКСМАШ
ЮрМаш
Модель
Не выбрано
SD16 (2010)
SD16 (вариант) (2014)
SD16E (2010)
SD16L (2010)
SD22 (вариант) (2013)
SD32 (вариант) (2011)
Shantui SD10YE (2015)
Shantui SD16 (2008)
Shantui SD22 (2008)
Shantui SD23 (2003)
Shantui SD23 (вариант) (2013)
Shantui SD32 (2005)
Shantui SD42-3 (2008)
Shantui SG16-3 (2014)
Shantui SG18-3 (2014)
SL-30W (2010)
SL-50W (2013)
Каток SR12-5 (2013)
Каток SR14M-2 (2012)
Каток SR16 (2014)
Каток SR18 (2011)
Каток SR18M (2010)
Каток SR20M (2014)
Погрузчик SF15, SF18 (2010)
Погрузчик SF30 (2013)
Погрузчик SF45T (2013)
Погрузчик SF50/SF60/SF70 (2013)
Погрузчик вил. 2-2.5t (2010)
Схема
>
Не выбрано
ENGINE MOUNT (FOR SR18M/P)
ENGINE MOUNT (FOR SR18M/P-2)
COOLING SYSTEM (FOR SR18M/P)
COOLING SYSTEM (FOR SR18M/P-2)
ACCELEROGRAPH CONTROLS (FOR SR18M/P)
ACCELEROGRAPH CONTROLS (FOR SR18M/P-2)
FUEL TANK ASSEMBLY (FOR SR18M/P)
PREFILTRATION ASSEMBLY (FOR SR18M/P)
FUEL TANK ASSEMBLY (FOR SR18M/P-2)
PREFILTRATION ASSEMBLY (FOR SR18M/P-2)
CLUTCH ASSEMBLY
CLUTCH CONTROL
CLUTCH BOOSTER
AIR-CONDITIONER SYSTEM
PAD FEET DRUM (FOR SR18MP,SR18MP-2)
FRONT FRAME
DRUM ASSEMBLY
DRUM ASSEMBLY
ARTICULATE DEVICE
FRAME ASSEMBLY
BATTERY BOX LEFT
BATTERY BOX RIGHT
BECOME SOON BOX
FIRST AXLE ASSEMBLY
FIRST AXLE ASSEMBLY
SECOND AXLE ASSEMBLY
IDLER WHEEL ASSEMBLY
CLUTCH HOUSING ASSEMBLY
TRANSMISSION PERIPHERY ASSEMBLY
TRANSMISSION COVER ASSEMBLY
TRANSMISSION TOP COVER ASSEMBLY
TRANSMISSION DRIVER GEAR
TRANSMISSION IDLER SHAFT
TRANSMISSION OUTPUT SHAFT
TRANSMISSION SHAFT
GRIP BRAKE ASSEMBLY
FOOT BRAKE SYSTEM
BRAKE VALVE
OIL WATER SEPARATOR VALVE
AIR PUMP
WHEEL AXLE MOUNT
WHEEL AXLE
WHEEL AXLE
MAIN DRIVE
MAIN DRIVE
BRAKE
WHEEL AXLE (AXLE OF YITUO CO.)
MAIN DRIVE
DIFFERENTIAL
REDUCOR ASSY
GEAR-BOX CONTROL ASSEMBLY
WHEEL ASSEMBLY
WHEEL ASSEMBLY
GASOLINE TANK ASSEMBLY (FOR SR18M/P)
GASOLINE TANK ASSEMBLY (FOR SR18M/P-2)
HYDRAULIC VIBRATORY SYSTEM (FOR SR18M/P)
HYDRAULIC VIBRATORY SYSTEM (FOR SR18M/P-2)
HYDRAULIC STEERING SYSTEM
STEERING CYLINDER ASSEMBLY
MARKS AND PLATES
MARKS AND PLATES (FOR EXPORT)
ELECTRICAL SYSTEM (FOR SR18M/P)
ELECTRICAL SYSTEM (FOR SR18M/P)
ELECTRICAL SYSTEM (FOR SR18M/P-2)
ELECTRICAL SYSTEM (FOR SR18M/P-2)
ELECTRICAL SYSTEM
PLATFORM ASSEMBLY
CAB ASSEMBLY
OPERATOR’S SEAT
OPERATOR’S SEAT (FOR EXPORT)
TOOL BOXING
ENGINE HOOD ASSEMBLY
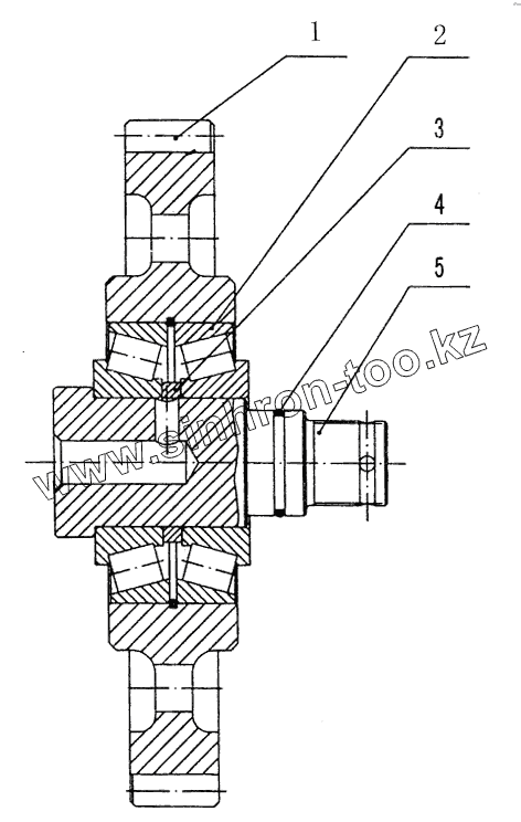
1
2
3
4
5
Позиция на иллюстрации
Заводской номер детали
Название детали
1
253-14-01178
Idler wheel
2
253-14-01179
Gearing
3
253-14-01180
Sheath
4
253-14-01181
O-ring
5
253-14-01182
Idler wheel axle
Содержащиеся в справочниках-каталогах запасные части и детали не предлагаются к продаже, а носят исключительно информационный характер
Дополнительная информация
×
Название:
Номер:
Примечание: